Při kreslení potrubí v prostorových pohledech můžete používat stejné nástroje a metody jako při kreslení v půdorysných pohledech. Protože však zobrazujete rozvržení z jiné perspektivy, výsledky někdy nemusí odpovídat vašemu očekávání. Potrubí nakreslené v prostorovém pohledu bude kresleno vzhledem k rovině prostorového pohledu. Při kreslení v prostorovém pohledu je nutné, aby byl viditelný 3D pohled nebo půdorysný pohled kvůli sledování výsledků prováděných akcí. Zde uvádíme několik skutečností, na které je nutné pamatovat:
Nová trubka se připojí k dostupné spojce, která je nejblíže rovině pohledu (v popředí) pro prostorový pohled. Dostupná spojka je ta, která dosud není připojena k jiné spojce a je uvnitř ohraničení prostorového pohledu. (Jedinou hranicí prostorového pohledu je rovina pohledu v popředí.)
V následujícím příkladu jsou dostupné obě spojky na existující trubce (1). Horizontální segment přidaný do prostorového pohledu (2) se připojí ke spojce nejblíže rovině pohledu, jak je vidět v půdorysném pohledu (3).

Dvě spojky v rozsahu pohledu
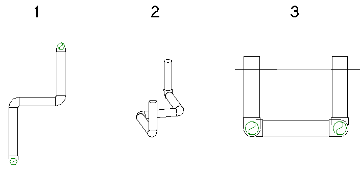
Pokud je v rozsahu pohledu k dispozici pouze jedna spojka, tato spojka se použije. V následujícím příkladu je spojka nejblíže rovině pohledu již použita (1). Pokud je do prostorového pohledu přidána nová trubka (2), přidá se na konci existující trubky (3) pomocí jediné dostupné spojky.

Pouze jedna spojka dostupná v rozsahu pohledu
Pokud nejsou v rozsahu pohledu k dispozici žádné spojky, bude nová trubka připojena spojem T v průsečíku roviny prostorového pohledu a existující trubky. Osa trubky bude umístěna přesně nad rovinou pohledu.
V následujícím příkladu jsou do řezu trubky v prostorovém pohledu přidány dva vertikální segmenty trubek. Původní potrubí je zobrazeno v půdorysném pohledu (1), v asociovaném 3D pohledu (2) a v jižním prostorovém pohledu (3).

Výsledné vertikální segmenty jsou zobrazeny (zleva doprava) podle způsobu jejich zobrazení v půdorysném pohledu (1), v asociovaném 3D pohledu (2) a v jižním prostorovém pohledu (3).


V tomto případě, pokud je trubka kreslena v jižním prostorovém pohledu (1), aplikace Revit přidá krátký segment trubky mezi spojku kotle a koleno, jak je znázorněno v půdorysném pohledu (2) a 3D pohledu (3).
