Festlegen von Konfliktregeln

Durch die Verwendung von Ignorierungskonfliktregeln wird die Anzahl der Konfliktergebnisse reduziert, indem bestimmte Kombinationen kollidierender Elemente ignoriert werden. Das Werkzeug Clash Detective enthält sowohl vorgegebene Konfliktregeln als auch Konfliktregelvorlagen, mit denen benutzerspezifische Konfliktregeln erstellt werden können.

Vorgegebene Konfliktregeln

Die folgenden Ignorierungskonfliktregeln sind integriert.

  • Elemente im gleichen Layer – Alle gefundenen kollidierenden Elemente, die sich im selben Layer befinden, werden in den Ergebnissen nicht ausgegeben. Dies ist praktisch, wenn Sie beispielsweise Konflikte ignorieren möchten, die auf derselben Ebene mit einer Revit 2014-Datei auftreten. Layer oder Ebenen werden durch das Symbol in der Auswahlstruktur angegeben.
  • Elemente in derselben Gruppe/Block/Zelle – Gefundene kollidierende Elemente, die sich in derselben Gruppe (oder im selben eingefügten Block) befinden, beispielsweise eine Blockdefinition aus AutoCAD oder eine Zellendefinition aus MicroStation, werden in den Ergebnissen nicht ausgegeben. Gruppen und Zellen werden durch das Symbol in der Auswahlstruktur angegeben.
  • Elemente in derselben Datei – Alle gefundenen kollidierenden Elemente, die sich in derselben Datei (entweder extern referenziert oder angehängt) befinden, werden nicht in den Ergebnissen ausgegeben. Wenn Ihr Modell mehrere CAD-Dateien enthält, können Sie mit dieser Option nur nach Konflikten zwischen verschiedenen Dateien suchen.
  • Elemente im gleichen zusammengesetzten Objekt – Gefundene kollidierende Elemente, die zum selben zusammengesetzten Objekt (ein durch eine Gruppe von Geometrieelementen dargestelltes einzelnes CAD-Objekt) gehören, werden in den Ergebnissen nicht ausgegeben. Ein zusammengesetztes Objekt ist eine Gruppe von Geometrieelementen, die in der Auswahlstruktur als einzelnes Objekt betrachtet wird. Beispiel: Ein Fensterobjekt kann sich aus einem Rahmen und einer Scheibe, eine Aussparungswand aus mehreren Schichten zusammensetzen. Mit dieser Regel wird sichergestellt, dass Selbstüberschneidungen in einem CAD-Objekt ignoriert werden. In diesem Fall werden die Fensterscheibe und der Rahmen so modelliert, dass sich die Bauteile berühren oder überlappen. Diese Regel würde Konflikte zwischen den Teilen ignorieren.
  • Elemente in zuvor gefundenem Paar von zusammengesetzten Objekten – Gefundene kollidierende Elemente, die zu zusammengesetzten Objekten gehören, die zuvor im Test ausgegeben wurden, werden nicht in den Ergebnissen ausgegeben. Wenn ein Konflikt zwischen dem gleichen Paar zusammengesetzter Objekte gefunden wird, werden diese als ein einziger Konflikt behandelt, sodass nur ein Konflikt ausgegeben wird. Der andere wird ignoriert. Während "Übergehen von Artikeln im gleichen zusammengesetzten Objekt" Konflikte zwischen den Bauteilen eines einzelnen Objekts ignoriert, ignoriert diese Option mehrere Konflikte zwischen verschiedenen zusammengesetzten Objekten. Dies ist hilfreich, um die Zahl der irrtümlich gemeldeten Fehler zu reduzieren. Ein Beispiel hierfür wäre eine Haltung durch eine Wand. Bei Auswahl dieser Option wird der Konflikt nur einmal gezählt. Die Konflikte auf beiden Seiten der Wand werden nicht als separate Konflikte gezählt.
  • Elemente mit übereinstimmenden Fangpunkten – Gefundene kollidierende Elemente mit zusammenfallenden Fangpunkten werden nicht in den Ergebnissen ausgegeben, z. B. Leitungen und Formstücke mit Fangpunkten am Ende der Mittellinien. Autodesk Navisworks erstellt einen Zylinder als eine Reihe von Dreiecken, um die Leistung zu verbessern. (Mit dem Modus Unsichtbare Linie können Sie die Zeichnung verfolgen). Je nach dem Facettierungsfaktor des Zylinders können einige der Dreiecke möglicherweise miteinander kollidieren (selbst wenn die Haltung oder die Verbindungsteile passen), sofern der Zylinder vollständig rund gezeichnet würde.

Regelvorlagen

Sie können auch eigene Ignorierungsregeln erstellen. Die folgenden Regelvorlagen stehen zur Verfügung (zusätzlich zu den vorgegebenen Konfliktregeln):

  • Isolierungsdicke – Alle gefundenen kollidierenden Elemente mit einem höheren Freiraumwert als der angegebenen Isolierungsdicke werden nicht in den Ergebnissen ausgegeben. Diese Regel sollte mit einem Testtyp Freiraum verwendet werden.

    Wenn Sie ein Rohr verwenden, für das eine bestimmte Isolierungsdicke erforderlich ist, sollten Sie einen Freiraumtest für dieses Rohr durchführen und dabei die Freiraumtoleranz auf die erforderliche Isolierungsdicke einstellen. Dadurch werden alle Bereiche identifiziert, in denen nicht genügend Freiraum um das Rohr vorhanden ist, sodass die Isolierung nicht angebracht werden kann.

    Wenn Sie verschiedene Rohe verwenden, die alle unterschiedliche Isolierungsdicken benötigen, sollten Sie nicht für jede Dicke einen separaten Freiraumtest durchführen, sondern einen Test mit der größten erforderlichen Toleranz einrichten, d. h. es wird angenommen, dass für alle Rohre die maximale Isolierungsdicke erforderlich ist. Diese Regel kann dann angewendet werden, um alle Konflikte zu ignorieren, die fälschlicherweise identifiziert wurden, weil ihre tatsächliche Isolierungsdicke kleiner als der verwendete maximale Freiraum ist.

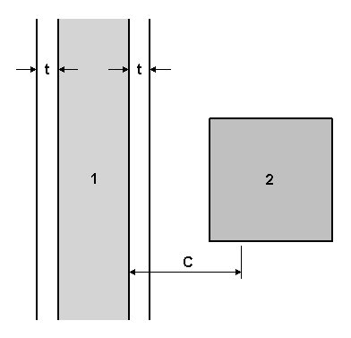
    Im folgenden Diagramm sehen Sie ein Beispiel, für das diese Ignorierungsregel angewendet werden kann:

    Rohr 1 besitzt die Isolierungsdicke t, und C ist der maximale Freiraum (dickste Isolierung), der im aktuellen Modell benötigt wird. Alle Elemente (2), die im Bereich zwischen t und C liegen, werden nicht in den Ergebnissen ausgegeben.

  • Gleicher Eigenschaftswert – Alle gefundenen kollidierenden Elemente, die einen bestimmten Eigenschaftswert aufweisen, werden nicht in den Ergebnissen ausgegeben. Diese Vorlage kann verwendet werden, wenn die Informationen in derselben Eigenschaft gespeichert sind.
  • Gleicher Auswahlsatz – Alle gefundenen kollidierenden Elemente, die im gleichen Auswahlsatz enthalten sind, werden nicht in den Ergebnissen ausgegeben.
  • Angegebene Auswahlsätze – Alle gefundenen kollidierenden Elemente, die in zwei angegebenen Auswahlsätzen enthalten sind, werden nicht in den Ergebnissen ausgegeben.
  • Angegebene Eigenschaften mit identischem Wert – Alle gefundenen kollidierenden Elemente, die denselben Wert aufweisen, jedoch für zwei verschiedene Eigenschaften, werden nicht in den Ergebnissen ausgegeben. Dies ist eine neue Regelvorlage. Mit dieser Regel können Sie auch bei einem Elternobjekt nach der Eigenschaft suchen. Beispiel: Die Dichtung am Ende eines Rohrs ist als Konflikt mit der Düse der Pumpe registriert. Diese Elemente sollten verbunden sein. Der Dichtung ist direkt keine Eigenschaft zugeordnet, aus der hervorgeht, dass sie mit der Düse der Pumpe verbunden sein sollte. Das Elternobjekt der Dichtung weist diese Eigenschaft jedoch auf. Wenn Sie diese Vorlage verwenden, ignoriert der Konflikttest Konflikte zwischen diesen beiden Elementen.

Beispiele zur Verwendung von Konfliktregeln

Die folgenden Beispiele zeigen, wie Konfliktregeln sinnvoll kombiniert werden können:

  • Wenn Sie eine Aussparungswand in Ihr Modell aufnehmen, die aus mehreren Schichten besteht (äußere Platte, Dämmung, innere Platte, Gipsplatte) können Sie mithilfe der Regel Elemente im gleichen zusammengesetzten Objekt Konflikte reduzieren, die sich aus sich berührenden Platten ergeben und mit der Regel Elemente in zuvor gefundenem Paar von zusammengesetzten Objekten die Anzahl der Konflikte mit der Wand als einzelnen Konflikt anstelle von vier Konflikten zählen.
  • Wenn Sie eine Rohrstrecke mit Formstücken prüfen, können Sie mit den Regeln Elemente mit übereinstimmenden Fangpunkten und Elemente in zuvor gefundenem Paar von zusammengesetzten Objekten gemeldete Konflikte zwischen Installationen und Haltungen und innerhalb der Installationen reduzieren.
  • Wenn Sie die wichtigsten Konflikte zwischen Haltungen und Strukturen prüfen möchten, verwenden Sie die Regeln Elemente in derselben Datei und Elemente in zuvor gefundenem Paar von zusammengesetzten Objekten. So vermeiden Sie, dass innerhalb einer Datei aus derselben Disziplin gesucht wird. Darüber hinaus wird nur ein Konflikterkennungsergebnis gemeldet, wenn eine Disziplin sich mit einem zusammengesetzten Objekt überschneidet, das aus mehreren Bauteilen besteht.