Balkenelemente

Balkenelemente weisen zwei Knoten auf und lassen eine willkürliche Ausrichtung im 3D-Raum zu (dreidimensional, X-Y-Z). Zum Definieren der Elementausrichtung ist ein weiterer Knoten (K-Knoten) erforderlich. Der Balken überträgt Momente, Drehmomente und Kräfte und ist ein allgemeines Element mit sechs (6) Freiheitsgraden (drei globale Translations- und Rotationskomponenten an jedem Ende).

Abbildung 1: Definition des K-Knotens für ein Balkenelement

3D-Balkenelemente sind dreidimensionale, gleichmäßige Querschnittelemente, die umfangreiche Verformungen und eine elastische/plastische Analyse allgemeiner Balkenrahmenprobleme zulassen. Die Änderung der Querschnittsform wird in MES-/nichtlinearen Strukturanalysen nicht berücksichtigt.

Extern verfügt der Balken über sechs Freiheitsgrade, drei Verschiebungen und drei Drehungen. Das Ergebnis der Analyse enthält die Endkräfte des Balkens, die axiale Spannung und die zugehörigen Scherspannungen. Es unterstützt vollständige 3D-Verschiebungs- und 3D-Drehungsbewegungen. 3D-Balkenelemente werden häufig in Analysen verwendet, wenn bei großen Verformungen und/oder nichtlinearen Materialeffekten Biegung, Torsion oder Streckung auftritt.

Abbildung 2: Beispiel für ein 3D-Balkenelement

Bauteil-, Layer- und Flächeneigenschaften für Balkenelemente

In der folgenden Tabelle wird beschrieben, was durch die Bauteil-, Layer- und Flächeneigenschaften für Balken gesteuert wird.

Bauteilnummer

Elementdaten (Materialmodell, detaillierte Ausgabe usw.), spannungsfreie Referenztemperatur und Materialeigenschaften.

Layeranzahl

Querschnittseigenschaften (mit Ausnahme des allgemeinen Abschnittstyps).

Flächennummer

Ausrichtung.

Ausrichtung des Balkenelements

Die meisten Balken verfügen über eine starke und eine schwache Biegeachse. Da Balkenvarianten als eine Linie dargestellt werden und eine Linie ein Objekt ohne inhärente Querschnittsausrichtung ist, muss die Ausrichtung der starken oder schwachen Achse im dreidimensionalen Raum mithilfe einer anderen Methode festgelegt werden. Diese Ausrichtung wird durch die Flächennummer der Linie gesteuert.

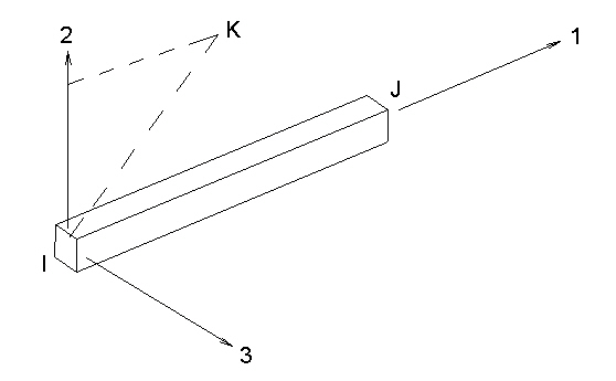
Konkret bedeutet dies, dass durch die Flächennummer der Linie ein Punkt im Raum erzeugt wird. Dieser wird als K-Knoten bezeichnet. Die beiden Enden des Balkenelements (der I- und der J-Knoten) und der K-Knoten bilden eine Ebene (siehe Abbildung 3). Balkenelemente werden durch die lokalen Achsen 1, 2 und 3 definiert, wobei Achse 1 vom I-Knoten zum J-Knoten verläuft, Achse 2 in der durch die I-, J- und K-Knoten gebildeten Ebene liegt und Achse 3 mithilfe der Rechte-Hand-Regel festgelegt wird. Nachdem die Elementachsen festgelegt wurden, können die Querschnittseigenschaften A, Sa2, Sa3, J1, I2, I3, Z2 und Z3 in das Dialogfeld Elementdefinition eingegeben werden.

Abbildung 3: Achse 2 in der Ebene der I-, J- und K-Knoten

Beispiel: Abbildung 4 zeigt einen Teil von zwei Modellen, von denen jedes einen W10x45 I-Balken enthält. Beachten Sie, dass beide Varianten über dieselben physische Ausrichtung verfügen. Die Stege sind parallel. Der Analyst hat jedoch den K-Knoten oberhalb des Balkenelements in Modell A und seitlich des Balkenelements in Modell B platziert. Die Querschnittseigenschaften sind zwar identisch, für das Trägheitsmoment um Achse 2 (I 2 ) und das Trägheitsmoment um Achse 3 (I 3 ) müssen jedoch unterschiedliche Werte eingegeben werden.

Abbildung 4: Eingeben geeigneter Querschnittseigenschaften für die Balkenausrichtung

Tabelle 1 zeigt, wo sich die K-Knoten für verschiedene Flächennummern befinden. Die beste Position ist die, an der der K-Knoten erstellt wurde, vorausgesetzt die I-, J- und K-Knoten bilden eine Ebene. Wenn das Balkenelement mit dem K-Knoten kollinear ist, kann keine eindeutige Ebene erzeugt werden. In diesem Fall wird die zweitbeste Position für das Element verwendet.

Tabelle 1: Zusammenhang zwischen Flächennummer und K-Knoten (Ausrichtung von Achse 2)

Flächennummer

Beste Position des K-Knotens

Zweitbeste Position des K-Knotens

1

1E14 in +Y

1E14 in -X

2

1E14 in +Z

1E14 in +Y

3

1E14 in +X

1E14 in +Z

4

1E14 in -Y

1E14 in +X

5

1E14 in -Z

1E14 in -Y

6

1E14 in -X

1E14 in -Z

Die Flächennummer und damit die Standardausrichtung können geändert werden, indem Sie die Balkenelemente mithilfe des Befehls Auswahl Auswählen Linien auswählen und mit der rechten Maustaste in den Anzeigebereich klicken. Wählen Sie den Befehl Attribute bearbeiten aus, und ändern Sie den Wert im Feld Fläche:.

In gewissen Situationen ist eine globale Position für den K-Knoten möglicherweise nicht geeignet. Wählen Sie in diesem Fall die Balkenelemente in der FEM-Editor-Umgebung mithilfe des Befehls Auswahl Auswählen Linien aus, und klicken Sie mit der rechten Maustaste in den Anzeigebereich. Wählen Sie den Befehl Balkenausrichtungen Neu aus. Geben Sie die X-, Y- und Z-Koordinaten des K-Knotens für diese Balken ein. Klicken Sie zum Auswählen eines bestimmten Knotens im Modell auf den Knoten, oder geben Sie die Knoten-ID in das Feld ID ein. An der angegebenen Koordinate wird ein blauer Kreis angezeigt. Abbildung 5 zeigt ein Beispiel für eine Balkenausrichtung, bei der der Ursprung als K-Knoten definiert werden soll.

Abbildung 5: Ausrichtung eines schiefen Balkens

Die Richtung von Achse 1 kann im FEM-Editor umgekehrt werden, indem Sie die zu ändernden Elemente auswählen (Auswahl Auswählen Linien), mit der rechten Maustaste klicke und Balkenausrichtungen I und J vertauschen auswählen. Diese Möglichkeit ist für Lasten, die von den I- und J-Knoten abhängig sind, und zum Steuern der Richtung von Achse 3 hilfreich. (Wie bereits erläutert wird Achse 3 mithilfe der Rechte-Hand-Regel aus den Achsen 1 und 2 gebildet.) Wenn eines der ausgewählten Elemente eine von der I/J-Ausrichtung abhängige Last aufweist, werden Sie gefragt, ob Sie die Lasten umgekehrt werden sollen oder nicht. Da die I- und J-Knoten vertauscht werden, werden bei Auswahl von Ja die Eingaben für die Last umgekehrt und die aktuelle Grafikanzeige beibehalten. Die I- und J-Knoten sowie das I/J-Ende mit der Last werden umgekehrt. Wählen Sie Nein aus, um die ursprünglichen Eingaben beizubehalten. Hierdurch wechselt ein Endenfreiheitsgrad für den I-Knoten zum entgegen gesetzten Ende des Elements, da sich die Position des I-Knotens ändert.

Die Ausrichtung der Elemente kann in der FEM-Editor-Umgebung mithilfe des Befehls Ansicht Sichtbarkeit Objektsichtbarkeit Elementachse angezeigt werden. Darüber hinaus kann die Ausrichtung in der Ergebnisanzeige mit dem Befehl Ergebnisoptionen Ansicht Elementausrichtung überprüft werden. Wählen Sie aus, ob Achse 1, Achse 2 und/oder Achse 3 mit roten, grünen oder blauen Pfeilen angezeigt werden soll. Siehe Abbildung 6.

Abbildung 6: Symbol für die Balkenausrichtung

Für jede Achse werden andere Pfeile verwendet.

Angeben von Querschnittseigenschaften für Balkenelemente

Es gibt zwei Möglichkeiten, die Querschnittseigenschaften eines Balkenelements zu definieren. Wenn Sie mit einen gemeinsamen Querschnitt oder einen Querschnitt aus der AISC-Bibliothek verwenden, wählen Sie die Option Vordefiniert in der Dropdown-Liste Abschnittstyp aus, und definieren Sie die Eigenschaften in der Querschnittsbibliothek. Dieser Vorgang wird für jeden Layer in dem Bauteil ausgeführt. Markieren Sie die Layer-Zeile in der Tabelle Abschnittseigenschaften, und klicken Sie auf die Schaltfläche Querschnittsbibliotheken.

Anmerkung:
  • Da nichtlineare Balken die tatsächliche Form und Bemaßung des Querschnitts erfordern, können die Querschnittseigenschaften (A, J1, I2 usw.) nicht direkt in die Tabelle eingegeben werden. Zum Eingeben der Form muss die Querschnittsbibliothek verwendet werden. Ebenso werden die Querschnittseigenschaften (A, J1, I2 usw.) nur zu Referenzzwecken gezeigt. Bei der Analyse werden die benötigten Eigenschaften basierend auf den Bemaßungen der Form berechnet.
  • Informationen zum Erstellen einer Serie von Querschnitten über die Länge eines Balkens, um so einen sich verjüngenden Balken zu erzeugen, finden Sie auf der Seite Assistent für variable Querschnitte.

Wenn Sie einen ungewöhnlichen Querschnitt verwenden, wählen Sie die Option Allgemein in der Dropdown-Liste Abschnittstyp aus. Die Tabelle Allgemein wird verwendet, um den Querschnitt des Balkenelements durch Angabe mehrerer Indizes zu definieren. Jeder Index entspricht einem Streifen des Querschnitts. Ein Index kann ein vierseitiges Element oder ein Bogen mit einer Dicke sein. Ein vierseitiger Index wird durch zwei Punkte definiert. Hierbei handelt es sich um die Mittelpunkte der Enden des vierseitigen Elements, wie in Abbildung 7(a) dargestellt. Ein Bogenindex wird durch drei Punkte definiert, wie in Abbildung 7(b) dargestellt. Die Punkte 1 und 3 bilden die Enden des Bogens. und Punkt 2 ist ein weiterer Punkt auf dem Bogen.

Anmerkung: Bei Verwendung des Abschnittstyps Allgemein müssen die Balkenelemente auf Layer 1 gezeichnet werden.

(a) Vierseitiger Abschnitt.

(b) Bogenabschnitt.

Abbildung 7: Beispiel für Streifen

Definieren Sie für jeden Streifen die YY- und ZZ-Koordinaten der einzelnen Punkte und die Breite des Segments an diesem Punkt. Die YY-Koordinate bezieht sich auf die lokale Achse 2 des Balkens und die ZZ-Koordinate auf die lokale Achse 3. Beide Bemaßungen werden ab dem berechneten Schwerpunkt des Querschnitts gemessen. Der Schwerpunkt der endgültigen Form befindet sich auf der Achse des Balkenelements. Die YY- und ZZ-Koordinaten sollten den Mittelpunkten der Streifen entsprechen.

Tipp:

Im Vorschaufenster des Dialogfelds Elementdefinition werden die Streifen während der Eingabe von Daten angezeigt. Beachten Sie die folgenden Funktionen des Vorschaufensters:

  • Der Streifen für die Zeile mit dem Mauszeiger wird hervorgehoben. Bewegen Sie den Mauszeiger zu einer anderen Zeile in der Tabelle, um die einzelnen Streifen anzuzeigen.
  • Drehen Sie das Mausrad zum Vergrößern oder Verkleinern der Ansicht im Vorschaufenster.
  • Halten Sie die linke Maustaste gedrückt, und ziehen Sie Maus, um das Vorschaufenster zu schwenken.
  • Klicken Sie mit der rechten Maustaste, und wählen Sie Ansicht einschließen, um die gesamte Skizze anzuzeigen.

Ob ein Querschnitt geöffnet (wie I-Balken oder Kanäle) oder geschlossen (wie Leitungen und Rohre) ist, wirkt sich auf die Berechnung der Torsionskonstante (J1) aus. Die folgenden Kriterien bestimmen, wie die Torsionskonstante berechnet wird:

  • Geschlossene Abschnitte:
    • Die Abschnittsnummern für die einzelnen Indizes sind identisch (ungleich NULL).
    • Die Koordinate des letzten Punkts auf dem vorherigen Streifen stimmt mit der ersten Koordinate auf dem nächsten Streifen überein.
    • Die Koordinate des letzten Punkts auf dem letzten Streifen im Abschnitt stimmt mit der ersten Koordinate des ersten Streifens im Abschnitt überein. Dadurch sind die Streifen in einem Abschnitt fortlaufend.
  • Geöffnete Abschnitte:
    • Die Abschnittsnummern für die einzelnen Indizes sind identisch (ungleich NULL).
    • Die Streifen sind nicht in einer geschlossenen Reihenfolge miteinander verbunden.
  • Andere Abschnitte:
    • Wenn die Abschnittsnummer 0 ist, wird die Torsionskonstante basierend auf dem polaren Trägheitsmoment (Iyy+Izz) berechnet. Dies gilt nur für runde Rohre.

Ein allgemeiner Querschnitt kann zudem aus mehreren Unterabschnitten bestehen. Wenn dies der Fall ist, müssen alle Indizes (Zeilen in der Tabelle) in den einzelnen Unterabschnitt dieselbe Nummer in der Spalte Abschnitt aufweisen. Sollten Streifen von den Unterabschnitten gemeinsam verwendet werden, müssen Sie in der Spalte Üblich die Abschnittsnummer des gemeinsamen Index angeben. Beispiel: Ein Querschnitt besteht aus zwei Unterabschnitten, Abschnitt 1 und Abschnitt 2. Index 2 für Abschnitt 1 stimmt mit Index 5 für Abschnitt 2 überein. In die Spalte Üblich für Index 2 müssen Sie 2 eingeben. In die Spalte Üblich für Index 5 müssen Sie 1 eingeben. Wenn durch einen Indexsatz ein geschlossener Querschnitt definiert wird, sollten diese Indizes einem eindeutigen Abschnitt hinzugefügt werden.

Anmerkung: Der Gleichungslöser berechnet die Querschnittseigenschaften (Fläche A, Trägheitsmomente Iyy und Izz usw.) um den Schwerpunkt des Querschnitts. Diese Ergebnisse werden nach Abschluss der Analyse in der Übersichtsdatei angegeben. Beachten Sie, dass diese Querschnittseigenschaften nur zu Referenzzwecken dienen. Der Gleichungslöser verwendet Integrationspunkte entlang der tatsächlichen Form während der Berechnungen.

Beispiele für den allgemeinen Abschnittstyp

Der hohle rechteckige Querschnitt in Abbildung 8(a) wurde mithilfe von vier rechteckigen Abschnitten gezeichnet. Damit die Software den Querschnitt als geschlossenen Querschnitt verarbeitet, muss jeder Punkt in exakt 2 Indizes verwendet werden. Daher müssen die vier Rechtecke in Abbildung 8(b) verwendet werden. Es stimmt, dass die Querschnittsgeometrie nicht perfekt dem tatsächlichen Querschnitt entspricht. Die Auswirkungen dieses Unterschieds auf die Analyse sind jedoch gering. Wenn Sie die vier Rechtecke definieren, wie in Abbildung 8(c) dargestellt, erhalten Sie einen offenen Querschnitt. Wenn Sie eine Torsionskonstante, die basierend auf einem offenen Querschnitt berechnet wurde, für einen geschlossenen Querschnitt verwenden, hat dies deutlich größere Auswirkungen als eine kleine Abweichung der Querschnittswerte. Der Querschnitt sollte mit dem allgemeinen Abschnittstyp definiert werden, wie in Tabelle 2 dargestellt.

Theoretische Ergebnisse:

A = 64,0 in2

Iyy = 1301,3 in4

Izz = 1061,33 in4

J1 = 1561,3 in4

(a) Tatsächliche Geometrie

Berechnete Ergebnisse:

A = 64,0 in2

Iyy = 1281,3 in4

Izz = 1050,3 in4

J1 = 1561,3 in4

(b) Richtig Methode zum Definieren des Querschnitts.

Der Wert hierfür ist in Tabelle 2 zu sehen.

Berechnete Ergebnisse:

A = 64,0 in2

Iyy = 1301,3 in4

Izz = 1061,3 in4

J1 = 62,2 in4

(c) Falsche Methode zum Definieren des Querschnitts.

Da die Punkte zwischen den Streifen nicht übereinstimmen, ist die Berechnung der Torsionskonstanten falsch.

Abbildung 8: Hohler rechteckiger Querschnitt

Tabelle 2: Definition des Querschnitts in Abbildung 8(b)

Index

Abschnitt

Breite (1)

YY(1)

ZZ(1)

Breite (2)

YY(2)

ZZ(2)

Allgemein

1 1 1 -5,5 -5 1 -5,5 +5 0
2 1 2 -5,5 +5 2 +5,5 +5 0
3 1 1 +5,5 +5 1 +5,5 -5 0
4 1 2 +5,5 -5 2 -5,5 -5 0

Vier weitere Querschnittsgeometrietypen sind in Abbildung 9 dargestellt. Die Linien stellen in allen Diagrammen eine Dicke dar.

(a) (b) (c) (d)
Abbildung 9: Weitere Querschnittsgeometrietypen

Querschnitt (a) erfordert drei Abschnitte, einen für jedes Rechteck. Das Rechteck auf der linken Seite muss mithilfe von fünf Indizes gezeichnet werden. Die rechte vertikale Linie muss in zwei Indizes unterteilt werden, damit diese so definiert werden können, dass mit den beiden anderen Abschnitten übereinstimmen. Da in beiden Abschnitten gemeinsame Indizes definiert werden müssen, erfordert dieser Querschnitt insgesamt dreizehn Indizes. Querschnitt (b) erfordert zwei Abschnitte. Jedes Rechteck muss so definiert werden, dass der mittlere Teil von beiden Abschnitten gemeinsam verwendet wird. Dieser Querschnitt erfordert acht Indizes. Querschnitt (c) erfordert drei Abschnitte. Da die zwei rechteckigen Rohrabschnitte geschlossene Abschnitte sind, müssen sie separat definiert werden. Es werden keine Indizes als von den Abschnitten gemeinsam genutzt definiert. Dieser Querschnitt erfordert neun Indizes. (Es ist nicht notwendig, die Seiten der beiden Rechtecke zu trennen, an denen das horizontale Teil verbunden ist.) Querschnitt (d) erfordert nur einen Abschnitt. Dieser Querschnitt erfordert drei Indizes.

Importieren allgemeiner Abschnittsdaten

Die Schaltfläche Importieren dient zum Importieren von Querschnittsdaten aus einer CSV-Datei. Die CSV-Datei muss 11 Datenspalten enthalten. Die Werte in diesen Spalten müssen von links nach rechts mit den Spaltenbeschriftungen in der Tabelle Koordinaten und Abmessungen des Abschnitts beginnend mit der Spalte Abschnitt übereinstimmen. Schließen Sie keine Spalte für die Spalte Index ein.

Tipp: Die Werte werden unter Verwendung der aktiven Anzeigeeinheiten in die kommagetrennte Datei importiert. Ändern Sie ggf. die Anzeigeeinheiten, bevor Sie die Daten importieren. Beispiel: Ein Wert von 3,14 wird als 3,14 Zoll importiert, wenn in den Anzeigeeinheiten Längenwerte in Zoll angegeben sind. Wenn die Anzeigeeinheiten Zentimeter sind, wird der Wert als 3,14 Zentimeter importiert.

Querschnittsbibliotheken

Um die Querschnittsbibliotheken verwenden zu können, wählen Sie in der Dropdown-Liste Abschnittstyp die Option Vordefiniert aus. Wählen Sie in der Tabelle Abschnittseigenschaften den Layer aus, für Sie Eigenschaften definieren möchten, und klicken Sie dann auf die Schaltfläche Querschnittsbibliotheken.

Auswählen von Querschnitten aus Bibliotheken

  • Wählen Sie die Bibliothek in der Dropdown-Liste Abschnittsdatenbank aus. Im Lieferumfang der Software sind mehrere Versionen der AISC-Bibliothek enthalten. (Anmerkung: Die AISC-Bibliothek wird so ausgewählt, dass IYY aus dem AISC-Handbuch I2 in der Software entspricht.)
  • Wählen Sie den Querschnittstyp in der Pulldown-Liste Abschnitttyp aus. Die verfügbaren Typen für jede Datenbank werden in Tabelle 3 weiter unten aufgeführt.
  • Wählen Sie im Bereich Abschnittsname den Querschnittsnamen aus. Sie können einen Namen suchen, indem Sie eine Zeichenfolge in das Feld oberhalb der Liste eingeben.
  • Überprüfen Sie die Werte im Bereich Querschnittseigenschaften. Wenn Sie diese akzeptabel sind, klicken Sie auf die Schaltfläche OK. Beachten Sie, dass die AISC-Bibliothek möglicherweise nicht alle benötigten Werte für eine Analyse enthält.

AISC 2005 und 2001

Form

W

W-Formen

M

M-Formen

S

S-Formen

HP

HP-Formen

C

Kanäle - Amerikanische Norm (ANSI)

MC

Kanäle - Sonstige

L

Winkel - gleichschenklig und ungleichschenklig

WT

T-Profile aus W-Formen

MT

T-Profile aus M-Formen

ST

T-Profile aus S-Formen

2L

Doppelte Winkel - Gleichschenklig

2L (LLBB am Ende des Namens)

Doppelte Winkel - Nicht gleichschenklig (lange Schenkel in Reihenanordnung)

2L (SLBB am Ende des Namens)

Doppelte Winkel - Nicht gleichschenklig (kurze Schenkel in Reihenanordnung)

Rohr (Wanddickenkennzahl am Ende des Namens)

Rohr

HSS

Baustahlrohr - quadratisch und rechteckig

 Tabelle 3: Abschnittstyp aus AISC-Bibliothek

*Bei Angabe von vier Zahlen ist die vierte Zahl der Abstand zwischen den Schenkeln des Winkels. Beispiel: 2L8x4x7/8x3/4LLBB bezeichnet doppelte Winkel von 8x4 und Schenkel von 7/8 Zoll, wobei die langen Schenkel in Reihe angeordnet sind und einen Abstand von 3/4 Zoll aufweisen.
Anmerkung:
  • Um den Querschnitt des Balkens in der Ergebnisanzeige darzustellen, muss der Querschnitt aus der AISC 2001- oder AISC 2005-Datenbank ausgewählt werden.
  • Die AISC 2005-Datenbank entspricht den Daten in der 13. Edition des AISC Steel Construction Manual.

So erstellen Sie eine Bibliothek

  • Klicken Sie auf die Schaltfläche Hinzufügen unterhalb der Dropdown-Liste Abschnittsdatenbank.
  • Geben Sie einen Namen für die Bibliothek ein, und klicken Sie auf die Schaltfläche OK.
  • Geben Sie einen Namen für die Datenbankdatei ein, und klicken Sie auf die Schaltfläche Speichern. Die neue Bibliothek wird nun in der Dropdown-Liste Abschnittsdatenbank angezeigt.

So fügen Sie Bibliotheken Querschnitte hinzu

  • Wählen Sie die Bibliothek in der Dropdown-Liste Abschnittsdatenbank aus. Sie können einen Querschnitt nur einer benutzerdefinierten Bibliothek hinzufügen.
  • Klicken Sie auf die Schaltfläche Hinzufügen unterhalb des Bereichs Abschnittsname und dann auf die Schaltfläche OK. Der Abschnittsname wird in der Liste im Bereich Abschnittsname angezeigt.
  • Wählen Sie den neuen Abschnitt aus, und geben Sie die Werte im Bereich Querschnittseigenschaften ein.
  • Drücken Sie die Schaltfläche Speichern.

So definieren Sie Bemaßungen für allgemeine Querschnitte

  • Wählen Sie einen benutzerdefinierten Querschnitt aus, und wechseln Sie im Pulldown-Menü in der rechten oberen Ecke von der Option Benutzerdefiniert zum Geometrietyp.
  • Geben Sie die entsprechenden Bemaßungen ein, die auf der rechten Seite des Dialogfelds angezeigt werden.
  • Drücken Sie die Schaltfläche Speichern.

Sonstige Parameter für Balkenelemente

Bei Verwendung von Balkenelementen müssen Sie das Materialmodell für dieses Bauteil in der Dropdown-Liste Materialmodell angeben.

  • Wenn das Material im elastischen Bereich der Spannung-Dehnung-Kurve bleibt, wählen Sie die Option Isotrop aus.
  • Unterliegt das Material einer plastischen Verformung, können Sie zwei Optionen auswählen:
    • von Mises mit isotroper Verhärtung. Hierdurch wird eine bilineare Kurve zum Steuern des Verhältnisses zwischen Spannung und Dehnung verwendet.
    • von Mises-Kurve mit isotroper Verhärtung. Hierdurch wird eine Spannung-Dehnung-Kurve mit mehreren Datenpunkten außerhalb der Streckspannung verwendet, um das Verhältnis zwischen Spannung und Dehnung zu steuern.
  • Wenn das Material unterschiedliche Eigenschaften je nach Temperatur aufweist, jedoch im elastischen Bereich der Spannung-Dehnung-Kurve bleibt, wählen Sie die Option Thermoelastisch aus. Wenn das Material unterschiedliche Eigenschaften je nach Temperatur aufweist, jedoch einer plastischen Verformung unterliegt, wählen Sie die Option Thermoplastisch aus.

Die Methode der Spannungsaktualisierung wird verwendet, wenn das Materialmodell auf von Mises mit isotroper Verhärtung festgelegt wird. Diese Einstellung steuert den numerischen Algorithmus für die Integration der konstitutiven Gleichungen (Spannungs-/Dehnungsgesetz), wenn das Material plastisch wird. Als Aktualisierungsmethode für Spannung stehen die folgenden Optionen zur Verfügung:

  • Explizit: (Ursprüngliche Methode). Diese Option verwendet das explizite subinkrementelle Forward-Euler-Verfahren zur Integration der konstitutiven Gleichungen. Die Option Explizit eignet sich am besten für einfache Probleme, wie einfache Spannung, da die Methode schneller ausgeführt wird. Diese Option reagiert jedoch empfindlicher auf die Last- und Zeitschrittgröße. Die empfohlene Auswahl für die nichtlineare iterative Lösungsmethode (Einstellung unter Setup Modell einrichten Parameter Erweiterte Registerkarte Gleichgewicht) ist Kombiniertes Newton mit Zeilensuche. Dies ist jedoch abhängig von den anderen Features im Modell, durch die auch eine andere Einstellung erforderlich sein kann.
  • Allgemeiner Mittenpunkt: Diese Option verwendet eine implizite Methode für die Integration der konstitutiven Gleichungen. Sie reduziert die Fehlerhäufung und stellt sicher, dass der Aktualisierungsprozess für die Spannung uneingeschränkt stabil ist. Daher eignet sich diese Option besser für komplizierte Analysen, z. B. starke Plastizität. Die empfohlene Auswahl für die nichtlineare iterative Lösungsmethode (Einstellung unter Setup Modell einrichten Parameter Erweiterte Registerkarte Gleichgewicht) ist Volles Newton mit Zeilensuche. Dies ist jedoch abhängig von den anderen Features im Modell, durch die auch eine andere Einstellung erforderlich sein kann.

Der Wert für Parameter für allgemeinen Mittenpunkt wird verwendet, wenn für die Aktualisierungsmethode für Spannung die Option Allgemeiner Mittenpunkt ausgewählt wird. Der gültige Bereich für diesen Wert liegt zwischen 0 und 1 (einschließlich). Wenn für den Parameter 0 festgelegt wird, ist der resultierende Algorithmus ein vollständig explizites Mitglied der Algorithmus-Familie (ähnlich der Option Explizit für Aktualisierungsmethode für Spannung); die Lösung ist jedoch nicht uneingeschränkt stabil. Wenn der Parameter 0.5 oder größer ist, ist die Methode uneingeschränkt stabil. Wenn für den Parameter 0.5 festgelegt wurde, ist die Lösung ein Mittelpunkt-Algorithmus; wenn der Wert 1 ist, wird die Lösung als vollständiger Backward-Euler-Algorithmus oder Nächster-Punkt-Algorithmus bezeichnet und ist vollständig implizit. Ein Wert von 1 ist genauer als andere Werte, insbesondere bei großen Zeitschritten.

Verwenden Sie die Dropdown-Liste Analyseart, um den erwarteten Verschiebungstyp festzulegen. Kleine Verschiebung eignet sich für Bauteile, bei denen keine Bewegungen und nur kleine Dehnungen auftreten, und ignoriert alle geometrischen Effekte, die sich aus großen Verschiebungen ergeben. (Außerdem wird für Analysebeschreibung auf der Registerkarte Weitere Einstellungen die Option Nur Material-Nichtlinear festgelegt). Große Verschiebungen eignet sich für Bauteile, die keine Bewegung und/oder große Dehnungen aufweisen. (Die Analysebeschreibung auf der Registerkarte Erweiterte Einstellungen sollte ebenfalls der Analyse entsprechend festgelegt werden.)

Tipp: Legen Sie auf der Registerkarte Optionen Analyse die Option Große Verschiebungen als Standard in nichtlinearen Analysen fest, um zu steuern, ob die Analyseart die Vorgabeeinstellungen für kleine oder große Verschiebungen übernimmt.

Wenn Sie das thermoelastische oder thermoplastische Materialmodell verwenden, müssen Sie einen Wert in das Feld Spannungsfreie Referenztemperatur auf der Registerkarte Thermisch eingeben. Die thermische Spannung wird basierend auf der Differenz zwischen der Knotentemperatur und diesem Wert erstellt.

Erweiterte Parameter für Balkenelemente

Wählen Sie in der Dropdown-Liste Analysebeschreibung auf der Registerkarte Weitere Einstellungen die Formulierungsmethode aus, die Sie für die Balkenelemente verwenden möchten.

  • Wenn die Option Nur Material-Nichtlinear aktiviert ist, werden nichtlineare Materialmodelleffekte berücksichtigt, alle Analysen werden jedoch basierend auf der nicht verschobenen Geometrie durchgeführt. Diese Formulierung eignet sich also für Bauteile mit kleinen Dehnungen und keiner Bewegung. Dies ist die einzige verfügbare Option, wenn auf der Registerkarte Allgemein als Analyseart die Option Kleine Verschiebungen ausgewählt wurde.
  • Die Option Lagrange gesamt richtet sich nach der ursprünglichen, nicht verschobenen Konfiguration des Modells für alle statischen und kinematischen Variablen. Die Formulierung eignet sich für Bauteile mit Bewegung und kleinen Dehnungen. Beachten Sie, dass die Materialeigenschaften sich auf die Spannung und Dehnung beziehen müssen.
  • Die Option Lagrange aktualisiert bezieht sich auf die zuletzt berechnete Konfiguration des Modells für alle statischen und kinematischen Variablen. Die Formulierung eignet sich für Bauteile mit Bewegung und großen Dehnungen. Beachten Sie, dass die Materialeigenschaften sich auf die tatsächliche Spannung und Dehnung beziehen müssen.

Wählen Sie als Nächstes die Integrationsreihenfolge für jede Balkenelementachse in den Dropdown-Listen 1. Integrationsreihenfolge, 2. Integrationsreihenfolge und 3. Integrationsreihenfolge aus. Die Option in der Dropdown-Liste 1. Integrationsreihenfolge wird für die Formulierung der Gaußschen Quadratur in der Hauptachse verwendet (Achse 1 entlang der Länge des Elements). Die Option in der Dropdown-Liste2. Integrationsreihenfolge wird für die Formulierung der Gaußschen Quadratur in der sekundären Achse (Achse 2) verwendet. Die Option in der Dropdown-Liste3. Integrationsreihenfolge wird für die Formulierung der Gaußschen Quadratur in der tertiären Achse (Achse 3) verwendet. Je höher die Integrationsreihenfolge umso höher die Genauigkeit, gleichzeitig verlängert sich jedoch die Analysedauer.

Achtung: Integrationsreihenfolgen unter 3 liefern in der Regel keine genauen Ergebnisse. Sie sind nur für Situationen verfügbar, in denen eine schnellere Ausführung möglich (nicht garantiert) ist und Genauigkeit keine Rolle spielt.

Große Festkörperrotation: Wenn eines der Elemente des Bauteils zu einem beliebigen Zeitpunkt der Analyse einer großen Festkörperrotation unterliegt, aktivieren Sie die Option Große Festkörperrotation. Wenn diese Option aktiviert ist, wird bei jeder Wiederholung die Rotationsmatrix gespeichert, wodurch genauere Spannungsergebnisse erzeugt werden. Wenn die Option nicht aktiviert ist und das Bauteil einer Festkörperrotation unterliegt, kann die Spannung zunehmen, anstatt konstant zu bleiben, was zu einem gewissen Grad an Ungenauigkeit führt. Wenn Balkenelemente in dem Bauteil einer großen Verformung ausgesetzt sind, muss diese Option nicht aktiviert werden, unabhängig von der Rotation (siehe Tipp weiter unten).

Wie bei allen Analysen mit nichtlinearer großer Verformungen oder großer Verschiebung sind die Ergebnisse umso genauer, je mehr Schritte die Analyse aufweist. In einigen Fällen kann es notwendig sein, die Abtastrate so einzustellen, dass 100 Berechnungsschritte pro 90-Grad-Drehung des Balkenbauteils bzw. etwa 1 Schritt pro Grad erfolgen.

Tipp: Die Option Große Festkörperrotation gibt außerdem präzisere Rotationsdaten für die Visualisierung in der Ergebnisanzeige aus. Wenn die lokalen Achsen 2 und 3 oder die Balkenvisualisierung angezeigt werden sollen, sollten Sie vor dem Ausführen der Analyse diese Option aktivieren.

Weitere Ausgabe: Für Balkenelemente können vier Ergebnistypausgaben erzeugt werden. Weiter unten wird angegeben, ob die weitere Ausgabe in einem Textformat (zur Anzeige in Windows Editor, Word oder einem anderen Texteditor) oder Binärformat (für die Ergebnisanzeige) erfolgt. Die Formate der Textausgabedateien werden auf der folgenden Seite beschrieben (Textergebnisse für Balkenelemente).

  • Durch die Option Detaillierte Ausgabe von Kräften und Momenten werden die Kräfte und Momente für jedes Balkenelement an den einzelnen Zeitschritten ausgegeben. Diese Ergebnisse werden in die Übersichtsdatei geschrieben (.al, Textformat).
  • Durch die Option Detaillierte Spannungsausgabe werden die Spannungswerte für jedes Element an jedem Integrationspunkt der einzelnen Zeitschritte ausgegeben. Diese Ergebnisse werden in die Ausgabedatei für die Balkenspannung geschrieben (.bso, Textformat).
  • Durch die Option Detaillierte Dehnungsausgabe werden die Dehnungswerte für jedes Element an jedem Integrationspunkt der einzelnen Zeitschritte ausgegeben. Diese Ergebnisse werden in die Ausgabedatei für die Balkendehnung geschrieben (.bst, Textformat).
  • Durch die Option binär Spannungs- und Dehnungsausgabe werden die Spannungs- und Dehnungswerte für jedes Element an jedem Integrationspunkt der einzelnen Zeitschritte ausgegeben. Da diese Ergebnisse in einem binären Format vorliegen, können sie nur in der Ergebnisanzeige angezeigt werden. Wenn diese Option nicht aktiviert ist, sind diese Ergebnisse in der Ergebnisanzeige nicht verfügbar.
    Anmerkung: Die durch Auswahl von Ergebniskonturen Spannung Balken und Stab in der Ergebnisanzeige dargestellten Balkenspannungen basieren auf den berechneten Kräften und Momenten dividiert durch die Querschnittsfläche des Balkens und das Abschnittsmodul. Daher wird bei diesen Ergebnissen die Nachgiebigkeit nicht berücksichtigt. Durch Aktivieren der Option Detaillierte Spannungsausgabe oder Binäre Spannungs- und Dehnungsausgabe gibt der Gleichungslöser die berechneten Spannungen aus, wobei alle nichtlinearen Effekte berücksichtigt werden. Bei Aktivierung der letzten Option können in der Ergebnisanzeige die korrekte Spannung und Dehnung angezeigt werden, indem Sie Ergebnisse abfragen AbfragenDetaillierte Balkenspannung oder Ergebnisse abfragen AbfragenDetaillierte Balkendehnung auswählen.

Grundlegende Schritte für die Verwendung von Balkenelementen

  1. Stellen Sie sicher, dass ein Einheitensystem definiert ist.
  2. Stellen Sie sicher, dass das Modell einen nichtlinearen Analysetyp verwendet.
  3. Klicken Sie mit der rechten Maustaste auf die Überschrift Elementtyp für das Bauteil, das Sie als Balkenelement definieren möchten.
  4. Wählen Sie den Befehl Balken aus.
  5. Klicken Sie mit der rechten Maustaste auf die Überschrift Elementdefinition.
  6. Wählen Sie den Befehl Elementdefinition bearbeiten.
  7. Wählen Sie auf der Registerkarte Allgemein in der Dropdown-Liste Materialmodell das geeignete Materialmodell für dieses Bauteil und in der Dropdown-Liste Abschnittstyp die Form des Querschnitts aus.
  8. Wenn Sie die Option Vordefiniertin der Dropdown-Liste Abschnittstyp aktiviert haben, wählen Sie den zu definierenden Layer in der Tabelle Abschnittseigenschaften aus, und klicken Sie auf die Schaltfläche Querschnittsbibliotheken. Wählen Sie den Querschnitt aus, oder geben Sie diesen ein. Wenn Sie die OptionAllgemein aktiviert haben, definieren Sie den Querschnitt in der eingeblendeten Tabelle.
  9. Klicken Sie auf OK.