Ajouter des fonctionnalités et montrer l'associativité

    Les occurrences de composant que vous avez dérivées établissent la géométrie de base pour vos composants 3D. Une fois que vous avez dérivé vos composants, l'étape suivante consiste à ajouter des fonctionnalités et à développer davantage les modèles de composants. A ce stade, vous commencez avec une procédure de base.

  1. Cliquez deux fois sur Link Plate:1 dans le navigateur.
  2. Dans le ruban, cliquez sur l'onglet Modèle 3D le groupe de fonctions Créer Extrusion .
  3. Sélectionnez la géométrie d'esquisse Link Plate:1, comme illustré.
  4. Entrez 3,5 mm comme distance d'extrusion et utilisez les flèches d'inversement de direction pour extruder dans la direction Z négative.
  5. Cliquez sur OK. A noter que Link Plate:2 est également mis à jour pour refléter la fonctionnalité ajoutée.
  6. Terminez la modification de Link Plate:1.
  7. Cliquez deux fois sur Pivot Plate:1 et répétez les étapes nécessaires pour extruder les plateaux de pivot d'une épaisseur de 3,5 mm.
  8. Terminez les modifications de Pivot Plate:1 et enregistrez votre fichier.
  9. Comme exercice, ajoutez des fonctionnalités à d'autres occurrences de composant, pour développer encore plus votre ensemble.
  10. Une fois que vous avez créé vos occurrences de composants à l'aide de la commande Créer des composants, elles restent associées à votre schéma. Les modifications apportées à la forme des blocs d'instance sont reflétées dans les composants correspondants.

    Activez Seat Adjust Layout.ipt.
  11. Ouvrez Esquisse 1 pour la modifier.
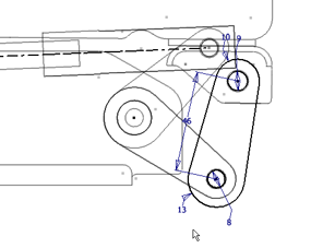
  12. Cliquez deux fois sur Link Plate:1 dans le navigateur. Cela ouvre le bloc d'esquisse Link Plate pour les modifications contextuelles.
  13. Changez les dimensions illustrées et définissez-les sur 13 mm.
  14. Quittez la modification de bloc et quittez l'esquisse.
  15. Activez Seat Adjust Layout.iam.
  16. Cliquez sur Mettre à jour en haut de la fenêtre. A noter que Link Plate:1 et Link Plate:2 sont mis à jour pour refléter la modification de la forme dans la définition de bloc Link Plate.
  17. Entraînez-vous en apportant d'autres modifications à votre schéma pour montrer la puissance de l'associativité.
  18. Enregistrez vos fichiers.

Précédent | Suivant