Per disegnare tubazioni in viste di prospetto si utilizzano gli stessi strumenti e metodi utilizzati nelle viste di pianta. Tuttavia, poiché il layout viene visualizzato da una prospettiva diversa, i risultati potrebbero non essere sempre quelli previsti. Le tubazioni in una vista di prospetto vengono disegnate in relazione al piano della vista. Durante il disegno in una vista di prospetto, è necessario mantenere una vista 3D o di pianta visibile per visualizzare i risultati delle azioni. Di seguito vengono elencati alcuni fattori da considerare:
La nuova tubazione verrà collegata al connettore disponibile più vicino al piano della vista (in primo piano) per la vista di prospetto. Un connettore è disponibile quando non è già collegato a un altro connettore e si trova entro i vincoli della vista di prospetto. Il solo contorno per una vista di prospetto è il piano della vista in primo piano.
Nell'esempio seguente, entrambi i connettori su una tubazione esistente (1) sono disponibili. Il segmento orizzontale aggiunto nella vista di prospetto (2) è collegato al connettore più vicino al piano della vista, come mostrato nella vista di pianta (3).

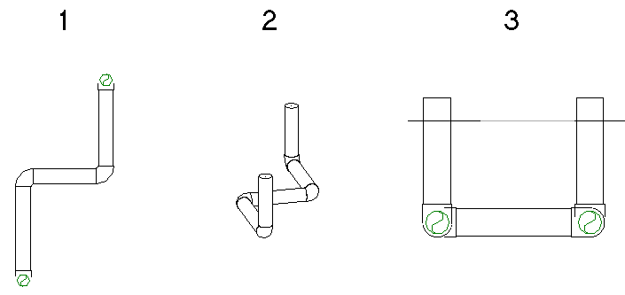
Due connettori nell'intervallo di visualizzazione
Se vi è un solo connettore disponibile nell'intervallo di visualizzazione, verrà utilizzato. Nell'esempio seguente, il connettore più vicino al piano della vista è già utilizzato (1). Quando la nuova tubazione viene aggiunta nella vista di prospetto (2), viene aggiunta all'estremità finale della tubazione esistente (3), utilizzando il solo connettore disponibile.

Un solo connettore disponibile nell'intervallo di visualizzazione
Se non vi sono connettori disponibili nell'intervallo di visualizzazione, la nuova tubazione viene collegata a un raccordo a T in corrispondenza dell'intersezione del piano della vista di prospetto e della tubazione esistente. La linea d'asse della tubazione viene posizionata esattamente sul piano della vista.
Nell'esempio riportato di seguito, 2 segmenti di tubazione verticali vengono aggiunte a una sezione di tubazione in una vista di prospetto. La tubazione originale è visualizzata in una vista di pianta (1), nella vista 3D associata (2) e nella vista di prospetto Sud (3).

I segmenti verticali risultanti vengono visualizzati (da sinistra a destra) come visualizzati nella vista di pianta (1), nella vista 3D associata (2) e nella vista di prospetto Sud (3).


In questo caso, quando la tubazione viene disegnata nella vista di prospetto Sud (1), Revit aggiunge un corto segmento di tubazione tra il gomito e il connettore della caldaia, come mostrato nella vista di pianta (2) e nella vista 3D (3).
