평면뷰에서와 동일한 도구 및 방법을 사용하여 입면뷰 및 단면뷰에서 파이프를 그립니다. 그러나 다른 관점에서 배치를 보기 때문에 결과가 예상과 다를 수 있습니다. 입면뷰/단면뷰에서 그린 덕트장치는 입면뷰/단면뷰 평면을 기준으로 그려집니다. 입면뷰/단면뷰에서 그릴 때 3D 뷰 또는 평면뷰를 표시하여 작업 결과를 봅니다. 다음 사항을 유념하십시오.
배치 도구 패널
크기 상속을 클릭하여 기존 덕트장치의 크기를 가정할 수 있습니다. 다음 예는 입면뷰/단면뷰에 추가된 덕트장치의 방향을 나타냅니다. 이 예에서 모든 기존 세그먼트는 12" W x 8" H입니다.
첫 번째 예에서는 12" W X 8" H 수평 덕트가 평면뷰에 표시됩니다.


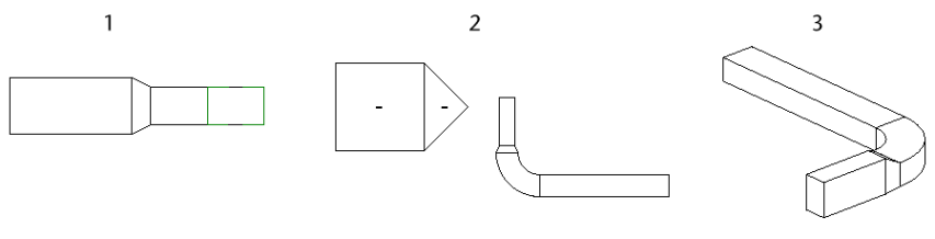
입면뷰에서는 수평 덕트가 덕트에 추가됩니다. 덕트의 미리보기는 새 덕트의 방향이 12" 면(W)을 맨 위에서 맨 아래 치수로 표시했음을 보여줍니다.

결과 덕트장치가 아래의 입면뷰(1), 평면뷰(2) 및 3D 뷰(3)에 표시됩니다. 덕트장치는 엘보와 새 덕트 세그먼트 간의 변환을 포함합니다.


이전 예의 덕트에서 새 덕트를 위(또는 아래)로 그릴 때 변환을 표시할 필요가 없습니다. 폭 및 높이는 입면뷰를 기준으로 표시됩니다.

입면뷰에서 기존 덕트에 연결할 때 원하는 결과를 얻으려면 옵션 막대에서 폭과 높이를 지정해야 할 경우가 있습니다.
새 덕트는 입면뷰에 대한 (전경의) 뷰 평면과 가장 가까운 사용 가능한 커넥터에 연결됩니다. 사용 가능한 커넥터는 다른 커넥터에 아직 연결되지 않고 입면뷰 경계 내에 있는 커넥터입니다. (입면뷰의 유일한 경계는 전경에 있는 뷰 평면입니다.)
다음 예에서는 기존 덕트(1)의 두 커넥터를 모두 사용할 수 있습니다. 입면뷰(2)에서 추가된 수평 세그먼트는 평면뷰(3)에 표시된 대로 뷰 평면에서 가장 가까운 커넥터에 연결됩니다.

뷰 범위 내 커넥터가 두 개인 경우

두 커넥터 모두 뷰 범위 내에 있음
뷰 범위 내에 사용할 수 있는 커넥터가 하나만 있는 경우 해당 연결이 사용됩니다. 다음 예에서는 뷰 평면에서 가장 가까운 커넥터가 이미 사용되었습니다(1). 새 덕트를 입면뷰(2)에 추가하면 새 덕트는 사용 가능한 유일한 커넥터를 사용하여 기존 덕트장치(3)의 맨 끝에 추가됩니다.

뷰 범위 내 사용 가능한 커넥터가 한 개뿐인 경우

뷰 범위 내에 커넥터 하나만 있음
뷰 범위 내에서 사용 가능한 커넥터가 없는 경우 덕트는 뷰 평면과 세그먼트의 교차점에서 T자형과 연결됩니다. 덕트 중심선은 정확하게 뷰 평면 위에 배치됩니다.
뷰 범위 내에 사용할 수 있는 커넥터가 없는 경우 평면뷰(1)에서와 같이 (입면뷰(2)에 추가된) 새 덕트는 입면뷰 평면과 기존 덕트장치(3)의 교차점에서 T자형과 연결됩니다. 덕트 중심선은 정확하게 뷰 평면 위에 배치됩니다.

뷰 범위 내의 유일한 커넥터가 이미 사용 중임

뷰 범위 내에 두 개의 커넥터가 있지만 하나는 이미 사용 중임

사용 가능한 모든 커넥터가 뷰 범위 밖에 있음
새 덕트는 단면뷰에 대한 (전경의) 뷰 평면과 가장 가까운 사용 가능한 커넥터에 연결됩니다. 사용 가능한 커넥터는 단면뷰 경계 내에 있으면서 아직 다른 커넥터에 연결되지 않은 커넥터입니다.
다음 예에서는 기존 덕트(1)의 두 커넥터를 모두 사용할 수 있습니다. 단면뷰(2)에서 추가된 수평 세그먼트는 평면뷰(3)에 표시된 대로 뷰 평면에서 가장 가까운 커넥터에 연결됩니다.
뷰 범위 내에서 커넥터를 하나만 사용할 수 있는 경우 해당 커넥터가 사용됩니다.
다음 예에서 기존 덕트의 양 끝이 모두 뷰 범위 내에 있더라도 하나만 사용할 수 있습니다. 다른 커넥터는 이미 사용 중입니다. 사용 가능한 커넥터가 뷰 평면에서 가장 먼 위치에 있더라도 이 커넥터가 사용됩니다.
사용 가능한 모든 커넥터가 뷰 범위 밖에 있는 경우 덕트는 뷰 평면과 기존 덕트장치의 교차점에서 T자형과 연결됩니다. 덕트 중심선은 정확하게 뷰 평면 위에 배치됩니다.

뷰 범위 내에는 커넥터가 하나만 있지만 이미 사용 중입니다.

이 경우 덕트를 단면뷰(1)에 그리면 평면뷰(2)와 3D 뷰(3)에 표시된 대로 Revit에서 VAV 커넥터와 엘보 간에 짧은 덕트 세그먼트를 추가합니다.

다음 예에서는 2개의 수직 덕트 세그먼트가 입면뷰의 덕트장치에 추가됩니다. 원래 덕트장치는 평면뷰(1), 연관된 3D 뷰(2) 및 남쪽 입면뷰(3)에 표시됩니다.

결과로 생성된 수직 세그먼트가 평면뷰(1), 연관된 3D 뷰(2) 및 남쪽 입면뷰(3)에서 어떻게 표시되는지 (왼쪽에서 오른쪽으로) 보여줍니다.


이 경우 덕트를 남쪽 입면뷰(1)에 그리면 평면뷰(2)와 3D 뷰(3)에 표시된 대로 Revit에서 VAV 커넥터와 엘보 사이에 짧은 덕트 세그먼트를 추가합니다.

다음 샘플 프로젝트에서는 덕트장치를 추가하여 레벨 1의 세그먼트를 레벨 2의 덕트장치에 연결하려고 합니다.

단면뷰에서 레벨 2 덕트장치는 레벨 1 덕트장치 위에 정렬됩니다. 덕트 도구를 사용하면 레벨 1의 VAV에 있는 덕트장치에서 레벨 2의 기존 덕트장치로 수직 챌판을 그릴 수 있습니다.
덕트장치가 레벨 1 VAV의 덕트장치에 있는 커넥터에서 레벨 2의 수평 덕트장치로 추가됩니다.

연관된 3D 뷰는 덕트장치가 실제로 어떻게 작성되는지 보여줍니다. 결과 덕트장치는 레벨 2의 덕트장치에 연결하는 수직 세그먼트와 수평 세그먼트로 그려집니다. 수평 세그먼트는 단면뷰 평면에 수직으로 추가됩니다.
