Utilize as mesmas ferramentas e métodos para desenhar tubulações em vistas de elevação que em vistas de planta. No entanto, como você está visualizando o layout de outra perspectiva, os resultados nem sempre serão os esperados. Tubulação desenhada em uma vista de elevação é desenhada com relação ao plano de vista de elevação. Ao desenhar em uma vista de elevação, você deve manter uma vista 3D ou uma vista de planta visível para ver os resultados das ações. Eis algumas coisas para ter em mente:
A nova tubulação se conectará ao conector disponível mais próximo do plano da vista (em primeiro plano) para a vista de elevação. Um conector disponível é um que já não esteja conectado a outro conector e esteja dentro dos limites da vista de elevação. (O único limite para uma vista de elevação é o plano da vista no primeiro plano.)
No exemplo a seguir, ambos os conectores em uma tubulação existente (1) estão disponíveis. O segmento horizontal adicionado à vista de elevação (2) está conectado ao conector mais próximo do plano da vista, como mostrado na vista de planta (3).

Dois conectores dentro do alcance da vista
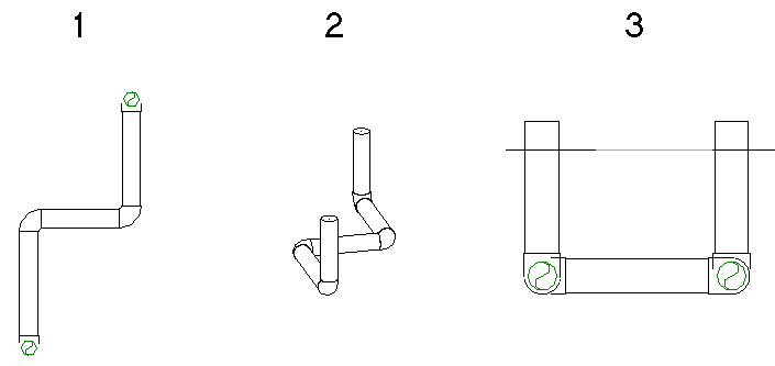
Se só existir um conector disponível dentro do alcance da vista, aquele conector será utilizado. No exemplo a seguir, o conector mais próximo do plano da vista já está sendo utilizado (1). Quando a nova tubulação é adicionada à vista de elevação (2), ela é adicionada na extremidade final da tubulação existente (3) utilizando o único conector disponível.

Somente um conector disponível dentro do alcance da vista
Se não houver conectores disponíveis dentro do alcance da vista, a nova tubulação é conectada com um tubo em T na interseção do plano de vista de elevação e do tubo existente. A linha de centro da tubulação é inserida exatamente sobre o plano da vista.
No exemplo a seguir, 2 segmentos de tubulação verticais são adicionados a uma seção de tubulação em uma vista de elevação. A tubulação original é exibida em uma vista de planta (1), na vista 3D associada (2) e na vista de elevação sul (3).

Os segmentos verticais resultantes são exibidos (da esquerda para a direita) na forma como eles são exibidos na vista de planta (1), na vista 3D associada (2) e na vista de elevação sul (3).


Neste caso, quando a tubulação é desenhada na vista de elevação sul (1), o Revit adiciona um pequeno segmento de tubulação entre o conector do aquecedor e o cotovelo, como mostrado na vista de planta (2) e na vista 3D (3).
