Utilize as mesmas ferramentas e métodos para desenhar dutos em vistas de elevação e de corte em vistas de planta. No entanto, como você está visualizando o layout de outra perspectiva, os resultados não serão sempre como esperados. Dutos desenhados em uma vista de elevação/de corte são desenhados com relação ao plano de vista de elevação/corte. Ao desenhar em uma vista de elevação/corte, mantenha uma vista 3D ou uma vista de planta visível para ver os resultados das ações. Eis algumas coisas para ter em mente:
painel Ferramentas de colocação
Herdar tamanho para assumir o tamanho dos dutos existentes. Os exemplos a seguir mostram a orientação dos dutos adicionados em vistas de elevação/corte. Nestes exemplos, todos os segmentos existentes são 12" W x 8" H.
No primeiro exemplo, um duto horizontal de 12" W x 8" H é exibido em uma vista de planta.


Na vista de elevação, um duto horizontal é adicionado ao duto. A visualização do duto mostra que a orientação do novo duto tem a face de 12" (W) exibido de cima para baixo.

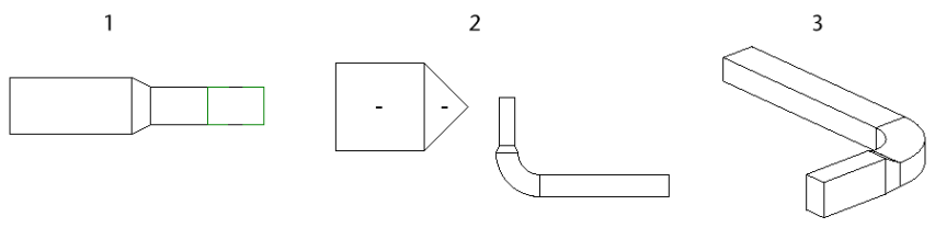
Os dutos resultantes são mostrados abaixo na vista de elevação (1), vista de planta (2) e vista 3D (3). Os dutos contêm uma transição entre o cotovelo e o novo segmento de duto.


O desenho do novo duto para cima (ou para baixo) do duto do exemplo anterior não requer uma transição para ser exibido. A largura e a altura são exibidas em relação à vista de elevação.

Ao conectar a um duto existente em uma vista de elevação, pode ser necessário especificar a largura e a altura, na Barra de opções, para obter o resultado desejado.
O novo duto se conectará ao conector disponível mais próximo do plano da vista (em primeiro plano) para a vista de elevação. Um conector disponível é um que já não esteja conectado a outro conector e esteja dentro dos limites da vista de elevação. (O único limite para uma vista de elevação é o plano da vista no primeiro plano.)
No exemplo a seguir, ambos os conectores em um duto existente (1) estão disponíveis. O segmento horizontal adicionado à vista de elevação (2) está conectado ao conector mais próximo do plano da vista, como mostrado na vista de planta (3).

Dois conectores dentro do alcance da vista

Ambos os conectores dentro do alcance da vista
Se só existir um conector disponível dentro do alcance da vista, aquela conexão será usada. No exemplo a seguir, o conector mais próximo do plano da vista já está sendo utilizado (1). Quando o novo duto adicionado à vista de elevação (2), ele é adicionado na extremidade final dos dutos existentes (3) utilizando o único conector disponível.

Somente um conector disponível dentro do alcance da vista

Somente um conector dentro do alcance da vista
Se não houver conectores disponíveis dentro do alcance da vista, o duto é conectado com um tubo em T na interseção do plano de vista e do segmento. A linha de centro do duto é inserida exatamente sobre o plano da vista.
Se não houver conectores disponíveis dentro do alcance da vista, como na vista da planta (1), o novo duto (adicionado na vista de elevação (2)) é conectado com um tubo em T na interseção do plano de vista de elevação e dos dutos existentes (3). A linha de centro do duto é inserida exatamente sobre o plano da vista.

O único conector dentro do alcance da vista já está em uso

Dois conectores dentro do alcance da vista, mas um conector já em uso

Todos os conectores disponíveis fora do alcance da vista
O novo duto será conectado ao conector disponível mais próximo do plano da vista (em primeiro plano) para a vista de corte. Um conector disponível é um que já não esteja conectado a outro conector e esteja dentro dos limites da vista de corte.
No exemplo a seguir, ambos os conectores em um duto existente (1) estão disponíveis. O segmento horizontal adicionado à vista de corte (2) está conectado ao conector mais próximo do plano da vista, como mostrado na vista de planta (3).
Se somente um conector estiver disponível dentro do alcance da vista de conector, ele será o conector usado.
Apesar de ambas as extremidades do duto existente estarem dentro do alcance da vista no exemplo a seguir, somente uma está disponível. O outro conector já está em uso. O conector disponível é utilizado, mesmo se for o mais longínquo do plano da vista.
Se todos os conectores disponíveis estiverem fora do alcance da vista, o duto é conectado com um tubo em T na interseção do plano da vista e dos dutos existentes. A linha de centro do duto é inserida exatamente sobre o plano da vista.

O único conector dentro do alcance da vista, mas já está em uso

Neste caso, quando o duto é desenhado na vista de corte (1), o Revit adiciona um pequeno segmento de duto entre o conector do VAV e o cotovelo, como mostrado na vista de planta (2) e vista 3D (3).

No exemplo a seguir, 2 segmentos de duto verticais são adicionados a uma seção de dutos em uma vista de elevação. Os dutos originais são exibidos em uma vista de planta (1), na vista 3D associada (2) e na vista de elevação sul (3).

Os segmentos verticais resultantes são exibidos (da esquerda para a direita) na forma como eles são exibidos na vista de planta (1), na vista 3D associada (2) e na vista de elevação sul (3).


Neste caso, quando o duto é desenhado na vista de elevação sul (1), o Revit adiciona um pequeno segmento de duto entre o conector do VAV e o cotovelo, como mostrado na vista de planta (2) e na vista 3D (3).

No seguinte projeto de amostra, você deseja adicionar dutos para conectar segmentos no nível 1 para os dutos no nível 2.

Na vista de corte, os dutos do nível 2 parecem estar alinhados acima dos dutos do nível 1. Usando a ferramenta de duto, é possível desenhar um degrau vertical do trecho de dutos no VAV no nível 1 para os dutos existentes no nível 2.
Os dutos são adicionados do conector no trecho de dutos no VAV do nível 1 para os dutos horizontais no nível 2.

A vista 3D associada mostra como os dutos são de fato criados. Os dutos resultantes são desenhados com um segmento vertical e um segmento horizontal para se conectarem aos dutos no nível 2. O segmento horizontal é adicionado perpendicular ao plano da vista de corte.
