在立面视图中绘制管道时,使用的工具和方法与在平面视图中进行绘制时所用的工具和方法相同。 但是,由于您是以不同的透视图查看布局,因此结果可能与预期有所不同。 在立面视图中绘制的管道是相对于立面视图平面绘制的。 如果在立面视图中绘制,应当保持三维视图或平面视图可见,以便查看操作的结果。 请注意下列事项:
新管道将连接到距离立面视图的视图平面(在前景中)最近的可用连接件。 可用的连接件是指尚未连接到其他连接件、且位于立面视图边界内的连接件。 (立面视图的唯一边界是指前景中的视图平面。)
在下例中,现有管道 (1) 的两个连接件都可用。 在立面视图 (2) 中添加的水平分段连接到距离视图平面最近的连接件,如平面视图 (3) 所示。

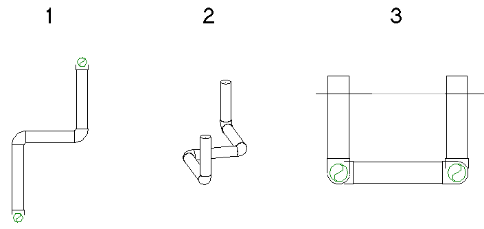
视图范围内有两个连接件
如果视图范围内只有一个可用的连接件,则将使用该连接件。 在下例中,距离视图平面最近的连接件已被使用 (1)。 在立面视图 (2) 中添加新管道时,将使用唯一可用的连接件在现有管道 (3) 的最远端进行添加。

视图范围内只有一个可用连接件
如果视图范围内没有可用连接件,新管道将与立面视图平面和现有管道的相交处的 T 形三通连接。 管道的中心线正好位于视图平面之上。
在下例中,2 个垂直管段已添加到立面视图的管道部分中。 原始管道在平面视图 (1)、关联三维视图 (2) 和南立面视图 (3) 中显示。

结果垂直分段在平面视图 (1)、关联三维视图 (2) 和南立面视图 (3) 中的外观(从左到右)。


在此情况下,如果在南立面视图 (1) 中绘制管道,则 Revit 会在锅炉连接件和弯头之间添加短管段,如平面视图 (2) 和三维视图 (3) 中所示。
