熔接符號是視圖特有的註解。它們僅在您將它們加入視圖時出現。
- 按一下「註解」頁籤
「符號」面板 
(符號)。
- 在類型選取器中,選取適當的熔接符號。
您可以放置以下類型的熔接符號:
- 圓角
- 喇叭口單斜
- 斜角
- V
- 最下方
- 喇叭口 V
- J
- 槽
- 方形
- U
- 在繪圖區域中,在要展示符號的位置按一下。
- 按一下「修改」,然後選取熔接符號。
- 在「性質」選項板中,指定熔接符號的所需性質。
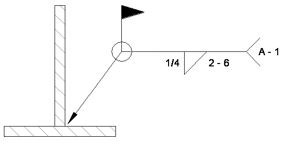
您可以指定以下熔接符號性質:
- 頂部符號類型、大小與長度
- 底部符號類型、大小與長度
- 等高線符號類型
- 引線規劃
- 尾部和尾部註記的顯示
- 熔接全周和現場熔接符號顯示
- 向左或右符號方位
您也可以選取熔接符號,然後按一下適當的藍色文字值,以編輯各種熔接符號參數。在編輯方塊中鍵入所需的值,然後按 Enter。
您也可在「族群編輯器」中建立熔接符號族群並將其載入專案。若要建立熔接符號族群,請使用「一般註解」樣板。建立熔接符號族群時,您會發現只能在一個視圖中看到該族群。與其他註解一樣,符號族群也是視圖特有的。