Kóty mohou být asociativní, neasociativní nebo rozložené. Asociativní kóty se přizpůsobují změnám měřených geometrických objektů.
Asociace kót definuje vztah mezi geometrickými objekty a kótami určujícími jejich vzdálenosti a úhly. Existují tři typy asociativity mezi geometrickými objekty a kótami.
Zda je kóta asociativní či neasociativní, lze určit výběrem kóty a provedením jednoho z těchto úkonů:
Za částečně asociativní je považována kóta, která má s geometrickým objektem asociovaný pouze jeden konec. Obnovit asociativitu neasociativních kót můžete pomocí příkazu KÓTYPŘIPOJ.
Asociativita mezi kótou a objektem může být ztracena z několika důvodů. Například:
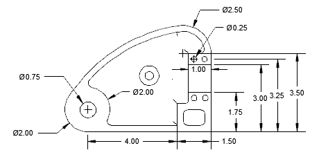
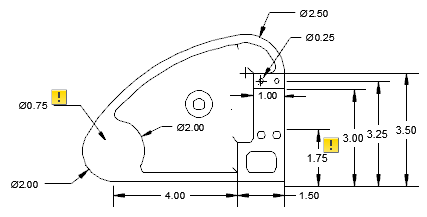
Ke sledování asociativity odkazu můžete použít sledování poznámek. Když je zapnuté sledování poznámek, budou pomocí indikátoru označeny příznakem kóty, které ztratí asociativitu.

Před aktualizací události

Po aktualizaci události
Kliknutím na indikátor zobrazíte nabídku, která obsahuje možnosti specifické pro odpovídající poznámky se zrušenou asociativitou. Nabídka u kóty, která ztratila asociativitu, poskytuje přístup k příkazům KÓTYPŘIPOJ a VYMAŽ.
Občas je třeba použít příkaz KÓTYREGEN k aktualizaci asociativních kót po posunu pohledu nebo zoomování, po otevření výkresu upraveného v dřívější verzi aplikace nebo po otevření výkresu s externími referencemi, které byly změněny.
Asociativní kóty podporují většinu typů objektů, které je vhodné kótovat. Nepodporují objekty, jako jsou například
Kóty přidružené výkresovým pohledům modelu svoji asociativitu ztratí, když je výkres otevřen a znovu uložen v aplikaci AutoCAD ve verzi starší než 2012.