In dieser Übung arbeiten Sie in Ansichten und Draufsichten, um dem Modell Fenster hinzuzufügen. Sie verwenden die Ausrichtungs- und Bemaßungswerkzeuge zur genaueren Positionierung der Fenster.
|
Kategorie
|
Neue Benutzer |
|
Erforderliche Zeit
|
10 Minuten |
|
Verwendete Lernprogrammdateien
|
GSG_07_place_windows.rvt |
|
Ziele
- Platzieren von Fenstern.
- Duplizieren und Ändern eines Fenstertyps zur Erstellung einer anderen Fenstergröße.
- Verwenden des Werkzeugs Ausrichten zur Positionierung von Fenstern.
- Verwenden des Werkzeugs Ausgerichtete Bemaßung zur Neupositionierung von Fenstern in gleicher Entfernung zueinander.
Video ansehen
Hinzufügen von Fenstern
Platzieren von zwei Fenstern
Erstellen eines Fenstertyps
Ausrichten von Fenstern
Bemaßen von Fenstern für gleichen Abstand
- Öffnen Sie das Projekt GSG_07_place_windows.rvt.
- Doppelklicken Sie im Projektbrowser unter Ansichten (Gebäudeansicht) auf Süd.
- Klicken Sie auf Registerkarte Architektur
Gruppe Erstellen 
(Fenster).
- Stellen Sie in der Typenwahl sicher, dass Flügel 3 x 3 mit Verkleidung 36" x 48" ausgewählt ist.
- Falls erforderlich, klicken Sie auf Registerkarte Ändern | Fenster platzieren
Gruppe Beschriftung 
(Bei Platzierung beschriften), um die Fenster mit Beschriftungen zu versehen.
- Klicken Sie, um zwei Fenster wie hier gezeigt in der Fundamentwand zu platzieren, und drücken Sie zweimal die Esc-Taste, um das Werkzeug Fenster zu verlassen.
- Wählen Sie im Zeichenbereich das Fenster auf der rechten Seite aus, und klicken Sie in der Eigenschaftenpalette auf
(Typ bearbeiten).
- Klicken Sie im Dialogfeld Typeneigenschaften auf Duplizieren.
- Geben Sie im Dialogfeld Name 36" x 36" ein, und klicken Sie auf OK.
- Geben Sie unter Bemaßungen für Höhe 3' ein, und klicken Sie auf OK.
- Wählen Sie das Fenster auf der linken Seite, und wählen Sie in der Typenwahl Flügel 3 x 3 mit Verkleidung 36" x 36".
- Klicken Sie auf Registerkarte Ändern
Gruppe Ändern 
(Ausrichten).
- Klicken Sie auf die Oberkante der Fundamentwand und anschließend auf die obere Kante der Verkleidung des rechten Fensters.
Überprüfen Sie die Statusleiste, um sicherzustellen, dass Sie die Oberkante der Wand und nicht die Linie von 02 - Entry Level auswählen.
- Wiederholen Sie die gleichen Schritte, um das linke Fenster an der Oberkante der Wand auszurichten.
- Klicken Sie auf
(Ändern).
- Öffnen Sie den Grundriss 02 - Entry Level.
- Klicken Sie auf Registerkarte Architektur
Gruppe Erstellen 
(Fenster).
- Wählen Sie in der Typenwahl Flügel 3 x 3 mit Verkleidung 36" x 48".
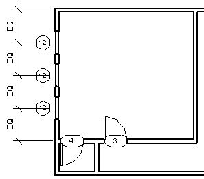
- Platzieren Sie drei Fenster an der Außenkante der Westwand, wie in der Abbildung gezeigt.
- Klicken Sie auf Registerkarte Beschriften
Bemaßung 
(Ausgerichtet).
- Wählen zunächst die Nordwand, dann die einzelnen Fensterachsen und anschließend die horizontale Innenwand aus.
- Klicken Sie links neben die Westwand, um die Bemaßungslinie zu platzieren.
Beachten Sie, dass alle vier Bemaßungen verschieden sind.
- Klicken Sie auf das EQ-Symbol, und drücken Sie zweimal die Esc-Taste.
Die Fenster werden so verschoben, dass alle Bemaßungen gleich sind.
- Wählen Sie die Innenwand aus, die die Türen enthält, und positionieren Sie den Mauszeiger auf der Wand. Wenn das Symbol Verschieben
angezeigt wird, ziehen Sie die Wand nach oben oder nach unten, um zu sehen, wie die Entwurfsabsicht erhalten bleibt.
Teil 8: Platzieren einer Fassade