Use this dialog to define parameters for elements that adjoin the selected element type. These parameters determine the length of adjoining elements in a drawing.
To display the Adjoining elements dialog:
For Style name, enter a name for the component style, and click Save (this is only available when creating a style, not when modifying an existing style).

In the Adjoining elements dialog, specify dimensions that form the surroundings of a selected element type.
For individual element types, you can choose the following parameters:
| Element Type |
Preview |
Parameters |
| Beam |
|
X, Y, Z1, Z2 |
| Ground beam |
|
X, Y, Z1, Z2 |
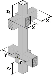
| Column |
|
X, Y, Z1, Z2 |
|
Spread footing |
|
Z |
|
Wall |
|
X, Y, Z1, Z2 |
|
Continuous footing |
|
Z |
|
Floor slab |
|
X, Y, Z1, Z2 |
|
Raft foundation |
|
X, Y, Z1, Z2 |
|
Lintel |
|
X, Y, Z1, Z2 |
|
Ring beam |
|
X, Y, Z1, Z2
|
|
Stairs |
|
X, Y, Z1, Z2 |
|
Group |
|
X, Y, Z1, Z2 |