En este ejercicio, trabajará en vistas de alzado y plano para añadir ventanas al modelo. Usará las herramientas de alineación y cota para colocar las ventanas con mayor precisión.
|
Categoría
|
Usuarios nuevos |
|
Tiempo necesario
|
10 minutos |
|
Archivos de aprendizaje utilizados
|
GSG_07_place_windows.rvt |
|
Objetivos
- Colocar ventanas.
- Duplicar y modificar un tipo de ventana para crear un tamaño de ventana distinto.
- Utilizar la herramienta Alinear para colocar ventanas.
- Utilizar la herramienta Cota alineada para recolocar las ventanas de forma que mantengan una relación de equidistancia entre ellas.
Ver el vídeo
Adición de ventanas
Colocar dos ventanas
Crear un tipo de ventana
Alinear ventanas
Acote las ventanas para asegurar espaciado equitativo.
- Abra el proyecto GSG_07_place_windows.rvt.
- En el Navegador de proyectos, en Alzados (Building Elevation), haga doble clic en South.
- Haga clic en la ficha Arquitectura
grupo Construir
(Ventana).
- En el selector de tipo, compruebe que esté seleccionada la opción Batiente 3 x 3 con cubrejuntas 36" x 48".
- Si es necesario, haga clic en la ficha Modificar | Colocar Ventana
grupo Etiqueta
(Etiquetar al colocar) para colocar etiquetas junto con las ventanas.
- Haga clic para colocar dos ventanas en el muro de cimentación, como se muestra, y pulse dos veces la tecla Esc para salir de la herramienta Ventana.
- En el área de dibujo, seleccione la ventana situada a la derecha y, en paleta Propiedades, haga clic en
(Editar tipo).
- En el cuadro de diálogo Propiedades de tipo, haga clic en Duplicar.
- En el cuadro de diálogo Nombre, escriba 36" x 36" y haga clic en Aceptar.
- En Cotas, para Altura, escriba 3', y haga clic en Aceptar.
- Seleccione la ventana a la izquierda y, en el selector de tipo, seleccione Batiente 3 x 3 con cubrejuntas 36" x 36".
- Haga clic en la ficha Modificar
grupo Modificar
(Alinear).
- Haga clic en la parte superior del muro de cimentación y seleccione la parte superior del borde del cubrejuntas de la ventana derecha.
Compruebe la barra de estado para asegurarse de que selecciona la parte superior del muro y no la línea de 02 - Nivel de entrada.
- Repita los mismos pasos para alinear la ventana izquierda con la parte superior del muro.
- Haga clic en
(Modificar).
- Abra el plano de planta 02 - Nivel de entrada.
- Haga clic en la ficha Arquitectura
grupo Construir
(Ventana).
- En el selector de tipo, seleccione la opción Batiente 3 x 3 con cubrejuntas 36" x 48".
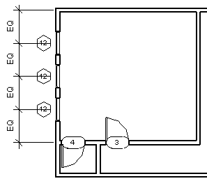
- Coloque tres ventanas en el borde exterior del muro oeste, tal y como se muestra.
- Haga clic en la ficha Anotar
grupo Cota
(Alineada).
- Seleccione el muro norte, seleccione cada uno de los ejes de ventana y, a continuación, el muro interior horizontal.
- Haga clic a la izquierda del muro oeste para colocar la línea de cota.
Tenga en cuenta que cada una de las cuatro cotas es distinta.
- Haga clic en el símbolo de igualdad (Igualdad) y, a continuación, pulse dos veces la tecla ESC.
Las ventanas se mueven para que todas las cotas sean iguales.
- Seleccione el muro interior que contiene las puertas; coloque el cursor sobre el muro y, cuando aparezca el icono de desplazamiento
, arrastre el muro hacia arriba o hacia abajo para ver en qué medida se conserva el propósito del diseño.
Parte 8: colocación de muros cortina