Les cotes peuvent être associatives, non associatives ou décomposées. Les cotes associatives s'ajustent aux modifications des objets géométriques qu'elles mesurent.
Le type d'association définit le rapport entre les objets géométriques et les cotes qui indiquent leurs dimensions et leurs angles. Il existe trois types d'association entre les cotes et les objets géométriques.
Vous pouvez déterminer si une cote est associative ou non en la sélectionnant et en utilisant l'une des méthodes suivantes :
Une cote est considérée comme partiellement associative lorsqu'une seule de ses extrémités est associée à un objet géométrique. Vous pouvez utiliser la commande COTREASSOCIER pour réassocier les cotes non associatives.
L'associativité entre une cote et un objet risque d'être perdue pour plusieurs raisons. Par exemple :
Vous pouvez utiliser le moniteur d'annotations pour suivre l'associativité des lignes de repère. Lorsque le moniteur d'annotations est activé, il indique les cotes qui perdent l'associativité en affichant un badge sur la cote.

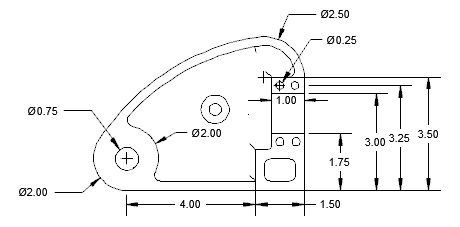
Avant une mise à jour

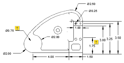
Après une mise à jour
Lorsque vous cliquez sur un badge, le menu qui s'affiche contient des options spécifiques à l'annotation dissociée correspondante. Le menu d'une cote ayant perdu l'associativité permet d'accéder aux commandes COTREASSOCIER et EFFACER.
Il peut être nécessaire d'utiliser COTREGEN pour mettre à jour les cotes associatives après un panoramique ou un zoom, après l'ouverture d'un dessin modifié dans une version antérieure ou après l'ouverture d'un dessin comportant des références externes qui ont été modifiées.
Les cotes associatives prennent en charge la plupart des types d'objet que vous serez amené à coter. Elles ne prennent pas en charge les objets suivants :
Les cotes associées aux vues de dessin du modèle peuvent perdre leur associativité si le dessin est ouvert, puis réenregistré dans une version d'AutoCAD antérieure à la version 2012.