In questo esercizio si utilizzano viste di prospetto e di pianta per aggiungere finestre al modello. Per posizionare le finestre con maggiore precisione, ci si avvale di strumenti di allineamento e quotatura.
|
Categoria
|
Nuovi utenti |
|
Tempo richiesto
|
10 minuti |
|
File dell'esercitazione usati
|
GSG_07_place_windows.rvt |
|
Obiettivi
- Posizionamento delle finestre.
- Duplicazione e modifica di un tipo di finestra per creare una nuova dimensione della finestra.
- Utilizzo dello strumento Allinea per posizionare le finestre.
- Utilizzo dello strumento Quota allineata per riposizionare le finestre alla stessa distanza tra loro.
Guarda il video
Aggiunta di finestre
Posizionamento di due finestre
Creazione di un tipo di finestra
Allineamento delle finestre
Quotatura delle finestre per l'applicazione della spaziatura uniforme
- Aprire il progetto GSG_07_place_windows.rvt.
- Nel Browser di progetto, in Prospetti (Building Elevation), fare doppio clic su South.
- Fare clic sulla scheda Architettura
gruppo Costruisci 
(Finestra).
- Nel Selettore di tipo, verificare che sia selezionata Casement 3x3 with Trim 36" x 48".
- Se necessario, fare clic sulla scheda Modifica | Posiziona Finestra
gruppo Etichetta
(Etichetta al posizionamento) per posizionare etichette unitamente alle finestre.
- Fare clic per posizionare due finestre nel muro di fondazione, come indicato nella figura, quindi premere ESC due volte per uscire dallo strumento Finestra.
- Nell'area di disegno, selezionare la finestra a destra, quindi nella tavolozza Proprietà, fare clic su
(Modifica tipo).
- Nella finestra di dialogo Proprietà del tipo, fare clic su Duplica.
- Nella finestra di dialogo Nome, immettere 36" x 36" e fare clic su OK.
- In Quote, per Altezza immettere 3', quindi fare clic su OK.
- Selezionare la finestra a sinistra, quindi, nel selettore di tipo, selezionare Casement 3x3 with Trim 36" x 36".
- Fare clic sulla scheda Modifica
gruppo Modifica
(Allinea).
- Fare clic sulla parte superiore del muro di fondazione, quindi fare clic sul bordo superiore dell'infisso della finestra a destra.
Controllare la barra di stato per accertarsi di aver selezionato la parte superiore del muro e non la linea 02 - Entry Level.
- Ripetere la stessa procedura per allineare la finestra a sinistra con la parte superiore del muro.
- Fare clic su
(Modifica).
- Aprire la pianta del pavimento 02 - Entry Level.
- Fare clic sulla scheda Architettura
gruppo Costruisci 
(Finestra).
- Nel Selettore di tipo, selezionare Casement 3x3 with Trim 36" x 48".
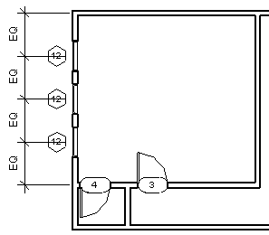
- Posizionare tre finestre sul bordo esterno del muro ovest, come illustrato.
- Fare clic sulla scheda Annota
gruppo Quota
(Allineata).
- Selezionare il muro nord, quindi la linea d'asse di ciascuna finestra e infine il muro interno orizzontale.
- Fare clic a sinistra del muro ovest per posizionare la linea di quota.
Si noti che le quattro quote sono tutte diverse.
- Fare clic sul simbolo della condizione di uguaglianza delle quote (EQ) e premere due volte ESC.
Le finestre vengono spostate in modo da essere posizionate tutte alla stessa distanza.
- Selezionare il muro interno con le porte, posizionare il cursore sul muro e, quando viene visualizzata l'icona di spostamento
, trascinare il muro verso l'alto o verso il basso per osservare come viene mantenuto l'intento progettuale.
Parte 8 - Posizionamento di una facciata continua