立面図ビューまたは断面図ビューでダクトを描画するには、平面図ビューと同じツールと方法を使用します。
ただし、異なる視点からレイアウトを表示するため、結果は想定するものになるとは限りません。立面図/断面図ビューで描画されるダクトは、立面図/断面図ビューの平面を基準にして描画されます。立面図/断面図ビューで描画する場合は、行うアクションの結果を表示させるために、3D ビューまたは平面図ビューを表示したままにしてください。以下に、留意すべきいくつかの点を記します。
[配置ツール]パネル 
[サイズを継承]をクリックして、既存のダクト作業のサイズを採用できます。 次の例では、立面図/断面図ビューで追加されたダクトの方向が示されています。これらの例では、既存のセグメントはすべて 12" W x 8" H です。
1 番目の例では、平面図ビューに 12" W x 8" H の水平ダクトが表示されます。


立面図ビューで、そのダクトに水平ダクトを追加します。ダクトのプレビューで、新しいダクトの方向が、上から下の寸法として表示される 12" の面(W)であることが示されます。

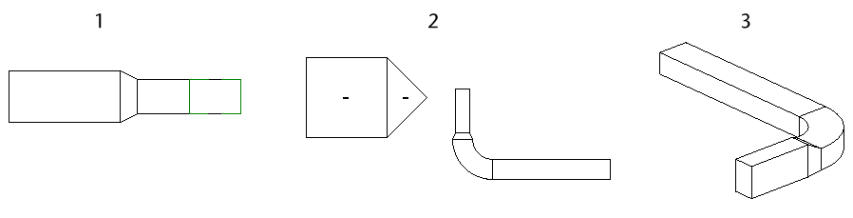
生成されるダクトは、立面図ビュー(1)、平面図ビュー(2)、および 3D ビュー(3)で、下に表示されています。ダクトには、エルボと新しいダクト セグメントとの間にある置換が含まれています。


前の例で、ダクトから新しいダクトを上または下に描画するときに、置換の表示は必要ありません。幅と高さは、立面図ビューを基準にして表示されます。

立面図ビューで既存のダクトに接続する場合には、目的の結果を得るために、オプション バーで幅と高さを指定する必要もあります。
新しいダクトは、立面図ビューの前景内のビュー平面に最も近い使用可能な接続部に接続されます。使用可能な接続部とは、別の接続部にまだ接続されていない接続部であり、立面図ビューの境界内にあります。(立面図ビューの唯一の境界は、前景内のビュー平面です。)
次の例では、既存のダクト(1)の接続部両方が使用可能です。立面図ビューに追加する水平セグメント(2)は、平面図ビューで示すように、ビュー平面に最も近い接続部に接続します(3)。

ビュー範囲内にある 2 つの接続

ビュー範囲内にある両方の接続
ビュー範囲内で使用できる接続が 1 つだけである場合は、その接続が使用されます。次の例では、ビュー平面に最も近い接続が既に使用されています(1)。新しいダクトを立面図ビューに追加する場合(2)、唯一の使用可能な接続を使用して、既存のダクトの遠端(3)で追加されます。

ビュー範囲内で使用できる接続が 1 つのみ

ビュー範囲内にある接続が 1 つのみ
ビューの範囲内に使用可能な接続がない場合、ダクトは、ビュー平面とセグメントとの交点においてティーに接続されます。ダクトの中心線は、ビュー平面の上に正確に配置されます。
平面ビュー(1)でのように、ビューの範囲内に使用可能な接続がない場合、新しいダクト(立面図ビュー(2)で追加される)は、立面図ビュー平面と既存のダクトとの交点においてティー(3)に接続されます。ダクトの中心線は、ビュー平面の上に正確に配置されます。

ビュー範囲内の唯一の接続が既に使用されている場合

ビュー範囲内に 2 つの接続があるが 1 つは既に使用中

使用可能なすべての接続がビュー範囲外にある
新しいダクトは、断面図ビューの前景内のビュー平面に最も近い使用可能な接続部に接続されます。使用可能な接続部とは、別の接続部にまだ接続されていない接続部であり、断面図ビューの境界内にあります。
次の例では、既存のダクト(1)の接続部両方が使用可能です。断面図ビューに追加する水平セグメント(2)は、平面図ビューで示すように、ビュー平面に最も近い接続部に接続します(3)。
ビューの範囲内で使用できる接続が 1 つのみである場合は、その接続が使用されます。
次の例での既存のダクトの両端はビュー範囲内にありますが、使用できるのは 1 つのみです。もう一方は既に使用されています。使用可能な接続はビュー平面から最も遠いですが、これを使用します。
使用可能なすべての接続がビュー範囲外にある場合には、そのダクトは、ビュー平面と既存のダクトとの交点にあるティーに接続されます。ダクトの中心線は、ビュー平面の上に正確に配置されます。

ビュー範囲内にある唯一の接続が既に使用されている場合

この場合では、断面図ビュー(1)でダクトを描画すると、Revit の平面図ビュー(2)と 3D ビュー(3)で示すように、VAV 接続とエルボとの間に短いダクト セグメントが追加されます。

次の例では、2 つの垂直ダクト セグメントを、立面図ビュー内のダクトに追加します。元のダクトは、平面図ビュー(1)、関連する 3D ビュー(2)、および[南]立面図ビュー(3)のように表示されます。

生成される垂直セグメントは左から右に、平面図ビュー(1)、関連する 3D ビュー(2)、および[南]立面図ビュー(3)のように表示されます。


この場合では、[南]立面図ビュー(1)でダクトを描画すると、Revit の平面図ビュー(2)と 3D ビュー(3)で示すように、VAV 接続とエルボとの間に短いダクト セグメントが追加されます。

次のプロジェクト例では、レベル 1 にあるセグメントを、レベル 2 にあるダクトに接続するように、ダクトを追加します。

断面図ビューで、レベル 2 のダクトが、レベル 1 のダクトの上方に位置合わせされるように表示されます。ダクト ツールを使用して、レベル 1 の VAV にあるダクトから、レベル 2 にある既存のダクトへと、垂直な立上りを描画できます。
レベル 1 の VAV にあるダクトの接続部から、レベル 2 の水平ダクトに、ダクトが追加されます。

関連する 3D ビューには、ダクトが実際に作成される様子が表示されます。生成されるダクトは、レベル 2 のダクトに接続されるように、垂直なセグメントと水平なセグメントで描画されます。水平なセグメントは、断面図ビュー平面に垂直に追加されます。
