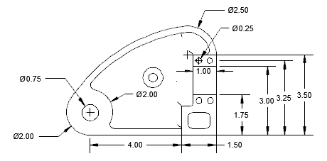
치수는 연관, 비연관 또는 분해 치수입니다. 연관 치수는 측정되는 기하학적 객체의 변경에 따라 조정됩니다.
치수 연관성은 기하학적 객체와 치수 사이의 관계를 정의하여 기하학적 객체에 거리와 각도를 제공합니다. 기하학적 객체와 치수 간에 세 가지 연관성 유형이 있습니다.
치수를 선택하고 다음 방법 중 하나를 수행하여 치수가 연관인지 비연관인지 결정할 수 있습니다.
치수는 치수의 한 쪽 끝만 기하학적 객체에 연관된 경우 부분적으로 연관된 것으로 간주됩니다. DIMREASSOCIATE 명령을 사용하여 비연관 치수를 다시 연관시킬 수 있습니다.
여러 가지 이유로 인해 치수와 객체 간의 연관성이 손실될 수 있습니다. 예를 들면 다음과 같습니다.
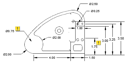
주석 감시를 사용하여 지시선 연관성을 추적할 수 있습니다. 주석 감시가 켜져 있으면 연관성이 손실된 치수에 뱃지를 표시하고 해당 치수에 플래그를 지정합니다.

업데이트 이벤트 전

업데이트 이벤트 후
뱃지를 클릭하면 연관해제된 해당 주석과 관련된 옵션이 들어 있는 메뉴가 표시됩니다. 연관성이 손실된 치수의 메뉴에서 DIMREASSOCIATE 및 ERASE 명령에 액세스할 수 있습니다.
초점이동 또는 줌한 후, 이전 릴리즈에서 수정한 도면을 연 후 또는 수정된 외부 참조가 있는 도면을 연 후에는 DIMREGEN을 사용하여 연관 치수를 업데이트해야 할 수도 있습니다.
연관 치수는 치수기입할 대부분의 객체 유형을 지원합니다. 그러나 다음과 같은 객체는 지원하지 않습니다.
도면을 열어 2012 이전 AutoCAD 릴리즈에서 다시 저장하면 모형 도면 뷰에 연관된 치수의 연관성이 손실될 수 있습니다.