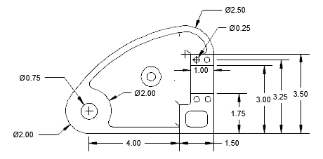
As cotas podem ser associativas, não associativas ou explodidas. Cotas associativas ajustam as alterações nos objetos geométricos que elas medem.
A associatividade da cota define a relação entre os objetos geométricos e as cotas que definem sua distância e ângulos. Há três tipos de associatividade entre objetos geométricos e cotas.
Basta selecionar uma cota e executar um dos seguintes procedimentos para determinar se ela é associativa ou não:
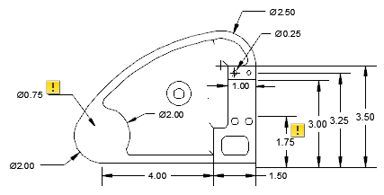
Uma cota é considerada parcialmente associativa quando somente uma extremidade dela estiver associada a um objeto geométrico. É possível utilizar o comando REASSOCIARCOTA para reassociar cotas não associativas.
A associatividade entre uma cota e um objeto pode ser perdida por diversos motivos. Por exemplo:
É possível utilizar o monitor de anotações para rastrear uma associatividade de linha de chamada. Quando o monitor de anotações está ativado, ele indica cotas que perdem a associatividade exibindo um sinal.

Antes de atualizar o evento

Após atualizar o evento
Clicar no sinal exibe um menu que contém as opções específicas para a correspondente anotação desassociada. O menu de uma cota que perdeu a associatividade fornece acesso aos comandos a REASSOCIARCOTA e APAGAR.
Pode ser necessário usar o comando COTAREGEN para atualizar as cotas associativas após a aplicação de vista panorâmica ou zoom, após abrir um desenho modificado com uma versão anterior ou após abrir um desenho com referências externas que foram modificadas.
As cotas associativas são compatíveis com a maioria dos tipos de objetos normalmente dimensionados. Não há compatibilidade com objetos como
Cotas associadas às vistas de desenho de modelo podem perder sua associatividade se o desenho for aberto e salvo novamente em uma versão anterior ao AutoCAD 2012.