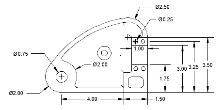
Размеры могут быть ассоциативными, неассоциативными и расчлененными. Ассоциативные размеры настраиваются в соответствии с изменениями объектов, к которым они относятся.
Ассоциативность размеров заключается в их связи с геометрическими объектами с нанесенными размерами. Существует три типа ассоциативности между объектами и размерами.
Определить наличие ассоциативной связи размера с объектом можно, выбрав размер и выполнив одно из следующих действий:
Размер считается частично ассоциативным, если с объектом с нанесенными размерами ассоциирован только один его конец. Можно использовать команду РЗМПРИКРЕПИТЬ для повторной ассоциации неассоциативных размеров.
Ассоциативность между размером и объектом может быть потеряна по нескольким причинам. Например:
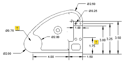
Отслеживать ассоциативность выносок можно с помощью монитора аннотаций. Если монитор аннотаций включен, он сообщает о размерах, которые теряют ассоциативность, отображая значок на размере.

Перед обновлением события

После обновления события
По щелчку значка отображается меню с параметрами, относящимися к соответствующей открепленной аннотации. Из меню размера, ассоциативная связь которой была потеряна, можно получить доступ к командам РЗМПРИКРЕПИТЬ и СТЕРЕТЬ.
После панорамирования или зумирования, после открытия чертежа, отредактированного и сохраненного в более ранних версиях программы, а также после открытия чертежа с отредактированными внешними ссылками, возможно, потребуется использовать команду РЗМРЕГЕН для обновления ассоциативных размеров.
Ассоциативные размеры поддерживают большинство типов объектов, которые предположительно могут использоваться в размере. Не поддерживаются следующие объекты
Размеры, связанные с видами чертежа модели, могут потерять их ассоциативность при открытии чертежа и повторном его сохранении в версии AutoCAD выпуска до 2012.