Обозначения сварки представляют собой специфические для вида аннотации. Они отображаются только на видах, на которые они были добавлены.
- Выберите вкладку "Аннотации"
панель "Обозначение"
("Обозначение").
- В списке "Выбор типа" выберите подходящее обозначение сварки.
В проект можно добавить следующие обозначения сварки:
- Сопряжение
- Разделка с расширением
- Расширение
- V-образная разделка
- Назад
- V-образная разделка с расширением
- J-образная разделка
- Щель
- Квадрат
- U-образная разделка
- Щелкните в том месте области рисования, где требуется отображать обозначение.
- Нажмите "Изменить" и выберите обозначение сварки.
- На палитре свойств задайте требуемые свойства для обозначения сварки.
Для обозначений сварки можно настроить следующие свойства:
- Тип, размер и длину верхнего обозначения.
- Тип, размер и длину нижнего обозначения.
- Тип контурного обозначения.
- Конфигурацию выноски.
- Отображение примечаний в конце
- Отображение обозначений для круговой сварки и монтажных швов.
- Левосторонняя и правосторонняя ориентация обозначений.
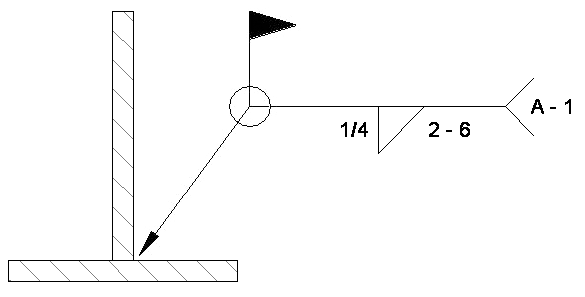
Различные параметры обозначений сварки можно также редактировать, выделив нужное обозначение и щелкнув на соответствующем значении (синий текст). Введите требуемое значение в поле редактирования и нажмите клавишу Enter.
Используя редактор семейств, можно создать семейство обозначений сварки и затем загрузить его в проект. Для создания семейства обозначений сварки используется шаблон "Типовая аннотация". Созданное семейство обозначений сварки может отображаться лишь на одном виде, как и все остальные аннотации, характерные для одного из видов.