当源三维模型更改时,模型文档工程视图不会反映所做的更改,直到将其更新为止。
当“自动更新”处于启用状态时(VIEWUPDATEAUTO 系统变量设置为 1),工程视图将自动更新:
当“自动更新”处于禁用状态时(VIEWUPDATEAUTO 系统变量设置为 0),工程视图将不会自动更新。需要更新的工程视图将以红色标记亮显。系统托盘上的气泡式通知将弹出,通知用户该模型已更改。此后,您必须明确更新过期的工程视图。

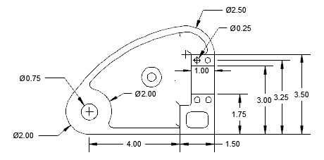
取决于在源模型中所做的更改,工程视图可能会增大或缩小。有两种方法可以定位图形中的视图。

您可以选择居中对正视图,以便查看围绕其中心的增减。

也可以选择“固定”选项,这会迫使未改变的模型几何图形保持在更新操作之前的位置上。通常,这是首选设置,很少会进行改变。
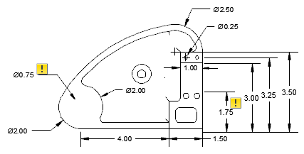
当更新事件删除附着注释的边时,注释会失去关联性。您可以通过注释监视器的帮助来追踪失去关联性的注释。
注释监视器是一项用于监视注释正常状态的服务。当更新事件导致标注丢失关联性时,气泡式通知将指示受影响的注释数,而且注释监视器托盘图标由
更改为
。此外,注释监视器将在受影响的注释附近显示标记。

更新事件前

更新后事件
单击标记将显示一个菜单,其中包含各种选项,它们特定于相应的已解除关联的标注。如果关闭注释监视器,标记将会消失。