“局部视图边界”选项卡(“修改局部视图样式”对话框 - AutoCAD Mechanical)

设置局部视图的边界线、模型边和连接线的特性。

选项列表

将显示下列选项。

边界线

线颜色
设置局部视图边界线的颜色。如果单击“选择颜色”(位于“颜色”列表的底部),将显示“选择颜色”对话框。您也可以输入颜色名称或编号。
注: 如果选择标签为“按 NameOfCurrentDraftingStandard”的颜色,则从“对象特性设置”对话框获取局部视图边界线颜色。此选项仅适用于 AutoCAD Mechanical 局部视图样式。
线型
设置局部视图边界线的线型。如果单击“其他”,将显示“选择线型”对话框。
注: 如果选择标签为“按 NameOfCurrentDraftingStandard”的线型,则从“对象特性设置”对话框中获取线型。此选项仅适用于 AutoCAD Mechanical 局部视图样式。
线宽
设置局部视图边界的线宽。
注: 如果选择标签为“按 NameOfCurrentDraftingStandard”的线宽,则从“对象特性设置”对话框获取局部视图边界线宽。此选项仅适用于 AutoCAD Mechanical 局部视图样式。

模型边

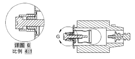
平滑
将局部视图中模型上的剖切线设置为平滑。
应用于模型文档局部视图 应用于 AMDETAIL 局部视图
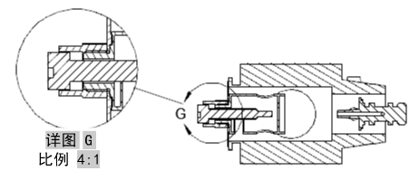
平滑带边框
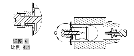
在局部视图周围显示边框,并将局部视图中显示的模型上的剖切线设置为平滑。
应用于模型文档局部视图 应用于 AMDETAIL 局部视图
平滑带连接线
在局部视图边框和局部视图边界之间显示连接线。此外,在局部视图周围显示边框,并将局部视图中显示的模型上的剖切线设置为平滑。
应用于模型文档局部视图 应用于 AMDETAIL 局部视图
锯齿状
将局部视图中模型上的剖切线设置为锯齿状。
应用于模型文档局部视图 应用于 AMDETAIL 局部视图
注: AMDETAIL 局部视图不支持锯齿状的剖切线。选择此选项后,AMDETAIL 工程视图的行为与选择了“平滑”选项相似。
线颜色
设置局部视图边框的颜色。如果单击“选择颜色”(位于“颜色”列表的底部),将显示“选择颜色”对话框。您也可以输入颜色名称或编号。
注: 如果选择标签为“按 NameOfCurrentDraftingStandard”的颜色,则从“对象特性设置”对话框获取局部视图边框线颜色。此选项仅适用于 AutoCAD Mechanical 局部视图样式。
线型
设置局部视图边框的线型。如果单击“其他”,将显示“选择线型”对话框。
注: 如果选择标签为“按 NameOfCurrentDraftingStandard”的线型,则从“对象特性设置”对话框获取局部视图边框的线型。此选项仅适用于 AutoCAD Mechanical 局部视图样式。
线宽
设置局部视图边框的线宽。
注: 如果选择标签为“按 NameOfCurrentDraftingStandard”的线型,则从“对象特性设置”对话框获取局部视图边框的线宽。此选项仅适用于 AutoCAD Mechanical 局部视图样式。

连接线

线颜色
设置将局部视图边框连接到局部视图边界的线的颜色。如果单击“选择颜色”(位于“颜色”列表的底部),将显示“选择颜色”对话框。您也可以输入颜色名称或编号。
注: 如果选择标签为“按 NameOfCurrentDraftingStandard”的颜色,则从“对象特性设置”对话框获取连接线颜色。此选项仅适用于 AutoCAD Mechanical 局部视图样式。
线型
设置连接线的线型。如果单击“其他”,将显示“选择线型”对话框。
注: 如果选择标签为“按 NameOfCurrentDraftingStandard”的线型,则从“对象特性设置”对话框获取连接线的线型。此选项仅适用于 AutoCAD Mechanical 局部视图样式。
线宽
设置连接线的线宽。
注: 如果选择标签为“按 NameOfCurrentDraftingStandard”的线型,则从“对象特性设置”对话框获取连接线的线宽。此选项仅适用于 AutoCAD Mechanical 局部视图样式。

恢复默认值

将所有值恢复为样式所基于的绘图标准和版本的默认值。此按钮仅对 AutoCAD Mechanical 局部视图样式可见。