关于图例构件尺寸标注

将尺寸标注添加到单个图例构件,以使其更具说明性。

可以使用“尺寸标注”工具将尺寸标注添加到单个图例构件中。

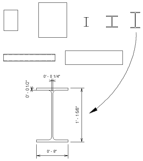
可对图例构件中的大多数线进行尺寸标注。 但不能对主体构件(例如墙、天花板和楼板)进行尺寸标注。 同样,不能对图例中的系统族构件进行尺寸标注。

对第一个窗进行了尺寸标注的窗图例

对第三个宽翼缘柱进行了尺寸标注的结构构件图例

图例示例