在立面和剖面视图中绘制管网时,使用的工具和方法与在平面视图中进行绘制时所用的工具和方法相同。
但是,由于您是以不同的透视图查看布局,因此结果可能与预期有所不同。 在立面/剖面视图中绘制的管网是相对于立面/剖面视图平面而绘制的。 在立面/剖面视图中绘制时,应始终显示三维视图或平面视图,以便查看操作的结果。 请注意下列事项:
“放置工具”面板 
(继承大小),采用现有管网的大小。 以下示例显示了在立面/剖面视图中添加的管网的方向。 在这些示例中,所有现有的管段都是 12" W x 8" H。
在第一个示例中,平面视图中显示的是 12" W x 8" H 水平风管。


在立面视图中,水平风管已添加到风管中。 风管预览显示了新风管的方向将 12" 面 (W) 显示为从顶到底的尺寸标注。

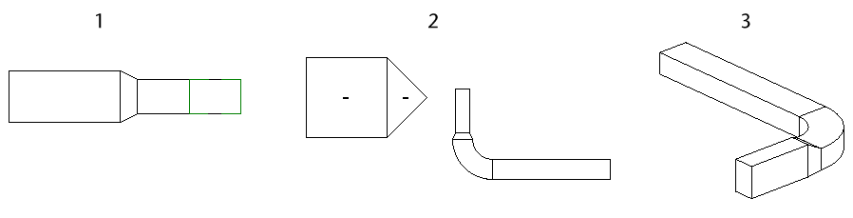
结果管网在下面的立面视图 (1)、平面视图 (2) 和三维视图 (3) 中显示。 管网包含了弯头与新风管管段之间的过渡件。


如果从前一示例的风管向上(或向下)绘制新风管,则不需要显示过渡件。 宽度和高度相对于立面视图而显示。

如果在立面视图中连接现有风管,可能需要在选项栏上指定宽度和高度,才能得到您所需的结果。
新风管将连接到距离立面视图的视图平面(在前景中)最近的可用连接件。 可用的连接件是指尚未连接到其他连接件、且位于立面视图边界内的连接件。 (立面视图的唯一边界是指前景中的视图平面。)
在下例中,现有风管 (1) 的两个连接件都可用。 在立面视图 (2) 中添加的水平管段连接到距离视图平面最近的连接件,如平面视图 (3) 所示。

视图范围内有两个连接件

视图范围内有两个连接件
如果视图范围内只有一个可用的连接件,将使用该连接件。 在下例中,距离视图平面最近的连接件已被使用 (1)。 在立面视图 (2) 中添加新风管时,将使用唯一可用的连接件在现有管网 (3) 的最远端进行添加。

视图范围内只有一个可用连接件

视图范围内只有一个连接件
如果视图范围内没有可用连接件,风管将连接到视图平面与管段的相交处的 T 形三通。 风管的中心线正好位于视图平面之上。
如果视图范围内没有可用的连接件,如平面视图 (1) 所示,新风管(在立面视图 (2) 中所添加的)将与立面视图平面和现有管网 (3) 的交点处的 T 形三通相连接。 风管的中心线正好位于视图平面之上。

视图范围内的唯一连接件已被使用

视图范围内有两个连接件,但其中一个已在使用中

视图范围外的所有可用连接件
新风管将连接到距离剖面视图的视图平面(在前景中)最近的可用连接件。 可用的连接件是指尚未连接到其他连接件、且位于剖面视图边界内的连接件。
在下例中,现有风管 (1) 的两个连接件都可用。 在剖面视图 (2) 中添加的水平管段连接到距离视图平面最近的连接件,如平面视图 (3) 所示。
如果视图范围内只有一个连接件可用,将使用该连接件。
在下例中,虽然现有风管的两端都落在视图范围内,但只有一个连接件可用。 另一个连接件已被使用。 即使可用连接件距离视图平面最远,也仍将被使用。
如果所有可用连接件都位于视图范围外,风管将连接到视图平面与现有管网的相交处的 T 形三通。 风管的中心线正好位于视图平面之上。

视图范围内只有一个连接件,且该连接件已在使用中

在这种情况下,如果在剖面视图 (1) 中绘制风管,Revit 会在 VAV 连接件和弯头之间添加一个短风管管段,如平面视图 (2) 和三维视图 (3) 所示。

在下例中,2 个垂直风管管段已添加到立面视图的管网中。 原始管网在平面视图 (1)、关联三维视图 (2) 和南立面视图 (3) 中显示。

生成的垂直管段在平面视图 (1)、关联三维视图 (2) 和南立面视图 (3) 中的外观(从左到右)。


在这种情况下,如果在南立面视图 (1) 中绘制风管,Revit 会在 VAV 连接件和弯头之间添加一个短风管管段,如平面视图 (2) 和三维视图 (3) 所示。

在下面的示例项目中,您要添加管网,以便将标高 1 上的管段连接到标高 2 上的管网。

在剖面视图中,标高 2 管网似乎与标高 1 管网的上方对齐。 通过风管工具,可以绘制一段从标高 1 的 VAV 上的管网到标高 2 上的现有管网的垂直立管。
管网从标高 1 VAV 上管网的连接件添加到标高 2 上的水平管网。

关联三维视图显示了实际创建管网的方式。 绘制的结果管网中有一条垂直管段和一条水平管段,并连接到了标高 2 上的管网。 添加的水平管段与剖面视图平面垂直。
