Nastavení vzdálenosti mezi kótami

Existující rovnoběžné přímé nebo úhlové kóty lze ve výkresu automaticky přizpůsobit tak, aby byly rovnoměrně rozmístěny nebo zarovnány na kótovací čáře.

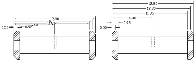
Příkaz KÓTYZÁKL používá systémovou proměnnou DIMDLI k vytvoření rovnoměrně rozmístěných kót, ale jakmile jsou kóty umístěny, změna hodnoty systémové proměnné neovlivní rozmístění kót. Pokud změníte velikost textu nebo přizpůsobíte měřítko kót, zachovají si původní umístění, což může způsobit potíže s překrýváním kótovacích čar a textu kóty.

Přímé a úhlové kóty, které se překrývají nebo nejsou rovnoměrně rozmístěn, lze rozmístit pomocí příkazu KÓTMEZERA. Vybrané kóty musí být přímé nebo úhlové, stejného typu /otočené nebo šikmé), rovnoběžné nebo soustředné a musí se nacházet na vynášecí čáře druhé kóty. Přímé a úhlové kóty lze také srovnat pomocí hodnoty rozteče 0.

Následující obrázek ukazuje rovnoběžné přímé kóty, které nejsou rovnoměrně rozmístěny, a kóty, které nejsou rovnoměrně rozmístěny, po použití příkazu KÓTMEZERA.