Nastavuje vlastnosti čar hranic, hran modelů a spojovacích čar detailů.
Seznam možností
Zobrazí se následující možnosti.
Čára hranice
- Barva čáry
- Nastaví barvu čáry hranice detailu. Pokud kliknete na možnost Vybrat barvu (v dolní části seznamu barev), zobrazí se dialog Vybrat barvu. Můžete také zadat název nebo číslo barvy.
Poznámka: Pokud vyberete barvu s popiskem „Podle NázevAktuálníNormyKreslení“, barva čáry hranice detailu bude získána z dialogu Nastavení vlastností objektu. Tato možnost je dostupná pouze u stylů detailů aplikace AutoCAD Mechanical.
- Typ čáry
- Nastaví typ čáry hranice detailu. Pokud kliknete na tlačítko Další, zobrazí se dialog Vybrat typ čáry.
Poznámka: Pokud vyberete typ čáry s popiskem „Podle NázevAktuálníNormyKreslení“, typ čáry roviny bude získán z dialogu Nastavení vlastností objektu. Tato možnost je dostupná pouze u stylů detailů aplikace AutoCAD Mechanical.
- Tloušťka čáry
- Nastaví tloušťku čáry hranice detailu.
Poznámka: Pokud vyberete tloušťku čáry s popiskem „Podle NázevAktuálníNormyKreslení“, tloušťka čáry hranice detailu bude získána z dialogu Nastavení vlastností objektu. Tato možnost je dostupná pouze u stylů detailů aplikace AutoCAD Mechanical.
Hrana modelu
- Plynulý
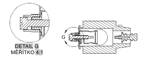
- U modelů v detailech nastaví plynulé čáry řezu.
| Použije se u detailů dokumentace modelu. |
Použije se u detailů vytvořených pomocí příkazu AMDETAIL. |
|
|
|
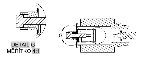
- Plynulý s ohraničením
- Zobrazí rámeček okolo detailů a u modelů zobrazených v detailech nastaví plynulé čáry řezu.
| Použije se u detailů dokumentace modelu. |
Použije se u detailů vytvořených pomocí příkazu AMDETAIL. |
|
|
|
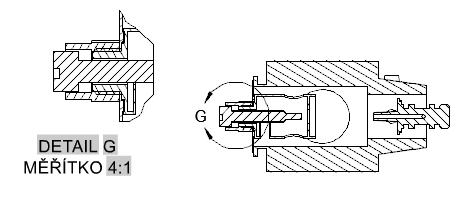
- Plynulý se spojovací čarou
- Zobrazí spojovací čáru mezi rámečkem detailu a hranicí detailu. Kromě toho zobrazí rámeček okolo detailů a u modelů zobrazených v detailech nastaví plynulé čáry řezu.
| Použije se u detailů dokumentace modelu. |
Použije se u detailů vytvořených pomocí příkazu AMDETAIL. |
|
|
|
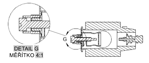
- Klikatý
- U modelů v detailech nastaví klikaté čáry řezu.
| Použije se u detailů dokumentace modelu. |
Použije se u detailů vytvořených pomocí příkazu AMDETAIL. |
|
|
Poznámka: Detailní pohledy vytvořené pomocí příkazu AMDETAIL nepodporují klikaté čáry řezu. Pokud je tato možnost vybrána, výkresové pohledy příkazu AMDETAIL se budou chovat, jako by byla vybrána možnost Plynulý.
|
- Barva čáry
- Nastaví barvu rámečku detailu. Pokud kliknete na možnost Vybrat barvu (v dolní části seznamu barev), zobrazí se dialog Vybrat barvu. Můžete také zadat název nebo číslo barvy.
Poznámka: Pokud vyberete barvu s popiskem „Podle NázevAktuálníNormyKreslení“, barva čáry rámečku detailu bude získána z dialogu Nastavení vlastností objektu. Tato možnost je dostupná pouze u stylů detailů aplikace AutoCAD Mechanical.
- Typ čáry
- Nastaví typ čáry rámečku detailu. Pokud kliknete na tlačítko Další, zobrazí se dialog Vybrat typ čáry.
Poznámka: Pokud vyberete typ čáry s popiskem „Podle NázevAktuálníNormyKreslení“, typ čáry rámečku detailu bude získán z dialogu Nastavení vlastností objektu. Tato možnost je dostupná pouze u stylů detailů aplikace AutoCAD Mechanical.
- Tloušťka čáry
- Nastaví tloušťku čáry rámečku detailu.
Poznámka: Pokud vyberete typ čáry s popiskem „Podle NázevAktuálníNormyKreslení“, tloušťka čáry rámečku detailu bude získána z dialogu Nastavení vlastností objektu. Tato možnost je dostupná pouze u stylů detailů aplikace AutoCAD Mechanical.
Spojovací čára
- Barva čáry
- Nastaví barvu čáry spojující hranici detailu a rámeček detailu. Pokud kliknete na možnost Vybrat barvu (v dolní části seznamu barev), zobrazí se dialog Vybrat barvu. Můžete také zadat název nebo číslo barvy.
Poznámka: Pokud vyberete barvu s popiskem „Podle NázevAktuálníNormyKreslení“, barva spojovací čáry bude získána z dialogu Nastavení vlastností objektu. Tato možnost je dostupná pouze u stylů detailů aplikace AutoCAD Mechanical.
- Typ čáry
- Nastaví typ spojovací čáry. Pokud kliknete na tlačítko Další, zobrazí se dialog Vybrat typ čáry.
Poznámka: Pokud vyberete typ čáry s popiskem „Podle NázevAktuálníNormyKreslení“, typ spojovací čáry bude získán z dialogu Nastavení vlastností objektu. Tato možnost je dostupná pouze u stylů detailů aplikace AutoCAD Mechanical.
- Tloušťka čáry
- Nastaví tloušťku spojovací čáry.
Poznámka: Pokud vyberete typ čáry s popiskem „Podle NázevAktuálníNormyKreslení“, tloušťka spojovací čáry bude získána z dialogu Nastavení vlastností objektu. Tato možnost je dostupná pouze u stylů detailů aplikace AutoCAD Mechanical.
Obnovit výchozí
Vrátí všechny hodnoty na výchozí hodnoty normy kreslení a revize, na které je styl založen. Toto tlačítko se zobrazuje pouze u stylů detailů aplikace AutoCAD Mechanical.