Sie können vorhandene parallele Linear- und Winkelbemaßungen automatisch in einer Zeichnung anpassen, sodass sie gleichmäßige Abstände haben oder an der Maßlinie miteinander ausgerichtet sind.
Der Befehl BEMBASISL verwendet die Systemvariable DIMDLI, um Bemaßungen mit gleichmäßigen Abständen zu erstellen. Sobald die Bemaßungen platziert sind, können Sie den Wert der Systemvariablen ändern, ohne dass sich dies auf den Abstand der Bemaßungen auswirken würde. Wenn Sie die Textgröße ändern oder den Maßstab für die Bemaßungen anpassen, bleiben sie in ihrer ursprünglichen Position. Dies kann Probleme mit überlappenden Bemaßungslinien und -text verursachen.
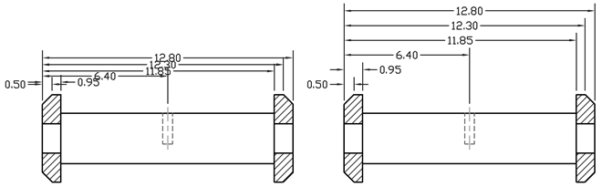
Mit dem Befehl BEMPLATZ können Sie den Abstand von Linear- und Winkelbemaßungen festlegen, die überlappen oder nicht in gleichem Abstand angeordnet sind. Die ausgewählten Bemaßungen müssen Linear- oder Winkelbemaßungen sein, dem selben Typ angehören (gedreht oder ausgerichtet), parallel oder konzentrisch zueinander stehen und sich auf den Hilfslinien der jeweils anderen Bemaßung befinden. Sie können darüber hinaus Linear- und Winkelbemaßungen ausrichten, indem Sie einen Abstandwert von 0 verwenden.
In der folgenden Abbildung werden parallele Linearbemaßungen gezeigt, auf die der Befehl BEMPLATZ angewendet wurde. Einige sind in ungleichmäßigen Abständen zueinander angeordnet, andere in gleichem Abstand.
