Cuando el modelo 3D de origen cambia, las vistas de dibujo de documentación del modelo no reflejan los cambios hasta después de realizar la actualización.
Si la función Actualización automática está activada, (variable de sistema VIEWUPDATEAUTO = 1), las vistas de dibujo se actualizan automáticamente:
Cuando Actualización automática está desactivada, (variable de sistema VIEWUPDATEAUTO = 0), las vistas de dibujo no se actualizan automáticamente. Las vistas de dibujo que necesite actualizar se resaltan con marcadores rojos. Aparece una notificación de globo en la bandeja del sistema para indicar que el modelo se ha modificado. A continuación, debe actualizar de forma explícita las vistas de dibujo obsoletas.

Según el cambio introducido en el modelo de origen, las vistas de dibujo pueden aumentar o disminuir. Existen dos maneras de anclar una vista en un dibujo.

Puede justificar centralmente la vista, de modo que aumente o disminuya con respecto a su centro.

También puede elegir la opción “fija”, que cambia la geometría del modelo para que permanezca en la ubicación en que estaba antes de aplicar la orden de actualización. A menudo, este método es mejor porque provoca menos cambio.
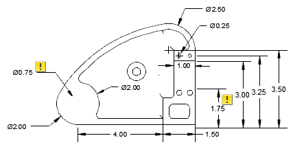
Cuando un evento de actualización elimina una arista a la que está asociada una anotación, tal anotación pierde la asociación. Puede realizar un seguimiento de las anotaciones que han perdido la asociación con la ayuda del monitor de anotación.
El monitor de anotación es un servicio que controla el estado de las anotaciones. Cuando un evento de actualización provoca que las anotaciones pierdan la asociación, aparece una notificación de globo en la que se indica el número de anotaciones afectadas y el icono de la bandeja del monitor de anotación cambia de
a
. Además, el monitor de anotación muestra un distintivo cerca de las anotaciones afectadas.

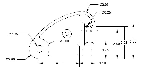
Antes de un evento de actualización

Después de un evento de actualización
Al hacer clic en un distintivo, se abre un menú que contiene las opciones específicas para la anotación disociada correspondiente. Si desactiva el monitor de anotación, los distintivos desaparecen.