Egy meglévő modelldokumentációs rajznézetet szerkeszt.
Ha a szalag aktív, ez a parancs megjeleníti a Rajznézetszerkesztő környezetfüggő szalaglapot. Ha a szalag nem aktív, a parancssorban módosíthatja a szerkeszteni kívánt nézet tulajdonságait.
A következő promptok jelennek meg.
A szerkesztendő rajznézet megadása.
Ábrázolási típusokat ad meg, amelyekkel kiválaszthatja a kiválasztott rajznézetben megjeleníteni kívánt ábrázolásokat. Az ábrázolásokat csak az Inventor-modellek támogatják.
Kiválasztja, melyik tervezői nézet jelenjen meg a kiválasztott rajznézetben. Írja be a ? karaktert az elérhető tervezői nézetek listájának megjelenítéséhez.
Ez a lehetőség csak akkor áll rendelkezésre, ha a kiválasztott rajznézet tervezőinézet-ábrázolásokat tartalmazó Inventor összeállításból (*.iam) lett létrehozva.
Kiválasztja, hogy melyik helyzetábrázolás jelenjen meg a kiválasztott rajznézetben. Írja be a ? karaktert az elérhető ábrázolások listájának megjelenítéséhez.
Ez a lehetőség csak akkor áll rendelkezésre, ha a kiválasztott rajznézet helyzetábrázolásokat tartalmazó Inventor összeállításból (*.iam) lett létrehozva.
Kiválasztja, hogy milyen részletességi szint jelenjen meg a kiválasztott rajznézetben. Írja be a ? karaktert az elérhető ábrázolások listájának megjelenítéséhez.
Ez a lehetőség csak akkor áll rendelkezésre, ha a kiválasztott rajznézet Inventor összeállításból (*.iam) lett létrehozva.
Kiválasztja, hogy melyik hegesztési állapot jelenjen meg a kiválasztott rajznézetben.
Írja be a ? karaktert az előkészítési állapotban lévő hegesztési állapotok és alkotóelemek listájának megjelenítéséhez.
Az Összeállítás állapot a hegesztett szerkezet műveletek előtti helyzetét jeleníti meg. A Hegesztések állapot az összeállítás hegesztés elvégzése utáni állapotát jeleníti meg. A Forgácsolás állapot a hegesztés utáni forgácsolási műveletek után mutatja a hegesztési állapotot (ha vannak ilyenek). Az Előkészítés állapot nem szerepel a listában. A ? opció ugyanakkor megjeleníti a hegesztés előtti előkészítései állapotban lévő alkotóelemek nevét.
A hegesztésábrázolás csak akkor áll rendelkezésre, ha a kiválasztott rajznézet Inventor hegesztett összeállításból (*.iam) lett létrehozva.
Kiválasztja, hogy egy iÖsszeállítás vagy iAlkatrész szerelde mely eleme jelenjen meg a kiválasztott rajznézetben. Írja be a ? karaktert az elérhető elemek listájának megjelenítéséhez.
Ez a lehetőség csak akkor áll rendelkezésre, ha a kiválasztott rajznézet iAssembly szereldéből vagy iPart szereldéből (*.iam, *.ipt) lett létrehozva.
Kiválasztja, hogy melyik lemezalkatrész-nézet jelenjen meg a kiválasztott rajznézetben. Írja be a ? karaktert az elérhető opciók listájának megjelenítéséhez.
Ez a lehetőség csak akkor áll rendelkezésre, ha a kiválasztott rajznézet iAssembly szereldéből vagy iPart szereldéből (*.iam, *.ipt) lett létrehozva.
Kiválasztja, hogy melyik bemutatónézet jelenjen meg a kiválasztott rajznézetben. Írja be a ? karaktert az elérhető nézetek listájának megjelenítéséhez.
Ez a lehetőség csak akkor áll rendelkezésre, ha a kiválasztott rajznézet bemutató dokumentumból (*.ipn) lett létrehozva.
Megadja a bázisnézethez használandó megjelenítési stílust.

Megadja a kiválasztott rajznézethez használandó abszolút léptéket. A lépték megváltoztatásához kiválaszthat egy szabványos léptéket a legördülő listából, vagy közvetlenül megadhat egy nem szabványos léptéket.
A vetített és metszeti nézetek alapértelmezés szerint a szülőjük léptékét öröklik, a részlet nézetek léptéke pedig eggyel lesz nagyobb, mint a szülő nézet léptéke.
A bázisnézethez megadható láthatósági beállításokat határozza meg.
Be- vagy kikapcsolja az áthatási élek láthatóságát. Áthatási élek akkor keletkeznek, amikor egy vagy több szilárdtest metszi egymást. Ha az Áthatási élek láthatósága be van kapcsolva, a program egy vonalat rajzol ott, ahol a szilárdtestek találkoznak.

Be- vagy kikapcsolja az érintő élek láthatóságát. Az érintő élek egy sík felület és egy ívelt él között az átmenetet jelölik, és leggyakrabban lekerekített élekként jelennek meg.

Be- vagy kikapcsolja a lemezhajlítási vonalak kiterjedésének láthatóságát. Ezek a vonalak ábrázolják a lemez kiterített nézetében, hogy hol kell a lemezt meghajlítani.
Ez a lehetőség csak akkor áll rendelkezésre, ha a kapcsolódó modellhez simított lemezalkatrész nézet van meghatározva.
Be- vagy kikapcsolja a menetvonalak láthatóságát a csavarokon és menetes furatokon.
Be- vagy kikapcsolja a bemutatók kimozgatásainak láthatóságát. A bemutató kimozgatásai szétvetett nézetekben lévő vonalak (bemutatófájlban), amelyek jelzik, milyen irányban kell összeilleszteni az egyes alkotóelemeket.
Meghatározza, hogy a metszeti nézet vetítési módszere ortogonális-e.
A metszetvonal mélységét határozza meg.
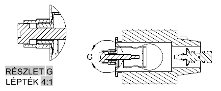
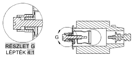
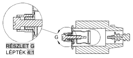
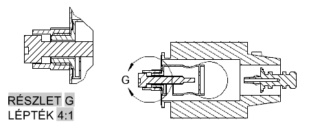
Meghatározza, hogy a részletnézet határvonala körkörös vagy négyszögletes legyen-e. Az alapértelmezett a körkörös határvonal.




Meghatározza, hogy megjelenjen-e a sraffozás a kijelölt metszeti vagy részletnézetben.
Visszaugrik az előző promptra vagy befejezi a parancsot attól függően, hol jelenik meg a parancsciklusban az opció.