기존 모형 문서 도면 뷰를 편집합니다.
리본이 활성 상태이면 이 명령은 도면 뷰 편집기 리본 상황별 탭을 표시합니다. 리본이 활성 상태가 아니면 명령행을 사용하여 편집할 뷰의 특성을 변경합니다.
다음과 같은 프롬프트가 표시됩니다.
편집할 도면 뷰를 지정합니다.
선택한 도면 뷰에 표시할 표현을 선택할 수 있도록 표현 유형을 지정합니다. 표현은 Inventor 모형에서만 지원됩니다.
선택한 도면 뷰에 표시할 설계 뷰 표현을 선택합니다. 사용 가능한 설계 뷰 리스트를 표시하려면 ?를 입력합니다.
이 옵션은 설계 뷰 표현을 포함하는 Inventor 조립품(*.iam)에서 선택한 도면 뷰를 작성하는 경우에만 사용할 수 있습니다.
선택한 도면 뷰에 표시할 위치 표현을 선택합니다. 사용 가능한 표현 리스트를 표시하려면 ?를 입력합니다.
이 옵션은 위치 표현을 포함하는 Inventor 조립품(*.iam)에서 선택한 도면 뷰를 작성하는 경우에만 사용할 수 있습니다.
선택한 도면 뷰에 표시할 세부 수준 표현을 선택합니다. 사용 가능한 표현 리스트를 표시하려면 ?를 입력합니다.
이 옵션은 Inventor 조립품(*.iam)에서 선택한 도면 뷰를 작성하는 경우에만 사용할 수 있습니다.
선택한 도면 뷰에 표시할 용접물 상태를 선택합니다.
용접물 상태 및 준비 상태의 구성요소 리스트를 표시하려면 ?를 입력합니다.
조립품 상태에는 작업을 수행하기 전의 용접물이 표시됩니다. 용접 상태에는 용접을 수행한 후의 조립품이 표시됩니다. 기계가공 상태에는 사후 용접 기계가공을 수행한 후의 용접물이 표시됩니다. 준비 상태는 명시적으로 나열되지 않습니다. 그러나 ? 옵션은 사전 용접 준비 상태의 구성요소 이름을 나열합니다.
용접물 표현은 Inventor 용접물 조립품(*.iam)에서 선택한 도면 뷰를 작성하는 경우에만 사용할 수 있습니다.
선택한 도면 뷰에 표시할 iAssembly 팩토리 또는 iPart 팩토리의 구성원을 선택합니다. 사용 가능한 구성원 리스트를 표시하려면 ?를 입력합니다.
이 옵션은 iAssembly 팩토리 또는 iPart 팩토리(*.iam, *.ipt)에서 선택한 도면 뷰를 작성하는 경우에만 사용할 수 있습니다.
선택한 도면 뷰에 표시할 판금 뷰를 선택합니다. 사용 가능한 옵션 리스트를 표시하려면 ?를 입력합니다.
이 옵션은 iAssembly 팩토리 또는 iPart 팩토리(*.iam, *.ipt)에서 선택한 도면 뷰를 작성하는 경우에만 사용할 수 있습니다.
선택한 도면 뷰에 표시할 프리젠테이션 뷰를 선택합니다. 사용 가능한 뷰 리스트를 표시하려면 ?를 입력합니다.
이 옵션은 Inventor 프리젠테이션 문서(*.ipn)에서 선택한 도면 뷰를 작성하는 경우에만 사용할 수 있습니다.
기준 뷰에 사용할 표시 스타일을 지정합니다.

선택한 도면 뷰에 사용할 절대 축척을 지정합니다. 축척을 변경하려면 드롭다운 리스트에서 표준 축척을 선택하거나 비표준 축척을 직접 입력합니다.
기본적으로 투영된 뷰 및 단면 뷰는 상위 뷰와 같은 축척을 상속합니다. 상세 뷰는 상위 뷰보다 축척이 한 레벨 높습니다.
기준 뷰에 대해 설정할 가시성 옵션을 지정합니다.
모서리 간섭 가시성을 켜거나 끕니다. 한 개 이상의 솔리드 본체가 서로 교차할 때 모서리 간섭이 발생합니다. 모서리 간섭 가시성이 켜진 경우 프로그램은 솔리드 본체와 만나는 곳에 선을 그립니다.

접선 모서리 가시성을 켜거나 끕니다. 접선 모서리는 평평한 표면과 둥근 모서리 간의 변환을 표시하며, 이는 가장 일반적으로 모깎기된 모서리로 표시됩니다.

판금 절곡부 범위 선의 가시성을 켜거나 끕니다. 판금 절곡부 범위 선은 평평한 판금 뷰에서 절곡부가 경첩되거나 접히는 변환 위치를 나타냅니다.
이 옵션은 해당하는 모형에 평평한 판금 뷰가 정의되어 있는 경우에만 사용할 수 있습니다.
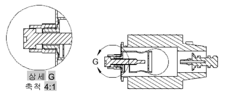
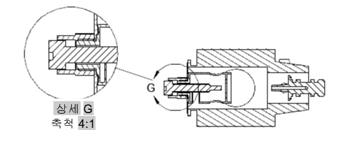
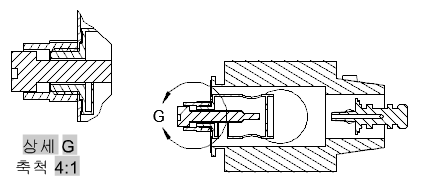
스크루 및 탭 구멍에 대한 스레드 선 가시성을 켜거나 끕니다.
프리젠테이션 트레일 가시성을 켜거나 끕니다. 프리젠테이션 트레일은 구성요소가 조립된 위치로 이동하는 방향을 표시하는 분해된 뷰의 선(프리젠테이션 파일)입니다.
단면 뷰의 투영된 방법이 직교인지를 지정합니다.
단면 선의 깊이를 지정합니다.
상세 뷰 경계가 원형인지 직사각형인지를 지정합니다. 기본 경계는 원형입니다.




선택한 단면 뷰 또는 상세 뷰에서 해치를 표시할지 여부를 지정합니다.
명령 주기에서 옵션이 나타나는 위치에 따라 이전 프롬프트로 돌아가거나 명령을 완료합니다.