연결구 지정 정보

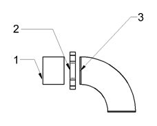
AutoCAD MEP에서는 파이프 부속 또는 세그먼트에 대한 연결구를 결정하고 파이프 부품 라우팅 기본 설정에 지정된 대로 적절한 접합을 추가합니다. 추가할 수 있는 접합 수는 연결 유형에 따라 다릅니다. 다음 그림에서는 파이프 세그먼트와 부속을 보여 줍니다. 접합 수는 다음과 같은 방식으로 결정됩니다.

파이프 세그먼트(1번)는 암 그루빙 커플링(2번)에서 연결 유형을 상속합니다. 엘보 부속(3번)의 연결구는 라우팅 기본 설정에 지정된 것처럼 암 그루빙 커플링(2번)에서 연결 유형을 상속합니다.