상세도의 상세 경계선, 모형 모서리 및 연결선에 대한 특성을 설정합니다.
옵션 리스트
다음 옵션이 표시됩니다.
경계선
- 선 색상
- 상세 경계선의 색상을 설정합니다. 색상 리스트 아래쪽에 있는 색상 선택을 클릭하면 색상 선택 대화상자가 표시됩니다. 또한 색상 이름 또는 번호를 입력할 수 있습니다.
주: 레이블이 "NameOfCurrentDraftingStandard에 따라"인 색상을 선택한 경우 상세 경계선 색상을 객체 특성 설정 대화상자에서 가져옵니다. 이 옵션은 AutoCAD Mechanical 상세도 스타일에만 사용할 수 있습니다.
- 선종류
- 상세 경계선의 선종류를 설정합니다. 기타를 클릭하는 경우 선종류 선택 대화상자가 표시됩니다.
주: "NameOfCurrentDraftingStandard에 따라" 레이블이 지정된 선종류를 선택하면 객체 특성 설정 대화상자에서 선종류를 가져옵니다. 이 옵션은 AutoCAD Mechanical 상세도 스타일에만 사용할 수 있습니다.
- 선가중치
- 상세 경계의 선가중치를 설정합니다.
주: 레이블이 "NameOfCurrentDraftingStandard에 따라"인 선가중치를 선택한 경우 상세 경계 선가중치를 객체 특성 설정 대화상자에서 가져옵니다. 이 옵션은 AutoCAD Mechanical 상세도 스타일에만 사용할 수 있습니다.
모형 모서리
- 부드러움
- 상세도에서 모형의 절단선을 부드럽게 설정합니다.
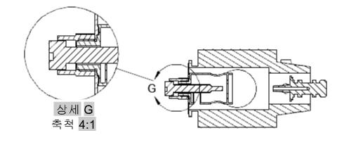
| 모형 문서 상세도에 적용됩니다. |
AMDETAIL 상세도에 적용됩니다. |
|
|
|
- 경계를 사용하여 부드럽게하기
- 상세도 주위에 경계를 표시하고 상세도에 표시된 모형의 절단선을 부드럽게 설정합니다.
| 모형 문서 상세도에 적용됩니다. |
AMDETAIL 상세도에 적용됩니다. |
|
|
|
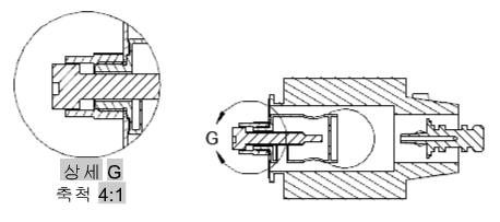
- 연결선을 사용하여 부드럽게하기
- 상세도 경계와 상세도 경계 사이의 연결선을 표시합니다. 또한 상세도 주위에 경계를 표시하고 상세도에 표시된 모형의 절단선을 부드럽게 설정합니다.
| 모형 문서 상세도에 적용됩니다. |
AMDETAIL 상세도에 적용됩니다. |
|
|
|
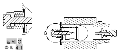
- 톱니 모양
- 상세도에서 모형의 절단선을 톱니 모양으로 설정합니다.
| 모형 문서 상세도에 적용됩니다. |
AMDETAIL 상세도에 적용됩니다. |
|
|
주: AMDETAIL 상세도는 톱니 모양 절단선을 지원하지 않습니다. 이 옵션을 선택한 경우 AMDETAIL 도면 뷰는 부드러움 옵션이 선택된 것처럼 동작합니다.
|
- 선 색상
- 상세도 경계의 색상을 설정합니다. 색상 리스트 아래쪽에 있는 색상 선택을 클릭하면 색상 선택 대화상자가 표시됩니다. 또한 색상 이름 또는 번호를 입력할 수 있습니다.
주: 레이블이 "NameOfCurrentDraftingStandard에 따라"인 색상을 선택한 경우 상세도 경계선 색상을 객체 특성 설정 대화상자에서 가져옵니다. 이 옵션은 AutoCAD Mechanical 상세도 스타일에만 사용할 수 있습니다.
- 선종류
- 상세도 경계의 선종류를 설정합니다. 기타를 클릭하는 경우 선종류 선택 대화상자가 표시됩니다.
주: 레이블이 "NameOfCurrentDraftingStandard에 따라"인 선종류를 선택한 경우 상세도 경계 선종류를 객체 특성 설정 대화상자에서 가져옵니다. 이 옵션은 AutoCAD Mechanical 상세도 스타일에만 사용할 수 있습니다.
- 선가중치
- 상세도 경계의 선가중치를 설정합니다.
주: 레이블이 "NameOfCurrentDraftingStandard에 따라"인 선종류를 선택한 경우 상세도 경계 선가중치를 객체 특성 설정 대화상자에서 가져옵니다. 이 옵션은 AutoCAD Mechanical 상세도 스타일에만 사용할 수 있습니다.
연결선
- 선 색상
- 상세도 경계를 상세도 경계에 연결하는 선의 색상을 설정합니다. 색상 리스트 아래쪽에 있는 색상 선택을 클릭하면 색상 선택 대화상자가 표시됩니다. 또한 색상 이름 또는 번호를 입력할 수 있습니다.
주: 레이블이 "NameOfCurrentDraftingStandard에 따라"인 색상을 선택한 경우 연결선 색상을 객체 특성 설정 대화상자에서 가져옵니다. 이 옵션은 AutoCAD Mechanical 상세도 스타일에만 사용할 수 있습니다.
- 선종류
- 연결선의 선종류를 설정합니다. 기타를 클릭하는 경우 선종류 선택 대화상자가 표시됩니다.
주: 레이블이 "NameOfCurrentDraftingStandard에 따라"인 선종류를 선택한 경우 연결선 선종류를 객체 특성 설정 대화상자에서 가져옵니다. 이 옵션은 AutoCAD Mechanical 상세도 스타일에만 사용할 수 있습니다.
- 선가중치
- 연결선의 선가중치를 설정합니다.
주: 레이블이 "NameOfCurrentDraftingStandard에 따라"인 선종류를 선택한 경우 연결선 선가중치를 객체 특성 설정 대화상자에서 가져옵니다. 이 옵션은 AutoCAD Mechanical 상세도 스타일에만 사용할 수 있습니다.
기본값 복원
모든 값을 스타일의 기준이 되는 제도 표준 및 리비전의 기본값으로 되돌립니다. 이 버튼은 AutoCAD Mechanical 상세도 스타일에 대해서만 표시됩니다.