W przypadku zmodyfikowania źródłowego modelu 3D widoki rysunku nie odzwierciedlają zmian, dopóki nie zostaną zaktualizowane.
Gdy automatyczna aktualizacja jest włączona (zmienna systemowa VIEWUPDATEAUTO = 1), widoki rysunku są aktualizowane automatycznie:
Gdy automatyczne aktualizowanie jest wyłączone (zmienna systemowa VIEWUPDATEAUTO = 0), widoki rysunku nie są aktualizowane automatycznie. Widoki rysunku wymagające zaktualizowania są wyróżniane czerwonymi znacznikami. W obszarze powiadomień o kolejnych pozycjach pojawia się powiadomienie opatrzone informacją o tym, że model został zmieniony. Następnie należy ręcznie zaktualizować nieaktualne widoki rysunku.

W zależności od typu zmiany w modelu źródłowym widoki rysunku mogą zostać powiększone lub pomniejszone. Istnieją dwa sposoby zakotwiczenia widoku w rysunku.

Można wybrać wyrównanie widoku do środka, tak aby widok był powiększany lub pomniejszany wokół środka.

Można również wybrać opcję „Unieruchomienie“, która wymusza pozostanie niezmienionej geometrii modelu w tym samym położeniu, co przed operacją aktualizacji. Zazwyczaj jest to preferowane ze względu na mniejsze przesunięcia.
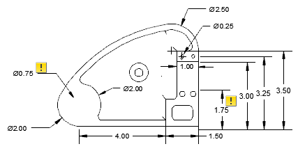
Jeśli zdarzenie aktualizacji usuwa krawędź, do której dołączony jest opis, traci on zespolenie. Opisy, które tracą zespolenie, można śledzić za pomocą Monitora opisu.
Monitor opisu to usługa, która umożliwia monitorowanie stanu (kondycji) opisów. Jeśli zdarzenia aktualizacji powoduje, że opisy tracą zespolenie, w powiadomieniu dymkowym wskazywana jest liczba tych opisów, a w obszarze powiadomień ikona Monitora opisu zmienia się z
na
. Ponadto Monitor opisu wyświetli identyfikator w pobliżu odpowiednich opisów.

Przed zdarzeniem aktualizacji

Po zdarzeniu aktualizacji
Kliknięcie identyfikatora powoduje wyświetlenie menu zawierającego opcje właściwe dla odpowiedniego odłączonego opisu. W przypadku wyłączenia Monitora opisu identyfikatory znikną.