W rysunku można automatycznie dostosować istniejące wymiary liniowe i kątowe, tak aby były równomiernie oddalone lub wyrównane względem linii wymiaru.
Polecenie WYMBAZA korzysta ze zmiennej systemowej DIMDLI podczas tworzenia równomiernie rozmieszczonych wymiarów, ale gdy wymiary zostaną umieszczone, zmiana wartości zmiennej nie wpływa na odstępy między wymiarami. W przypadku zmiany rozmiaru tekstu lub skali wymiarów wymiary pozostaną w początkowych położeniach, co może spowodować nakładanie linii i tekstów wymiarowych.
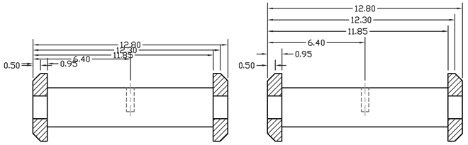
Za pomocą polecenia PRZESTRZWYM można rozmieścić nakładające się lub nierównomiernie rozmieszczone wymiary liniowe lub kątowe. Zaznaczone wymiary muszą być wymiarami liniowymi lub kątowymi tego samego typu (obrócone lub wyrównane), równoległymi lub koncentrycznymi i na tych samych liniach pomocniczych. Wymiary liniowe i kątowe można także wyrównać, używając wartości odstępu równej 0.
Na poniższej ilustracji przedstawiono równoległe wymiary liniowe, które nie są równomiernie rozłożone, a następnie te same wymiary równomiernie rozłożone w wyniku użycia polecenia PRZESTRZWYM.
