Symbole spoin to opisy charakterystyczne dla danego widoku. Są one wyświetlane tylko w widokach, do których zostały dodane.
- Kliknij kolejno kartę Opis
panel Symbol
(Symbol).
- W polu Wybór typu wybierz odpowiedni symbol spoiny.
Można umieścić następujące rodzaje symboli spoin:
- Pachwinowa
- 1/2 V ze stromym brzegiem
- Czołowa 1/2 V
- V
- Tył
- Czołowa V o stromych brzegach
- J
- Gniazdo
- Kwadrat
- U
- Kliknij obszar rysunku w miejscu, w którym ma być umieszczony symbol.
- Kliknij opcję Zmień, a następnie wybierz symbol spoiny.
- Na palecie Właściwości określ odpowiednie właściwości symbolu spoiny.
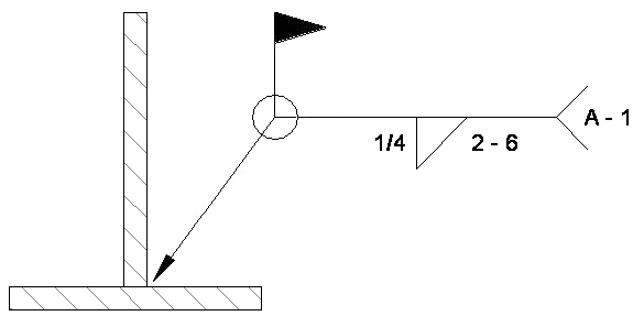
Można określić następujące właściwości symboli spoin:
- Typ, rozmiar i długość symbolu górnego
- Typ, rozmiar i długość symbolu dolnego
- Typ symbolu warstwic
- Konfiguracja linii odniesienia
- Wyświetlanie końca i opisu końca
- Wyświetlanie symbolu spoiny na całym obwodzie i spoiny powierzchniowej
- Lewa lub prawa orientacja symbolu
Po wybraniu symbolu spoiny i kliknięciu odpowiedniej niebieskiej wartości tekstowej można edytować różne parametry symbolu. Wprowadź żądaną wartość w polu edycyjnym i naciśnij klawisz Enter.
Można również utworzyć rodzinę symboli spoin w Edytorze rodzin i wczytać ją do projektu. Aby utworzyć rodzinę symboli spoin, użyj szablonu Opisy ogólne. Podczas tworzenia rodziny symboli spoin można zauważyć, że jest ona widoczna tylko w jednym widoku. Tak jak opisy, jest ona charakterystyczna dla widoku.