在主圆柱末端或喷嘴上定义头部之后,即可将多个喷嘴添加到头部。激活“在头部上包含喷嘴”复选框,然后单击“头部的喷嘴”按钮。这将显示“头部的喷嘴”对话框。
头部的喷嘴下拉菜单将显示选定喷嘴的输入。单击“添加喷嘴”按钮可将另一个喷嘴添加到头部。单击“移除喷嘴”按钮可删除当前选定喷嘴。复制喷嘴按钮将在容器具有类似喷嘴时复制现有喷嘴;简单地更改使重复喷嘴唯一的参数。
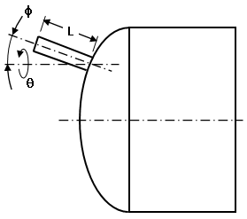
通过以下说明,头部喷嘴的输入便一目了然:
 
图 1:锥形喷嘴
关键要点:
D = 喷嘴直径(用户输入)
De = 头部交点处的直径
L = 喷嘴长度(用户输入)
α = 倾斜角(用户输入)。Tan(α) = (De - D)/2/L
请参见图 2,了解定位喷嘴的值定义。
| 
 头部端视图 为清楚起见,不显示喷嘴 | 
 横截面视图 基于实际头部的喷嘴交点。 | 
| 
 横截面视图 基于平头的喷嘴交点。仅创建超过实际头部的喷嘴部分。 | |
| 图 2:定位头部的喷嘴 | |
关键要点:
OA = 偏移角度
OD = 偏移距离
L = 喷嘴长度
φ = Phi 角度
ϑ = Theta 角度。
如果要创建块体模型,则可在“厚度”选项卡中指定每个部件或喷嘴的厚度。(对于板/壳网格,每个区域的厚度均在“单元定义”下的“FEA 编辑器”中指定。)