設定衝突規則

使用忽略衝突規則可忽略衝突項目的某些組合,從而減少衝突結果數。「Clash Detective」工具包括預設衝突規則和可用於建立自訂衝突規則的衝突規則樣板。

預設衝突規則

系統內建了以下忽略衝突規則:

  • 「在同一圖層中的項目」- 在結果中不報告被發現有衝突且位於同一圖層的任何項目。例如,如果您想要忽略 Revit 檔案 (2014 版本或更高版本) 中在同一層級的衝突,此選項非常有用。在「選集樹」中,圖層或層級由 圖示表示。
  • 「在同一群組/圖塊/儲存格中的項目」- 在結果中不報告發現有衝突且位於同一群組 (或插入的圖塊) 的任何項目,如 AutoCAD 的圖塊定義或 MicroStation 中的儲存格定義。在「選集樹」中,群組、圖塊和儲存格由 圖示表示。
  • 「在同一檔案中的項目」- 在結果中不報告發現有衝突且位於同一檔案 (外部參考檔案或附加檔案) 中的任何項目。如果模型中包含多個 CAD 檔案,則使用此選項可讓您僅搜尋不同檔案之間的衝突。
  • 「在同一複合物件中的項目」- 在結果中不報告發現有衝突且属於同一複合物件 (由一組幾何圖形項目表示的單一 CAD 物件) 的任何項目。複合物件 () 是在「選集樹」中被視為單一物件的一組幾何圖形。例如,一個視窗物件可能由一個框架和一個窗格組成,或空心牆可能由多個圖層組成。此規則確保會忽略自交的 CAD 物件。在此情況下,該視窗窗格和框架可能塑型,以使零件互相接觸或重疊。此規則會忽略兩者之間的衝突。
  • 註: 您可以選擇在衝突結果中包括複合物件。請參閱〈「選取」頁籤〉。
  • 「在先前找到的複合物件中的項目」- 在結果中不報告發現有衝突且属於先前已在測試中報告的複合物件的任何項目。例如,當同一對複合物件之間存在衝突時,它們將被視為單一衝突,因此僅報告一次衝突。其他衝突將被忽略。「忽略同一複合物件中的項目」將忽略單一物件的零件之間的衝突,這會忽略多個不同複合物件之間的衝突。這有助於減少誤報。此規則的一個範例是經過牆的管。選取此選項後,衝突僅會計為一次,而不是將牆的任一側的衝突都計為獨立的衝突。
  • 「具有重合鎖點的項目」- 在結果中不報告發現有衝突且鎖點重合的任何項目,例如在中心線的末端處,具有重合鎖點的管路和配件。Autodesk Navisworks 會將圓柱繪製為一系列三角形,以改善效能 (嘗試使用「隱藏線」模式,以查看如何繪製)。根據圓柱的刻面係數,某些三角形可能會相互衝突,即使該管或配件會配合良好 (如果繪製為全圓形)。

規則樣板

您亦可建立自己的忽略規則。以下規則樣板可用 (除了預設衝突規則):

  • 「隔熱層厚度」- 在結果中不報告發現有衝突且其間隙值大於指定隔熱層厚度的任何報告。此規則應使用間隙測試。

    如果您有需要特定隔熱層厚度的管,則您可能想要對該管執行間隙測試,以便將間隙公差設定為所需的隔熱層厚度。這會識別管的周圍沒有足夠間隙來安裝隔熱層的任何區域。

    如果您有各種管,它們都需要不同的隔熱層厚度,則可以設置一個具有最大所需公差的測試 (即假設所有管需要最大的隔熱層厚度),而非為每個厚度設置單獨的間隙測試。然後,可以套用該規則,以忽略錯誤識別的任何衝突,因為其實際隔熱層厚度小於所使用的最大間隙。

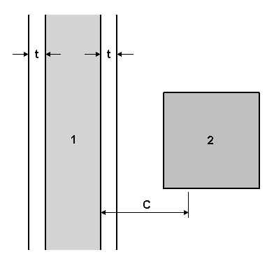
    如需在何處套用該忽略規則的範例,請參閱下面的圖表:

    1 隔熱層厚度為 TC 為目前模型中任意位置所需的最大間隙 (最厚的隔熱層)。在結果中將不報告與管距離介於 TC 之間的任何項目 (2)。

  • 同一性資值 - 在結果中將不報告發 有衝突且共用特定性質值的任何項目。在同一性質上儲存資訊時,可以使用此樣板。
  • 同一選集 - 在結果中不報告發現 衝突且內包在同一選集內的任何項目。
  • 指定的選集 - 在結果中將不報告發 有衝突且內包在兩個指定選集內的任何項目。
  • 具有同一值的指定性質 - 在結果中將不報告發 有衝突且共用同一值,但該值属於兩個不同性質的任何項目。這是新的規則樣板。此規則還可讓您在任何父系物件上搜尋性質。例如,管末端的墊圈已註冊為泵噴嘴的衝突。應將這些項目連接在一起。墊圈本身沒有直接貼附任何性質以識別應該將其貼附至泵噴嘴;但是墊圈的父系物件正好相反。如果您使用此樣板,則衝突測試會忽略這兩個項目之間的衝突。

衝突規則的用法範例

以下範例展示了結合使用衝突規則的優勢:

  • 如果您在模型中使用由數個圖層 (外牆、隔熱層、內牆、灰泥板) 組成的空心牆時,則可以使用「同一複合物件中的項目」規則來減少接觸牆產生的衝突,並使用「在先前找到的複合物件對中的項目」規則,以將與牆之間的所有衝突計為單一衝突而非四個衝突。
  • 如果您正在執行檢查具有配件的管路,則您可以使用「具有重合點鎖的項目」「在先前找到的複合物件對中的項目」規則,以減少所報告的裝置與管之間以及與內部的衝突。
  • 如果您要檢查管和結構之間的主要衝突,則使用「同一檔案的項目」「在先前找到的複合物件對中的項目」規則,以避免在相同定律的檔案中檢查衝突,並在一個定律與數個零件組成的複合物件相交時僅報告單一衝突結果。