Erstellt eine detaillierte Teilansicht einer Modelldokumentations-Zeichnungsansicht.
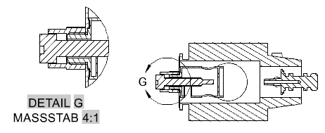
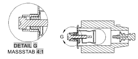
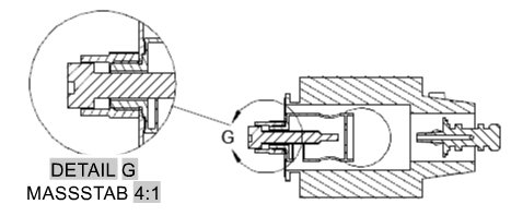
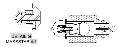
Eine Detailansicht ist eine Zeichnungsansicht, die einen Teil einer anderen Zeichnungsansicht enthält und vergrößert dargestellt wird. Sie können eine kreisförmige oder eine rechteckige Detailansicht erstellen. Dieser Befehl wird nur im Layout unterstützt, und Sie benötigen eine Zeichnungsansicht.
Die folgenden Aufforderungen werden angezeigt:
Legt eine Ansicht fest, von der die Detailansicht übernommen wird.
Legt den Mittelpunkt für die Umgrenzung der Detailansicht auf der übergeordneten Ansicht fest.
Diese Gruppe ist nur sichtbar, wenn eine Detailansicht aus einem Inventor-Modell erstellt wurde. Beim Erstellen von Detailansichten können Sie nur die Werte für die Detailansicht bearbeiten.
Legt die Anzeigeoptionen für die Detailansicht fest.

Legt den Maßstab der Detailansicht fest. Vorgabemäßig ist der Maßstab der Detailansicht doppelt so groß wie derjenige der übergeordneten Ansicht, oder der Maßstab entspricht dem nächstgrößeren Wert in der Liste Maßstab in der Gruppe Darstellung auf der Multifunktionsleiste.
Gibt die Sichtbarkeitsoptionen an, die für die Detailansicht festgelegt werden sollen. Objektsichtbarkeitsoptionen sind modellspezifisch, und einige Optionen sind im ausgewählten Modell und in der vom Modell erstellten Ansicht möglicherweise nicht verfügbar.
Aktiviert bzw. deaktiviert die Sichtbarkeit von Überlagernden Kanten. Überlagernde Kanten treten auf, wenn ein oder mehrere Volumenkörper sich überschneiden. Wenn die Sichtbarkeit von überlagernden Kanten aktiviert ist, zeichnet das Programm eine Linie, bei der sich die Volumenkörper treffen.

Aktiviert bzw. deaktiviert die Sichtbarkeit von tangentialen Kanten. Tangentiale Kanten markieren den Übergang zwischen einer ebenen Fläche und einer abgerundeten Kante, der am häufigsten als gerundete Kanten angezeigt wird.

Aktiviert bzw. deaktiviert die Sichtbarkeit der Blechbiegungsenden. Blechbiegungsendlinien geben die Position des Übergangs, in dem sich eine Biegung dreht oder abknickt, in einer abgewickelten Blechansicht an.
Diese Option ist nur verfügbar, wenn für das entsprechende Modell eine abgeflachte Blechansicht definiert wurde.
Aktiviert bzw. deaktiviert die Sichtbarkeit von Gewindelinien auf Schrauben und Gewindebohrungen.
Aktiviert bzw. deaktiviert die Sichtbarkeit von Präsentationspfaden. Präsentationspfade sind Linien in einer Explosionsansicht (in einer Präsentationsdatei), die die Richtung anzeigen, in die Komponenten in die Zusammenbauposition verschoben werden.
Gibt den Umgrenzungstyp der Detailansicht an.
Wenn Abhängigkeiten ableiten aktiviert ist, wird die Mitte der kreisförmigen Detailumgrenzung mit einem Punkt in der übergeordneten Ansicht verknüpft. Wenn Abhängigkeiten ableiten deaktiviert ist, wird die Mitte der kreisförmigen Detailumgrenzung mit keinem Punkt in der übergeordneten Ansicht verknüpft.
Wenn Abhängigkeiten ableiten aktiviert ist, wird die Ecke der rechteckigen Detailumgrenzung mit einem Punkt in der übergeordneten Ansicht verknüpft. Wenn Abhängigkeiten ableiten deaktiviert ist, wird die Ecke des rechteckigen Detailumgrenzung mit keinem Punkt in der übergeordneten Ansicht verknüpft.
Das Programm bestimmt immer anhand der Zeichnung die nächste freie Detailbezeichnung.
Gibt an, ob die Detailansichtsbezeichnung angezeigt wird oder nicht




Gibt die Bezeichnung für die Detailumgrenzung und die resultierende Detailansicht an
Gibt an, ob der Beschriftungstext für die Detailansicht angezeigt wird
Verschiebt die Detailansicht, nachdem sie im Zeichenbereich platziert wurde, ohne dass Sie den Befehl beenden müssen.
Kehrt zurück zur vorherigen Eingabeaufforderung oder beendet den Befehl, je nachdem, an welcher Stelle im Befehlszyklus die Option angezeigt wird.