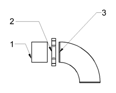
AutoCAD MEP bestimmt die Verbinder auf einem Rohrformstück oder Segment und fügt die entsprechenden Verbindungen wie in den Rohrbauteil-Routing-Voreinstellungen festgelegt ein. Die Anzahl der von der Software hinzugefügten Verbindungen hängt vom Verbindungstyp ab. In der Abbildung sehen Sie ein Rohrsegment und Formstücke. Die Software bestimmt die Anzahl der Verbindungen wie folgt:

Das Rohrsegment (1) übernimmt den Verbindungstyp von der endgenuteten Aufnahmestück-Kupplung (2). Der Verbinder auf dem Bogenformstück (3) übernimmt den Verbindungstyp von der endgenuteten Aufnahmestück-Kupplung (2) wie in den Routing-Voreinstellungen festgelegt.