Legt die Eigenschaften für die Detailumgrenzungslinie, die Modellkante und die Verbindungslinie von Detailansichten fest.
Liste der Optionen
Folgende Optionen werden angezeigt.
Umgrenzungslinie
- Linienfarbe
- Legt die Farbe für die Detailumgrenzungslinie fest. Wenn Sie auf Farbe wählen (unten in der Farbliste) klicken, wird das Dialogfeld Farbe wählen angezeigt. Sie können auch einen Farbnamen oder eine Farbnummer eingeben.
Anmerkung: Wenn Sie die Farbe mit der Beschriftung "Nach NameDerAktuellenZeichnungsnorm" wählen, wird die Farbe der Detailumgrenzungslinie von den Einstellungen im Dialogfeld Einstellungen für Objekteigenschaften übernommen. Diese Option ist nur bei AutoCAD Mechanical-Detailansichtsstilen verfügbar.
- Linientyp
- Legt den Linientyp der Detailumgrenzungslinie fest. Wenn Sie auf Andere klicken, wird das Dialogfeld Linientyp wählen angezeigt.
Anmerkung: Wenn Sie den Linientyp mit der Beschriftung "Nach NameDerAktuellenZeichnungsnorm" wählen, wird der Linientyp aus dem Dialogfeld Einstellungen für Objekteigenschaften übernommen. Diese Option ist nur bei AutoCAD Mechanical-Detailansichtsstilen verfügbar.
- Linienstärke
- Legt die Linienstärke der Detailumgrenzung fest.
Anmerkung: Wenn Sie die Linienstärke mit der Beschriftung "Nach NameDerAktuellenZeichnungsnorm" wählen, wird die Linienstärke der Detailumgrenzung von den Einstellungen im Dialogfeld Einstellungen für Objekteigenschaften übernommen. Diese Option ist nur bei AutoCAD Mechanical-Detailansichtsstilen verfügbar.
Modellkante
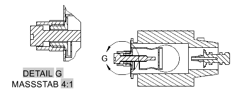
- Glatt
- Legt fest, dass die Schnittlinien der Modelle in Detailansichten glatt sind.
| Gilt für Modelldokumentation-Detailansichten. |
Gilt für AMDETAIL-Detailansichten. |
|
|
|
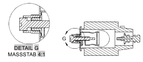
- Glatt mit Rahmen
- Zeigt einen Rahmen um Detailansichten an und legt fest, dass die in Detailansichten angezeigten Schnittlinien der Modelle glatt sind.
| Gilt für Modelldokumentation-Detailansichten. |
Gilt für AMDETAIL-Detailansichten. |
|
|
|
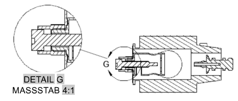
- Glatt mit Verbindungslinie
- Zeigt eine Verbindungslinie zwischen dem Detailrahmen und der Umgrenzung der Detailansicht an. Zeigt darüber hinaus einen Rahmen um Detailansichten an und legt fest, dass die in Detailansichten angezeigten Schnittlinien der Modelle glatt sind.
| Gilt für Modelldokumentation-Detailansichten. |
Gilt für AMDETAIL-Detailansichten. |
|
|
|
- Gezackt
- Legt fest, dass die Schnittlinien der Modelle in Detailansichten gezackt sind.
| Gilt für Modelldokumentation-Detailansichten. |
Gilt für AMDETAIL-Detailansichten. |
|
|
Anmerkung: AMDETAIL-Detailansichten unterstützen keine gezackten Schnittlinien. Wenn diese Option aktiviert ist, verhalten sich AMDETAIL-Zeichnungsansichten, als ob die Option "Glatt" aktiviert ist.
|
- Linienfarbe
- Legt die Farbe des Detailrahmens fest. Wenn Sie auf Farbe wählen (unten in der Farbliste) klicken, wird das Dialogfeld Farbe wählen angezeigt. Sie können auch einen Farbnamen oder eine Farbnummer eingeben.
Anmerkung: Wenn Sie die Farbe mit der Beschriftung "Nach NameDerAktuellenZeichnungsnorm" wählen, wird die Farbe der Detailrahmenlinie von den Einstellungen im Dialogfeld Einstellungen für Objekteigenschaften übernommen. Diese Option ist nur bei AutoCAD Mechanical-Detailansichtsstilen verfügbar.
- Linientyp
- Legt den Linientyp für den Detailrahmen fest. Wenn Sie auf Andere klicken, wird das Dialogfeld Linientyp wählen angezeigt.
Anmerkung: Wenn Sie den Linientyp mit der Beschriftung "Nach NameDerAktuellenZeichnungsnorm" wählen, wird der Linientyp des Detailrahmens von den Einstellungen im Dialogfeld Einstellungen für Objekteigenschaften übernommen. Diese Option ist nur bei AutoCAD Mechanical-Detailansichtsstilen verfügbar.
- Linienstärke
- Legt die Linienstärke des Detailansichtsrahmens fest.
Anmerkung: Wenn Sie den Linientyp mit der Beschriftung "Nach NameDerAktuellenZeichnungsnorm" wählen, wird die Linienstärke des Detailrahmens von den Einstellungen im Dialogfeld Einstellungen für Objekteigenschaften übernommen. Diese Option ist nur bei AutoCAD Mechanical-Detailansichtsstilen verfügbar.
Verbindungslinie
- Linienfarbe
- Legt die Farbe für die Linie fest, die den Detailrahmen mit der Umgrenzung der Detailansicht verbindet. Wenn Sie auf Farbe wählen (unten in der Farbliste) klicken, wird das Dialogfeld Farbe wählen angezeigt. Sie können auch einen Farbnamen oder eine Farbnummer eingeben.
Anmerkung: Wenn Sie die Farbe mit der Beschriftung "Nach NameDerAktuellenZeichnungsnorm" wählen, wird die Farbe der Verbindungslinie von den Einstellungen im Dialogfeld Einstellungen für Objekteigenschaften übernommen. Diese Option ist nur bei AutoCAD Mechanical-Detailansichtsstilen verfügbar.
- Linientyp
- Legt den Linientyp der Verbindungslinie fest. Wenn Sie auf Andere klicken, wird das Dialogfeld Linientyp wählen angezeigt.
Anmerkung: Wenn Sie den Linientyp mit der Beschriftung "Nach NameDerAktuellenZeichnungsnorm" wählen, wird der Linientyp der Verbindungslinie von den Einstellungen im Dialogfeld Einstellungen für Objekteigenschaften übernommen. Diese Option ist nur bei AutoCAD Mechanical-Detailansichtsstilen verfügbar.
- Linienstärke
- Legt die Linienstärke der Verbindungslinie fest.
Anmerkung: Wenn Sie den Linientyp mit der Beschriftung "Nach NameDerAktuellenZeichnungsnorm" wählen, wird die Linienstärke der Verbindungslinie von den Einstellungen im Dialogfeld Einstellungen für Objekteigenschaften übernommen. Diese Option ist nur bei AutoCAD Mechanical-Detailansichtsstilen verfügbar.
Vorgaben wiederherstellen
Setzt alle Werte auf die Vorgabewerte für die Zeichnungsnorm und die Revision zurück, auf denen der Stil beruht. Diese Schaltfläche ist nur bei AutoCAD Mechanical-Detailansichtsstilen verfügbar.