Düsen am Kopf

Nachdem ein Kopf entweder am Ende des Hauptzylinders oder an einer Düse definiert wurde, können dem Kopf mehrere Düsen hinzugefügt werden. Aktivieren Sie das Kontrollkästchen Düsen an Kopf einbeziehen, und klicken Sie auf die Schaltfläche Düsen am Kopf. Daraufhin wird das Dialogfeld Düsen am Kopf angezeigt.

In der Dropdown-Liste Düsen am Kopf wird die Eingabe für die ausgewählte Düse angezeigt. Klicken Sie auf die Schaltfläche Düse hinzufügen, um dem Kopf eine weitere Düse hinzuzufügen. Klicken Sie auf die Schaltfläche Düse entfernen, um die aktuell ausgewählte Düse zu löschen. Mit der Schaltfläche Düse duplizieren wird eine Kopie der vorhandenen Düse erstellt, falls der Behälter über ähnliche Düsen verfügt. Ändern Sie einfach die Parameter, um die kopierte Düse eindeutig zu definieren.

Folgendes dient zur Verdeutlichung der größtenteils selbsterklärenden Eingabe für Düsen an Köpfen:

Registerkarte Geometrie

Registerkarte Position

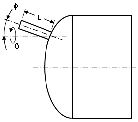
Eine Definition der Werte zur Positionierung der Düse finden Sie in Abbildung 2.

Endansicht des Kopfes

Düse wird zur besseren Übersichtlichkeit nicht angezeigt.

Querschnittansicht

Düsenschnittpunkt basierend auf tatsächlichem Kopf.

 

Querschnittansicht

Düsenschnittpunkt basierend auf flachem Kopf. Es wird nur der Teil der Düse hinter dem tatsächlichen Kopf erstellt.

Abbildung 2: Positionieren einer Düse auf einem Kopf

Legende:

OA = Versatzwinkel
OD = Versatzabstand
L = Länge der Düse
φ = Winkel Phi
ϑ = Winkel Theta

Registerkarte Dicke

Wenn Sie ein Ziegelmodell erstellen, kann die Dicke der einzelnen Bauteile oder der Düse auf der Registerkarte Dicke festgelegt werden. (Für Schalen/Hüllen-Netze wird die Dicke der einzelnen Bereiche im FEM-Editor unter der Elementdefinition angegeben.)

Anmerkung: PVDesigner zeigt nicht die Dicke der Teile im Netz an. Die Dicke wird in Autodesk Simulation angezeigt, nachdem Sie PVDesigner beendet haben.