Crea una vista de detalle de una parte de una vista de dibujo de la documentación del modelo.
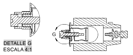
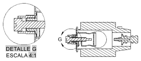
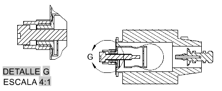
Una vista de detalle es un dibujo que contiene una parte de otra vista de dibujo y se amplía a una escala mayor. La vista de detalle puede tener forma circular o rectangular. Este comando solo se admite en la presentación y debe disponer de una vista de dibujo.
Se muestran las siguientes solicitudes.
Especifica una vista a partir de la cual desea derivar la vista de detalle.
Especifica el centro del principal para el contorno de la vista de detalle.
Este grupo solo está visible cuando se ha creado una vista de detalle a partir de un modelo de Inventor. Al crear vistas de detalle, sólo se pueden editar los valores de la vista de diseño.
Especifica las opciones de visualización para la vista de detalle.

Especifica la escala de la vista de detalle. Por defecto, la escala de la vista de detalle es el doble de la vista padre o el siguiente valor más alto en la lista Escala del grupo Aspecto de la cinta de opciones.
Especifica las opciones de visibilidad que establecer para la vista de detalle. Las opciones de visibilidad de objetos son específicas del modelo y es posible que algunas opciones no estén disponibles en el modelo seleccionado ni en la vista creada del modelo.
Activa y desactiva la visibilidad de las aristas de interferencia. Las aristas de interferencia se producen cuando uno o varios cuerpos sólidos se intersecan entre sí. Si está activada la visibilidad de las aristas de interferencia, el programa dibuja una línea en donde se unen los cuerpos sólidos.

Activa y desactiva la visibilidad de las aristas tangentes. Las aristas tangentes marcan la transición entre una superficie plana y una arista redondeada, que se suelen encontrar como aristas de empalme.

Activa y desactiva la visibilidad de las líneas de los pliegues de extensión de chapa. Las líneas de extensión de pliegue de chapa indican la ubicación de transición en la cual se une o dobla un pliegue, en una vista aplanada de chapa.
Esta opción solo está disponible si el modelo correspondiente tiene una vista aplanada de chapa definida.
Activa y desactiva la visibilidad de las líneas de rosca de los tornillos y agujeros roscados.
Activa y desactiva la visibilidad de las trayectorias de despiece de presentación. Las trayectorias de despiece de presentación son líneas en una vista descompuesta (en un archivo de presentación) que indican la dirección en la que los componentes se desplazan a la posición de ensamblaje.
Especifica el tipo de contorno de la vista de detalle.
Si la opción Deducir restricciones está activado, el centro del contorno de detalle circular se asocia a un punto de la vista padre. Si la opción Deducir restricciones está desactivada, el centro del contorno de detalle circular no se asocia a un punto de la vista padre.
Si la opción Deducir restricciones está activada, la esquina del contorno de vista de detalle rectangular se asocia a un punto de la vista padre. Si la opción Deducir restricciones está desactivada, la esquina del contorno de vista de detalle rectangular no se asocia a un punto de la vista padre.
El programa siempre determina a partir del dibujo la siguiente etiqueta detallada que esté libre.
Especifica si el texto de la etiqueta de la vista de detalle se visualiza o no.




Especifica la etiqueta del contorno de detalle y la vista de detalle resultante.
Especifica si se muestra el texto de la etiqueta de vista de detalle.
Desplaza la vista de detalle, una vez que se coloca en el área de dibujo, sin obligar al usuario a salir del comando.
Retrocede a la solicitud anterior o finaliza el comando, según cuándo aparezca la opción en el ciclo del comando.