Impostazione delle regole di interferenza

L'uso delle regole di interferenza Ignora riduce il numero di risultati in quanto vengono ignorate alcune combinazioni di elementi di interferenze. Lo strumento Clash Detective include le regole di interferenza di default e i modelli che possono essere utilizzati per creare regole di interferenza personalizzate.

Regole di interferenza di default

Le seguenti regole di interferenza sono incorporate:

  • Elementi nello stesso layer: tutti gli elementi di interferenze che si trovano nello stesso layer non vengono inclusi nei risultati. Ciò è utile se, ad esempio, si desidera ignorare le interferenze sullo stesso livello da un file Revit (2014 o versioni successive). I layer o i livelli vengono indicati con l'icona nella struttura di selezione.
  • Elementi nello stesso gruppo/blocco/cella: tutti gli elementi di interferenze nello stesso gruppo (o blocco), come una definizione di blocco di AutoCAD o una definizione di cella di MicroStation, non vengono inclusi nei risultati. I gruppi, i blocchi e le celle vengono indicati con l'icona nella struttura di selezione.
  • Elementi nello stesso file: tutti gli elementi di interferenze che si trovano nello stesso file (di riferimento esterno o aggiunto) non vengono inclusi nei risultati. Se il modello contiene più file CAD, questa opzione consente di cercare soltanto le interferenze tra file diversi.
  • Elementi nello stesso oggetto composto: tutti gli elementi di interferenze che fanno parte dello stesso oggetto composto (un unico oggetto CAD rappresentato da un gruppo di elementi della geometria) non sono inclusi nei risultati. Un oggetto composto () è un gruppo di geometrie che viene considerato come un singolo oggetto nella struttura di selezione. Ad esempio, un oggetto finestra potrebbe essere costituito da una cornice e da un riquadro oppure un muro matrice può essere costituito da più layer. Questa regola garantisce che le autointersezioni in un oggetto CAD vengano ignorate. In questo caso, il riquadro finestra e la cornice possono essere modellati in modo che le parti si toccano o si sovrappongono. Questa regola ignora le interferenze tra di essi.
  • Nota: È possibile scegliere di includere oggetti composti nei risultati delle interferenze. Vedere Scheda Selezione.
  • Elementi in coppia di oggetti composti trovata in precedenza: tutti gli elementi di interferenze che fanno parte degli oggetti composti inclusi precedentemente nel test non sono inclusi nei risultati. Ad esempio, quando viene rilevata un'interferenza tra la stessa coppia di oggetti composti, verranno considerati come una singola interferenza, in modo che l'interferenza venga riportata una sola volta. Le altre interferenze vengono ignorate. Mentre "Ignora elementi nello stesso oggetto composto" ignora le interferenze tra le parti di un singolo oggetto, questa operazione consente di ignorare più interferenze tra diversi oggetti composti. Questo metodo è utile per ridurre il numero di falsi positivi. Un esempio potrebbe essere un tubo che passa attraverso un muro. Con questa opzione selezionata, l'interferenza viene considerata solo una volta, invece che come interferenze separate su entrambi i lati del muro.
  • Elementi con punti di snap coincidenti: tutti gli elementi di interferenze con punti di snap coincidenti, come le condutture di tubi e raccordi che dispongono di punti di snap in corrispondenza del punto finale delle linee d'asse, non sono inclusi nel rapporto dei risultati. Autodesk Navisworks disegna un cilindro come una serie di triangoli per migliorare le prestazioni (provare la modalità Linea nascosta per vedere in che modo vengono disegnati). In base al fattore di segmentatura del cilindro, alcuni triangoli potrebbero interferire con gli altri, anche se il tubo o i raccordi si adattano qualora il cilindro venisse disegnato in modo completamente circolare.

Modelli di regole

È anche possibile creare regole Ignora personalizzate. I seguenti modelli di regole sono disponibili (oltre alle regole di interferenza di default):

  • Spessore isolante: tutti gli elementi di interferenze il cui valore di margine di spazio è maggiore dello spessore isolante specificato non vengono inclusi nel rapporto dei risultati. Questa regola deve essere utilizzata con un test Margine di spazio.

    Se si ha un tubo che richiede uno specifico spessore isolante, è possibile eseguire un test di margine di spazio per quel tubo, impostando la tolleranza del margine di spazio sullo spessore isolante necessario. In questo modo si identificano le aree dove il margine di spazio intorno al tubo non è sufficiente per installare l'isolante.

    Se si hanno vari tubi, ognuno dei quali richiede uno spessore isolante differente, anziché configurare un test di margine di spazio distinto per ogni spessore, è possibile definirne uno con la tolleranza necessaria più alta, ovvero, presupponendo che tutti i tubi richiedono lo spessore isolante massimo. Questa regola può quindi essere applicata per ignorare le interferenze erroneamente identificate, in quanto il relativo spessore isolante effettivo è inferiore al valore di margine di spazio più alto utilizzato.

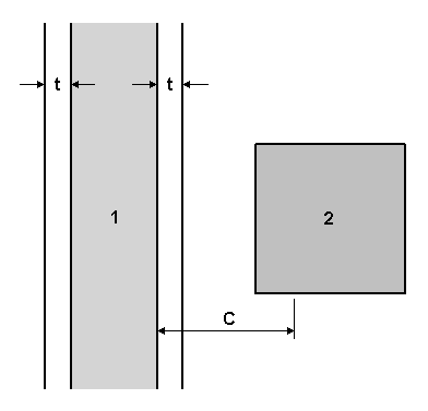
    Nella figura seguente viene illustrato un esempio di applicazione di questa regola Ignora:

    Il tubo 1 ha lo spessore isolante t e C è il margine di spazio massimo necessario nel modello corrente. Tutti gli elementi (2) che si trovano entro la distanza da t a C non vengono inclusi nei risultati.

  • Stesso valore proprietà: tutti gli elementi di interferenze che condividono uno specifico valore di proprietà non vengono inclusi nei risultati. Questo modello può essere utilizzato quando le informazioni sono memorizzate nella stessa proprietà.
  • Stesso gruppo di selezione: tutti gli elementi di interferenze contenuti nello stesso gruppo di selezione non vengono inclusi nei risultati.
  • Gruppi di selezione specificati: tutti gli elementi di interferenze che si trovano in due gruppi di selezione specificati non vengono inclusi nei risultati.
  • Proprietà definite con lo stesso valore: tutti gli elementi di interferenze che condividono lo stesso valore ma in due proprietà differenti non vengono inclusi nei risultati. Questo è un nuovo modello di regole. Questa regola consente inoltre di cercare la proprietà in tutti gli oggetti principali. Ad esempio, la guarnizione all'estremità di un tubo viene registrata come interferenza con l'ugello della pompa. Questi elementi devono essere connessi. La guarnizione non ha proprietà ad essa direttamente associate per identificare che deve essere associata all'ugello della pompa, mentre l'oggetto principale della guarnizione ne ha. Se si utilizza questo modello, il test di interferenza ignora le interferenze tra questi due elementi.

Esempi di utilizzo delle regole di interferenza

I seguenti esempi mostrano il modo in cui può essere utile combinare le regole di interferenza:

  • Se si utilizza un muro matrice nel modello costituito da diversi layer, una parte esterna, un isolante, una parte interna e cartongesso, è possibile utilizzare la regolaElementi nello stesso oggetto composto per ridurre le interferenze tra le parti e la regola Elementi in coppia di oggetti composti trovata in precedenza per considerare tutte le interferenze con il muro come una singola interferenza anziché come quattro.
  • Se si esegue la verifica di una conduttura di tubi con raccordi, è possibile utilizzare le regole Elementi con punti di snap coincidenti ed Elementi in coppia di oggetti composti trovata in precedenza per ridurre il numero di interferenze rilevate tra i dispositivi e i tubi e all'interno dei dispositivi stessi.
  • Se si desidera verificare le interferenze principali tra i tubi e la struttura, utilizzare le regole Elementi nello stesso file ed Elementi in coppia di oggetti composti trovata in precedenza. In tal modo è possibile evitare di fare ricerche all'interno di un file della stessa tipologia e riportare solo un risultato di interferenza, quando una tipologia interseca un oggetto composto costituito da più parti.