Per disegnare condotti nelle viste di prospetto e di sezione, è possibile utilizzare i metodi e gli strumenti utilizzati nelle viste di pianta.
Tuttavia, poiché il layout viene visualizzato da una prospettiva diversa, è possibile che i risultati siano diversi da quelli previsti. In una vista di prospetto/sezione, i condotti vengono disegnati rispetto al piano di tali viste. Durante il disegno in una vista di prospetto/sezione, mantenere aperta una vista 3D o di pianta in modo da verificare i risultati delle azioni eseguite. Di seguito sono elencati alcuni fattori da tenere presente:
gruppo Strumenti di posizionamento
Eredita dimensione per ereditare le dimensioni del condotto esistente. Gli esempi seguenti mostrano l'orientamento del condotto aggiunto nelle viste di prospetto/sezione. In questi esempi, tutti i segmenti esistenti hanno le seguenti dimensioni: 12" (L) x 8" (A).
Nel primo esempio, un condotto con dimensioni 12" (L) x 8" (A) viene visualizzato in una vista di pianta.


Nella vista di prospetto, un condotto orizzontale viene aggiunto al condotto. L'anteprima del condotto mostra che in base all'orientamento del nuovo condotto la superficie di 12" (L) è visualizzata come quota della distanza dalla parte superiore a quella inferiore.

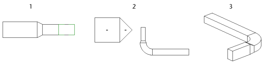
Il condotto risultante viene mostrato di seguito nella vista di prospetto (1), nella vista di pianta (2) e nella vista 3D (3). Il condotto contiene una transizione tra il gomito e il nuovo segmento del condotto.


Per visualizzare il nuovo condotto disegnato a partire dal condotto dell'esempio precedente non occorre una transizione. La larghezza e l'altezza vengono visualizzate rispetto alla vista di prospetto.

Durante la connessione di un condotto esistente in una vista di prospetto, potrebbe essere necessario specificare la larghezza e l'altezza nella barra delle opzioni per ottenere il risultato desiderato.
Il nuovo condotto viene connesso al connettore disponibile più vicino al piano della vista (in primo piano) per la vista di prospetto. Un connettore disponibile è un connettore che non è collegato ad alcun connettore e che si trova all'interno dei limiti della vista di prospetto. L'unico limite per una vista di prospetto è il piano della vista in primo piano.
Nel seguente esempio, entrambi i connettori del condotto esistente (1) sono disponibili. Il segmento orizzontale aggiunto nella vista di prospetto (2) è connesso al connettore più vicino al piano della vista, come mostrato nella vista di pianta (3).

Due connettori compresi nell'intervallo di visualizzazione

Entrambi i connettori compresi nell'intervallo di visualizzazione
Se nell'intervallo di visualizzazione è disponibile solo un connettore, esso verrà utilizzato per eseguire la connessione. Nell'esempio che segue, il connettore vicino al piano della vista è già utilizzato (1). Quando il nuovo condotto viene aggiunto nella vista di prospetto (2), esso viene aggiunto all'estremità finale del condotto esistente (3) per mezzo dell'unico connettore disponibile.

Un solo connettore disponibile nell'intervallo di visualizzazione

Un solo connettore compreso nell'intervallo di visualizzazione
Se nell'intervallo di visualizzazione non vi sono connettori disponibili, il condotto viene connesso tramite un raccordo a T in corrispondenza dell'intersezione del piano della vista con il segmento. La linea d'asse del condotto viene posizionata esattamente sopra il piano della vista.
Se nell'intervallo di visualizzazione non vi sono connettori disponibili, come nella vista di pianta (1), il nuovo condotto (aggiunto nella vista di prospetto (2)) viene connesso tramite un raccordo a T in corrispondenza dell'intersezione del piano della vista con il condotto esistente (3). La linea d'asse del condotto viene posizionata esattamente sopra il piano della vista.

Un solo connettore compreso nell'intervallo di visualizzazione, ma già in uso

Due connettori compresi nell'intervallo di visualizzazione, ma uno è già in uso

Nessun connettore disponibile è compreso nell'intervallo di visualizzazione
Il nuovo condotto viene connesso al connettore disponibile più vicino al piano della vista (in primo piano) per la vista di sezione. Un connettore disponibile è un connettore che non è collegato ad alcun connettore e che si trova all'interno dei limiti della vista di sezione.
Nel seguente esempio, entrambi i connettori del condotto esistente (1) sono disponibili. Il segmento orizzontale aggiunto nella vista di sezione (2) è connesso al connettore più vicino al piano della vista, come mostrato nella vista di pianta (3).
Se nell'intervallo di visualizzazione è disponibile solo un connettore, esso verrà utilizzato per eseguire la connessione.
Sebbene nel seguente esempio entrambe le estremità del condotto esistente siano comprese nell'intervallo di visualizzazione, solo una di esse è disponibile. L'altro connettore è già in uso. Viene pertanto utilizzato il connettore disponibile, anche se è più lontano rispetto al piano della vistai.
Se nell'intervallo di visualizzazione non vi sono connettori disponibili, il condotto viene connesso tramite un raccordo a T in corrispondenza dell'intersezione del piano della vista con il condotto esistente. La linea d'asse del condotto viene posizionata esattamente sopra il piano della vista.

Un solo connettore compreso nell'intervallo di visualizzazione, ma già in uso

In questo caso, quando il condotto viene disegnato nella vista di sezione (1), Revit aggiunge un breve segmento di condotto tra il connettore e il gomito dell'unità VAV, come mostrato nella vista piana (2) e nella vista 3D (3).

Nell'esempio seguente, due segmenti di condotto verticale vengono aggiunti ad un condotto in una vista di prospetto. Il condotto originale viene visualizzato in una vista di pianta (1), nella vista 3D associata (2) e nella vista di prospetto Sud (3).

I segmenti verticali risultanti vengono visualizzati (da sinistra a destra) come nella vista di pianta (1), nella vista 3D associata (2) e nella vista di prospetto Sud (3).


In questo caso, quando il condotto viene disegnato nella vista di prospetto sud (1), Revit aggiunge un breve segmento di condotto tra il connettore e il gomito dell'unità VAV, come mostrato nella vista piana (2) e nella vista 3D (3).

Nel seguente esempio, si desidera aggiungere un condotto per connettere i segmenti sul livello 1 al condotto sul livello 2.

Nella vista di sezione, il condotto sul livello 2 sembra essere allineato sopra il condotto sul livello 1. Utilizzando lo strumento dei condotti, è possibile disegnare un'alzata verticale dal condotto dell'unità VAV sul livello 1 al condotto esistente sul livello 2.
Viene aggiunto un condotto dal connettore del condotto dell'unità VAV sul livello 1 al condotto orizzontale sul livello 2.

Nella vista 3D associata viene mostrato in che modo il condotto è stato creato. Il condotto risultante viene disegnato con un segmento verticale e un segmento orizzontale per la connessione al condotto sul livello 2. Il segmento orizzontale viene aggiunto perpendicolarmente al piano della vista di sezione.
