Ustawia właściwości linii obwiedni szczegółu, krawędzi modelu i linii połączenia widoków szczegółowych.
Lista opcji
Wyświetlane są następujące opcje.
Linia obwiedni
- Kolor linii
- Ustawia kolor linii obwiedni szczegółu. Po kliknięciu opcji Wybierz kolor (na dole listy Kolor) zostanie wyświetlone okno dialogowe Wybierz kolor. Można też wprowadzić nazwę koloru lub jego numer.
Uwaga: Jeśli zostanie wybrany kolor oznaczony „Według NazwaBieżącejNormyRysunkowej”, kolor linii obwiedni szczegółu będzie uzyskiwany z okna dialogowego Ustawienia właściwości obiektu. Ta opcja jest dostępna tylko w przypadku stylów szczegółu programu AutoCAD Mechanical.
- Rodzaj linii
- Ustawia rodzaj linii dla linii obwiedni szczegółu. Jeśli klikniesz opcję Inne, zostanie wyświetlone okno dialogowe Wybierz rodzaj linii.
Uwaga: Jeśli zostanie wybrany rodzaj linii oznaczony „Według NazwaBieżącejNormyRysunkowej”, rodzaj linii będzie uzyskiwany z okna dialogowego Ustawienia właściwości obiektu. Ta opcja jest dostępna tylko w przypadku stylów szczegółu programu AutoCAD Mechanical.
- Szerokość linii
- Ustawia szerokość linii obwiedni szczegółu.
Uwaga: Jeśli zostanie wybrana szerokość linii oznaczona „Według NazwaBieżącejNormyRysunkowej”, szerokość linii obwiedni szczegółu będzie uzyskiwana z okna dialogowego Ustawienia właściwości obiektu. Ta opcja jest dostępna tylko w przypadku stylów szczegółu programu AutoCAD Mechanical.
Krawędź modelu
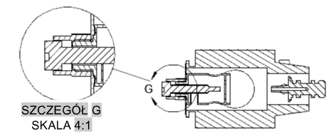
- Gładka
- Określa, że linie cięcia na modelach w widokach szczegółowych mają być gładkie.
| zastosowanie do widoków szczegółowych w dokumentacji modelu |
zastosowanie do widoków szczegółowych AMDETAIL |
|
|
|
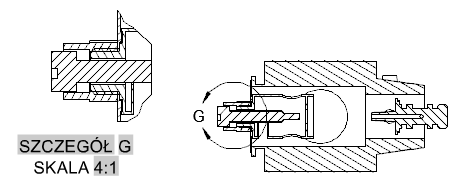
- Gładka z ramką
- Określa, że wokół widoków szczegółowych ma być rysowana ramka oraz że linie cięcia na modelach przedstawianych w widokach szczegółowych mają być gładkie.
| zastosowanie do widoków szczegółowych w dokumentacji modelu |
zastosowanie do widoków szczegółowych AMDETAIL |
|
|
|
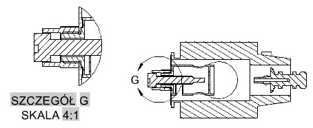
- Gładka z linią łączącą
- Określa, że między ramką szczegółu a obwiednią widoku szczegółowego ma być rysowana linia połączenia. Ponadto określa, że wokół widoków szczegółowych ma być rysowana ramka oraz że linie cięcia na modelach przedstawianych w widokach szczegółowych mają być gładkie.
| zastosowanie do widoków szczegółowych w dokumentacji modelu |
zastosowanie do widoków szczegółowych AMDETAIL |
|
|
|
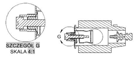
- Poszarpana
- Określa, że linie cięcia na modelach w widokach szczegółowych mają być poszarpane.
| zastosowanie do widoków szczegółowych w dokumentacji modelu |
zastosowanie do widoków szczegółowych AMDETAIL |
|
|
Uwaga: W widokach szczegółowych AMDETAIL stosowanie poszarpanych linii cięcia nie jest możliwe. Gdy ta opcja jest wybrana, widoki rysunku AMDETAIL zachowują się tak, jak gdyby była wybrana opcja Gładka.
|
- Kolor linii
- Ustawia kolor ramki szczegółu. Po kliknięciu opcji Wybierz kolor (na dole listy Kolor) zostanie wyświetlone okno dialogowe Wybierz kolor. Można też wprowadzić nazwę koloru lub jego numer.
Uwaga: Jeśli zostanie wybrany kolor oznaczony „Według NazwaBieżącejNormyRysunkowej”, kolor linii ramki szczegółu będzie uzyskiwany z okna dialogowego Ustawienia właściwości obiektu. Ta opcja jest dostępna tylko w przypadku stylów szczegółu programu AutoCAD Mechanical.
- Rodzaj linii
- Ustawia rodzaj linii ramki szczegółu. Jeśli klikniesz opcję Inne, zostanie wyświetlone okno dialogowe Wybierz rodzaj linii.
Uwaga: Jeśli zostanie wybrany rodzaj linii oznaczony „Według NazwaBieżącejNormyRysunkowej”, rodzaj linii ramki szczegółu będzie uzyskiwany z okna dialogowego Ustawienia właściwości obiektu. Ta opcja jest dostępna tylko w przypadku stylów szczegółu programu AutoCAD Mechanical.
- Szerokość linii
- Ustawia szerokość linii ramki widoku szczegółu.
Uwaga: Jeśli zostanie wybrany rodzaj linii oznaczony „Według NazwaBieżącejNormyRysunkowej”, szerokość linii ramki szczegółu będzie uzyskiwana z okna dialogowego Ustawienia właściwości obiektu. Ta opcja jest dostępna tylko w przypadku stylów szczegółu programu AutoCAD Mechanical.
Linia połączenia
- Kolor linii
- Ustawia kolor linii łączącej ramkę szczegółu z obwiednią widoku szczegółowego. Po kliknięciu opcji Wybierz kolor (na dole listy Kolor) zostanie wyświetlone okno dialogowe Wybierz kolor. Można też wprowadzić nazwę koloru lub jego numer.
Uwaga: Jeśli zostanie wybrany kolor oznaczony „Według NazwaBieżącejNormyRysunkowej”, kolor linii połączenia będzie uzyskiwany z okna dialogowego Ustawienia właściwości obiektu. Ta opcja jest dostępna tylko w przypadku stylów szczegółu programu AutoCAD Mechanical.
- Rodzaj linii
- Ustawia rodzaj linii dla linii połączenia. Jeśli klikniesz opcję Inne, zostanie wyświetlone okno dialogowe Wybierz rodzaj linii.
Uwaga: Jeśli zostanie wybrany rodzaj linii oznaczony „Według NazwaBieżącejNormyRysunkowej”, rodzaj linii dla linii połączenia będzie uzyskiwany z okna dialogowego Ustawienia właściwości obiektu. Ta opcja jest dostępna tylko w przypadku stylów szczegółu programu AutoCAD Mechanical.
- Szerokość linii
- Ustawia szerokość linii dla linii połączenia.
Uwaga: Jeśli zostanie wybrany rodzaj linii oznaczony „Według NazwaBieżącejNormyRysunkowej”, szerokość linii dla linii połączenia będzie uzyskiwana z okna dialogowego Ustawienia właściwości obiektu. Ta opcja jest dostępna tylko w przypadku stylów szczegółu programu AutoCAD Mechanical.
Przywróć domyślne
Przywraca wszystkim parametrom domyślne wartości standardu rysunkowego i wersji, na których styl jest oparty. Ten przycisk jest widoczny tylko w przypadku stylów szczegółu programu AutoCAD Mechanical.