Przyjęte oznaczenia:
E — moduł Younga
v — współczynnik Poissona
G — moduł Kirchhoffa

h — grubość płyty
ha — wysokość żeber
a — rozstaw żeber
a1 — szerokość żeber
|
Sztywności tarczowe: przyjęto: s1 = a*h, s2 = (ha—h)*a1 D_XXXX = E*(s1+s2)/a D_YYYY = E*h D_XXYY = v*E*h D_XYXY = G*h D_XXXY = 0 D_YYXY = 0 |
Sztywności zginania: przyjęto: hz = h + a1/12, xv = 1 — v*v Dyyyy= E/(12*xv)*a/((a—a1)/(h*h*h)+a1/(hz*hz*hz)) I = moment bezwładności teownika o szerokości półki a/xv, grubości półki h, wysokości całkowitej ha i grubości środnika a1 K_XXXX = E*I/a K_YYYY = Dyyyy K_XXYY = v*Dyyyy K_XYXY = (1—v)/2*Dyyyy K_XXXY = 0 K_YYXY = 0 |
|
Sztywności ścinania: H_XX = 5/6*G*((a—a1)*h + a1*ha)/a H_YY = 5/6*G*h H_XY = 0 |
h — grubość płyty
ha — wysokość żeber
a — rozstaw żeber
a1 — szerokość żeber
|
Sztywności tarczowe: przyjęto: s1 = a*h, s2 = (ha—h)*a1 D_XXXX = E*(s1+s2)/a D_YYYY = E*h D_XXYY = v*E*h D_XYXY = G*h D_XXXY = 0 D_YYXY = 0 |
Sztywności zginania: przyjęto: hz = h + a1/6, xv = 1 — v*v Dyyyy= E/(12*xv)*a/((a—a1)/(h*h*h)+a1/(hz*hz*hz)) I = moment bezwładności przekroju krzyżowego o szerokości półki a/xv, grubości półki h, wysokości całkowitej ha i grubości środnika a1 K_XXXX = E*I/a; K_YYYY = Dyyyy; K_XXYY = v*Dyyyy; K_XYXY = (1—v)/2*Dyyyy K_XXXY = 0; K_YYXY = 0; |
|
Sztywności ścinania: H_XX = 5/6*G*((a—a1)*h + a1*ha)/a H_YY = 5/6*G*h H_XY = 0 |
h — grubość płyty
ha — wysokość żeber
hb — wysokość żeber
a — rozstaw żeber
a1 — szerokość żeber
b — rozstaw żeber
b1 — szerokość żeber
|
Sztywności tarczowe: przyjęto: s1x = a*h, s2x = (h—ha)*a1 s1y = b*h, s2y = (h—hb)*b1 D_XXXX = E*(s1x+s2x)/a D_YYYY = E*(s1y+s2y)/b D_XXYY = v*E D_XYXY = G*h D_XXXY = 0 D_YYXY = 0 |
Sztywności zginania: jeżeli ha>=hb, to a2 = a1, a1 = a—a1, h2 = ha, b2 = b1, b1 = b—b2, h1 = hb w przeciwnym razie (hb>ha), to a2 = b1, a1 = b—b1, h2 = hb, b2 = a1, b1 = a—b2, h1 = ha I11 = InertiaTsec(b/xv, b2, hp, h1) I12 = InertiaTsec(b/xv, b2+a2/6, hp+b2/12, hp+a/12) I21 = InertiaTsec(a/xv, a2, hp, h2) I22 = InertiaTsec(a/xv, (a2+a2+b2/6)/2, hp+b2/12, h2) xv = 1 — v*v GC1 = G*TorsI(b2,h1) GC2 = G*TorsI(a2,h2) D11 = E*a/b/(a1/I11+a2/I12) D22 = E*b/a/(b1/I21+b2/I22) K_XXXX = (ha>=hb) D22:D11 K_YYYY = (ha>=hb) D11:D22 K_XXYY = v*E/12.0*(h3/xv+ h1*h1*h1 *a2*b2/(a*b)) K_XYXY = G*h3/12.0 + (GC1/b+GC2/a)/4.0 K_XXXY = 0.0 K_YYXY = 0.0 xv = 1 — v*v |
|
Sztywności ścinania: H_XX = 5/6*G*((a—a1)*h + a1*ha)/a; H_YY = 5/6*G*h; H_XY = 0; |
h — grubość stropu
h1 — grubość płyty górnej
h2 — grubość płyty dolnej
a — rozstaw żeber
a1 — szerokość żeber
|
Sztywności tarczowe: przyjęto: s1 = a*h1, s2 = a*h2, s0 = (h—h1—h2)*a1 D_XXXX = E*(s1+s2+s0)/a D_YYYY = E*(h1+h2) D_XXYY = v*E*(h1+h2) D_XYXY = G*(h1+h2) D_XXXY = 0 D_YYXY = 0 |
Sztywności zginania: przyjęto: hz1 = h1 + a1/12, hz2 = h2 + a1/12, xv = 1 — v*v Dyyyy= E*a/( (a-a1)/InertiaIsec(1/xv,0,h,h1,h2) + a1/InertiaIsec(1/xv,0,h,hz1,hz2)) Iy = InertiaIsec(a/xv,a1,h,h1,h2) K_XXXX = E*Iy/a K_YYYY = Dyyyy K_XXYY = v*Dyyyy K_XYXY = (1—v)/2*Dyyyy K_XXXY = 0 K_YYXY = 0 |
|
Sztywności ścinania: ha = h-h1-h2 H_XX = 5/6*G*((a—a1)*(h1+h2) + a1*ha)/a H_YY = 5/6*G*(h1+h2) H_XY = 0 |
h — grubość stropu
h1 — grubość płyty górnej
h2 — grubość płyty dolnej
a — rozstaw żeber
a1 — szerokość żeber
b — rozstaw żeber
b1 — szerokość żeber
|
Sztywności tarczowe: przyjęto: s1 = a*h1, s2 = a*h2, s0x = (h—h1—h2)*a1, s0y = (h—h1—h2)*b1 D_XXXX = E*(s1+s2+s0x)/a D_YYYY = E*(s1+s2+s0y)/b D_XXYY = v*E*(h1+h2) D_XYXY = G*(h1+h2) D_XXXY = 0.0 D_YYXY = 0.0 |
Sztywności zginania: przyjęto: a2 = a1, a1 = a—a2, double b2 = b1, b1 = b—b2, xv = 1 — v*v GC1 = G*TorsI(a2,h—h1—h2) GC2 = G*TorsI(b2,h—h1—h2) Dpl = InertiaIsec(1/xv,0,h,h1,h2) I11 = InertiaIsec(b/xv, b2, h, h1, h2) I12 = InertiaIsec(b/xv, b2+a2/6.0, h, h1+a2/12.0, h2+a2/12.0) I21 = InertiaIsec(a/xv, a2, h, h1, h2) I22 = InertiaIsec(a/xv, a2+b2/6.0, h, h1+b2/12.0, h2+b2/12.0) D11 = E*a/b/(a1/I11+a2/I12) D22 = E*b/a/(b1/I21+b2/I22) K_XXXX = D22 K_YYYY = D11 K_XXYY = v*E*(Dpl+h3/12.0*a2*b2/(a*b)) K_XYXY = (1.0—v)/2.0*E*Dpl+(GC1/b+GC2/a)/4.0 K_XXXY = 0.0 K_YYXY = 0.0 |
|
Sztywności ścinania: H_XX = 5.0/6.0*G*((a—a1)*(h1+h2) + a1*h)/a H_YY = 5.0/6.0*G*((b—b1)*(h1+h2) + b1*h)/b H_XY = 0.0 |
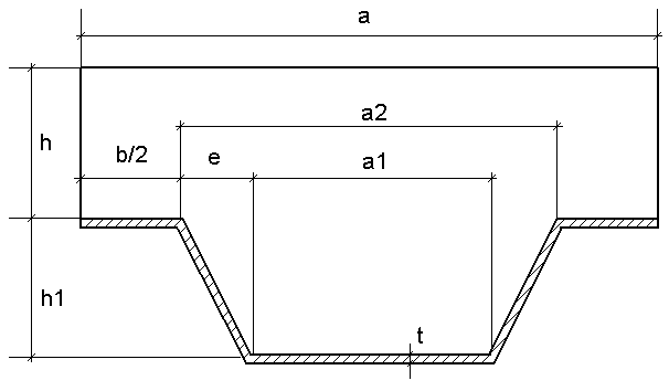
h — wysokość żeber
a — rozstaw żeber
a1 — szerokość żeber
b — rozstaw żeber
b1 — szerokość żeber
|
Sztywności tarczowe: D_XXXX = E*h*a1/a D_YYYY = E*h*b1/b D_XXYY = 0.0 D_XYXY = G*h*(1.—(a—a1)*(b—b1)/(a*b)) D_XXXY = 0.0 D_YYXY = 0.0 |
Sztywności zginania: a2 = a1; a1 = a—a2; b2 = b1; b1 = b—b2 D=E*h3/12, a23=a2*a2*a2, b23=b2*b2*b2 K_XXXX = D * a2/a K_YYYY = D * b2/b K_XXYY = v*D * (a2*b2)/(a*b) K_XYXY = D*(1—v*v*a2*b2/(a*b))/(a*b*(a/a23+b/b23)) K_XXXY = 0.0 K_YYXY = 0.0 |
|
Sztywności ścinania: H_XX = 5.0/6.0*G*h*a1/a H_YY = 5.0/6.0*G*h*b1/b H_XY = 0.0 |
h — grubość płyty
h1 — wysokość blachy
a — rozstaw żeber blachy
a1 — szerokość dolna żeber
a2 — szerokość górna żeber
Wartości sztywności D, K i H są obliczane jak dla typu żebrowanie jednokierunkowe jednostronne po podstawieniu następujących wielkości:
a1 = (a1+a2)/2
ha = h+h1.
Ortotropia fizyczna
h — grubość płyty
n1 współczynnik sztywności
n2 współczynnik sztywności
Powinny być przyjęte następujące założenia:
E1= E*n1 E2= E*n2
G1= E1*/(2*(1+v)) G2= E2*/(2*(1+v))
G12=sqrt(E1*E2)/(2*(1+v))
H3= h*h*h*/(12*(1—v*v))
|
Sztywności tarczowe: D_XXXX = E1 * h/(1—v*v) D_YYYY = E2 * h/(1—v*v) D_XXYY = v * h * sqrt (E1 * E2)/(1— v*v) D_XYXY = G12 * h D_XXXY = 0.0 D_YYXY = 0.0 |
Sztywności zginania: K_XXXX = E1 * H3 = K11 K_YYYY = E2 * H3 = K22 K_XXYY = v * sqrt ( K11 * K22) K_XYXY = (1—v)/2*sqrt(K11*K22) = h*h*h/12*G12 K_XXXY = 0.0 K_YYXY = 0.0 |
|
Sztywności ścinania: H_XX = 5/6 * G1 * h H_YY = 5/6 * G2 * h H_XY = 0.0 |
h — wysokość blachy
t — grubość blachy
a, a1, a2 — wymiary pojedynczego segmentu blachy (rozstaw, szerokości)

Powinny być przyjęte następujące założenia:
v2= v*v
B = E*t*t*t /(12*(1—v2))
M = E*t/(1—v2)
b = a—a2
c = (a2—a1)/2
lx = sqrt(h*h+c*c)
ca = c/lx
Ax = a1+b+2*lx
e = h*(lx+a1)/Ax
Ix = e*e*b + 2*lx/3 (h*h+3*e*(e—h))+ (e—h)*(e—h)*a1
As = b+2*ca*ca*lx+a1
|
Sztywności tarczowe: D_XXXX = M*Ax/a D_YYYY = a/(Ix/B + As/M) D_XXYY = D_YYYY*v D_XYXY = G*t*a/Ax D_XXXY = 0.0 D_YYXY = 0.0 |
Sztywności zginania: K_XXXX = (M*Ix+B*As)/a K_YYYY = B*a/Ax K_XYXY = G*t/a*(Ix + t*t/12*(As*(1+Ax/a)—a)) K_XXXY = 0.0 K_YYXY = 0.0 |
|
Sztywności ścinania: H_XX = G*t*5/6*Ax/kx/a H_XY = 0.0 kx = Ax/(2*lx) |
h — wysokość blachy
t — grubość blachy
a — wymiar pojedynczego segmentu blachy (rozstaw)

Powinny być przyjęte następujące założenia:
Równanie opisujące geometrię blachy:

|
Sztywności tarczowe: D_XXXX = M*I1/2p D_YYYY = 2p M/(I2+ 12*(h/t)*(b/t)*I3) D_XXYY = D_YYYY*v D_XYXY = 2p G*t /I1 D_YYXY = 0.0 |
Sztywności zginania: K_XXXX = M* b*b*I3/2? K_YYYY = 2p B /I1 K_XYXY = G*t*b*b*I3/2p+G*t*t*t/12*(I2/2p *(1+I1/2p)—1) K_XXXY = 0.0 K_YYXY = 0.0 |
|
Sztywności ścinania: H_XX = G*t*5/6*I1/2p H_XY = 0.0 |
h — grubość płyty
h1 — wysokość blachy trapezowej
t — grubość blachy trapezowej
a, a1, a2 — wymiary pojedynczego segmentu blachy (rozstaw, szerokości)
Es — moduł Younga (stal trapezowa)
vs — współczynnik Poissona (stal trapezowa)
Eb — moduł Younga (beton; wartość przyjmowana na podstawie wybranego materiału)
vb — współczynnik Poissona (beton; wartość przyjmowana na podstawie wybranego materiału)

Założenia:
b = a — a1
e = 0.5*(a—(b+a1))

s = sqrt(e*e+h1*h1)
Ab1 = a*h
Ab2 = (a1+e)*h1
As = t*(b+2*s+a1)
Ebx = Eb/(1.0—vb*vb)
Esx = Es/(1.0—vs*vs)
Gb = Eb/(2.0*(1.0+vb))
Gs = Es/(2.0*(1.0+vs))
hx — wysokość zastępcza betonu, która jest równa:
jeżeli h+(a—b)/6.0 < h+h1, to h+(a—b)/12.0
jeżeli h+(a—b)/6.0 > h+h1, to h+h1/2
hx3 = hx*hx*hx
y0 = (Ebx*(Ab1*(h1+h/2)+a1* h1* h1/2+2*e*h1* h1/3.0)+Es*t*(b*h1+s*h1))/(Ebx*(Ab1+Ab2)+Es*As)
h3 = h*h*h
d3 = h1*h1* h1
e1 = h1+h/2 —y0
e1 = e1*e1
e2 = y0— h1/2
e2 = e2*e2
e3 = y0—2*h1/3.0
e3 = e3*e3
y1 = Ebx*h*h/(2*(Ebx*h+Esx*t));
hd = h+0.5*h1
hd3 = hd*hd*hd
|
Sztywności tarczowe: D_XXXX = (Ebx*(Ab1+Ab2)+As*Esx)/a D_YYYY = a/(b/(h*Ebx+t*Esx)+(a—b)/(hx*Ebx)) D_XXYY = D_YYYY*vb D_XYXY = Gb*a/((c+e)/(h+h1)+(b+e)/h) + Gs*t*a/(As/t) D_XXXY = 0.0 D_YYXY = 0.0 |
Sztywności zginania: K_XXXX = a/(b/(Ebx*(h3/12.0 + h*(y1—h/2)*(y1—h/2)) + Esx*t*y1*y1) + (a—b)/(Ebx*hx3/12.0)) K_YYYY = a/(b/(Ebx*(h3/12.0 + h*(y1—h/2)*(y1—h/2)) + Esx*t*y1*y1) + (a—b)/(Ebx*hx3/12.0)) K_XYXY = = Gb*a/(b/h3 + (a-b)/hd3)/12.0 K_XXXY = 0.0 K_YYXY = 0.0 |
|
Sztywności ścinania: H_XX = Gb*(Ab1+Ab2)/a*5.0/6.0 H_XY = 0.0 |
ha = h — h1 — h2 wysokość usztywnienia
|
Sztywności tarczowe: s1 = a* h1, s2 = a*h2, s0 = (h—h1—h2)*a— (3,14*a1*a1/4 +c*a1) D_XXXX = E/xv*(s1+s2+s0)/a D_YYYY = E/xv*(h1+h2) D_XXYY = v*E/xv*(h1+h2) D_XYXY = G*(h1+h2) D_XXXY = 0 D_YYXY = 0 |
Sztywności zginania: hz1 = h1 + a1/12, hz2 = h2 + a1/12, xv = 1 — v*v, r = al/2 Dyyyy= E*a/((a—a1)/InertiaIsec(1/xv,0,h,h1,h2) + a1/InertiaIsec(1/xv,0,h,hz1,hz2)) Iy = InertiaIsec (a/xv,a1,h,h1,h2) + 4*(0,00755*r*r*r*r+0,2146*r*r*(c/2+0,7766*r)*(c/2 + 0,7766*r)) Jeśli sztywność zginania w kierunku Y została zignorowana, to Dyyyy = 1,0*e—4*Dyyyy Jeśli nie, to Dyyyy = Dyyyy K_XXXX = E*Iy/a K_YYYY = Dyyyy K_XXYY = v*Dyyyy K_XYXY = (1—v)/2*Dyyyy K_XXXY = 0 K_YYXY = 0 |
|
Sztywności ścinania: H_YY = 5/6*G*(h1+h2) H_XY = 0 |