Quando o modelo 3D de origem é alterado, as vistas de desenho da documentação do modelo não refletem as alterações até que elas sejam atualizadas.
Quando Atualização automática está desativada (variável de sistema VIEWUPDATEAUTO = 1), as vistas de desenho são atualizadas automaticamente:
Quando Atualização automática é desativada (variável de sistema VIEWUPDATEAUTO = 0), as vistas de desenho não são atualizadas automaticamente. As vistas de desenho que precisam de atualização são realçadas por marcadores vermelhos. Um balão de notificação na bandeja do sistema aparece para informar que o modelo foi alterado. É preciso explicitamente atualizar as vistas de desenho desatualizadas.

Dependendo da alteração no modelo de origem, as vistas de desenho podem aumentar ou diminuir. Há duas maneiras de ancorar uma vista no desenho.

Você pode escolher justificar a vista no centro, para que a vista aumente ou encolha em torno de seu centro.

Você também pode escolher a opção “fixa”, que força as geometrias inalteradas do modelo a permanecerem na localização em que estavam antes da operação de atualização. Normalmente, isso é preferível pois ocorrem menos trocas.
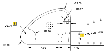
Quando um evento de atualização remove uma aresta na qual uma anotação está anexada, a anotação perde sua associação. Pode-se rastrear as anotações que perdem a associatividade com a ajuda do monitor de anotações.
O monitor de anotações é um serviço que supervisiona o estado da saúde das anotações. Quando um evento de atualização faz com que as anotações percam a associatividade, um balão de notificação indica o número de anotações afetadas e o ícone da bandeja no monitor de anotações muda de
para
. Além disso, o monitor de anotações exibe um sinal próximo das anotações afetadas.

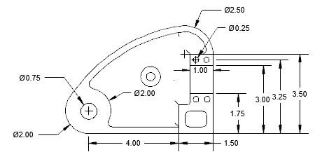
Antes de atualizar o evento

Após atualizar o evento
Clicar no sinal exibe um menu que contém as opções específicas para a correspondente anotação desassociada. Se você desativar o monitor de anotações, os sinais desaparecem.