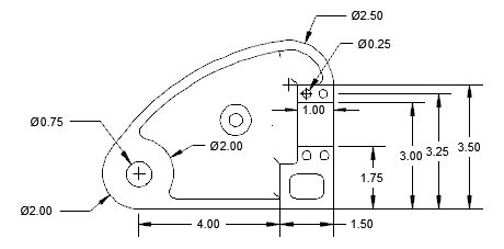
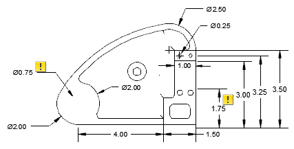
AutoCAD Mechanical 提供了 11 种可以插入到工程图的符号类型。
支持的符号包括:
绘图标准可定义每个符号的行为和特性。要更改特性,用户可以编辑该标准的元素。可以通过“选项”对话框中的“AM:标准”选项卡访问该标准的元素。
附着行为
创建符号时,可以将其附着到对象。之后,在移动对象时,该符号将随之移动。
当附着点不再有效时,可以从对象中拆离符号。例如

更新事件前

更新事件后
如果注释监视器处于启用状态,监视器将追踪拆离的注释并用标记亮显拆离的注释。单击标记将显示一个菜单,其中包含特定于该注释的选项。
引线创建行为
如果将符号附着到圆弧或样条曲线,该符号将强制使第一条引线段垂直于附着的对象。在移动十字光标时,可以通过按“切换符号引线正交模式”键(默认为 SHIFT+F 组合键)替代该行为。
如果将符号附着到直线,一些符号会强制用户使第一条引线线段垂直于附着的对象。对于不显示此行为的符号,如果启用了“对象捕捉追踪”,那么 AutoCAD Mechanical 将显示垂直对齐路径,以对其进行追踪。
引线起点夹点编辑行为
如果拖动引线的起点,整个符号都会移动。

在移动十字光标时,可以通过按“将符号引线切换为拉伸模式”键(默认为 SHIFT+G 组合键)替代该行为。在此模式下符号不会移动。相反,第一条引线段会拉伸。

符号库
某些符号允许用户将完全配置的符号保存到库中。用户随后可以直接将它们从功能区插入工程图,而无需指定值,或只需指定已保存符号的值。
编辑符号
要编辑已插入工程图中的符号的符号文字,请双击该符号。双击引线将显示符号“设置”对话框的“引线”选项卡。
| 符号 | 第一条引线段垂直于附着的圆弧 | 第一条引线段垂直于附着的直线 | 符号库 | 通过注释监视器追踪? | Shift+G 支持 |
|---|---|---|---|---|---|
|
基准标识符号 |
是 | 是 | 是 | ||
|
基准目标 |
是 | ||||
|
边界 |
是 | 是 | 是 | 是 | |
|
形位公差符号 |
是 | 是 | 是 | 是 | 是 |
|
形状识别符号 |
是 | 是 | 是 | 是 | |
|
引线注释 |
是 | 是 | 是 | 是 | |
|
锥度和斜度 |
是 | 是 | 是 | ||
|
表面粗糙度 |
是 | 是 | 是 | 是 | |
|
焊接 |
是 | 是 | 是 | 是 | |
|
标记/戳记 |
是 | 是 | 是 | 是 | |
|
固定联接 |
是 | 是 | 是 | 是 |