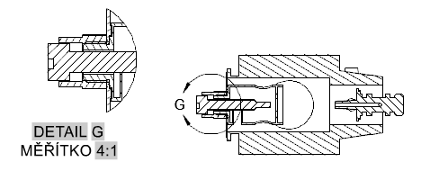
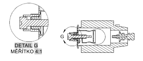
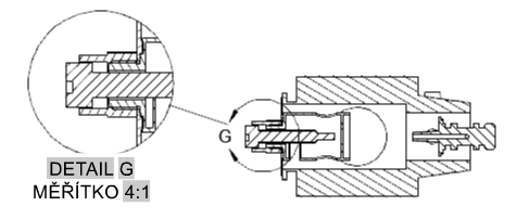
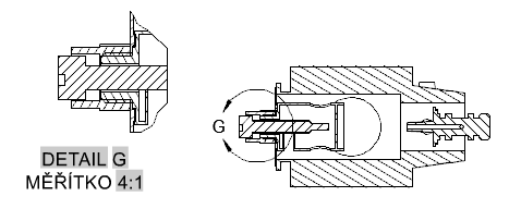
Vytvoří detail části výkresového pohledu dokumentace modelu.
Detail je výkresový pohled, který obsahuje část jiného výkresového pohledu a je zvětšený na větší měřítko. Můžete mít kruhový nebo obdélníkový detailní pohled. Tento příkaz je podporován pouze v rozvržení a vyžaduje výkresový pohled.
Zobrazí se následující výzvy.
Určuje pohled, ze kterého chcete odvodit detail.
Určuje v nadřazeném pohledu středový bod pro hranici detailu.
Tento panel je viditelný pouze při vytvoření detailního pohledu vytvořeného z modelu aplikace Inventor. Při vytváření detailních pohledů můžete upravit pouze hodnoty pro pohled návrhu.
Určuje možnosti zobrazení pro detailní pohled.

Určuje měřítko detailního pohledu. Implicitně je měřítko detailu je dvojnásobné oproti nadřazenému pohledu nebo další větší hodnota v seznamu Měřítko na panelu Vzhled na pásu karet.
Určuje možnosti viditelnosti nastavitelné u detailního pohledu. Možnosti viditelnost objektu jsou specifické pro každý model a některé možnosti nemusí být u vybraného modelu a v pohledu vytvořeném z modelu dostupné.
Zapne nebo vypne viditelnost kolizních hran. Kolizní hrany se vyskytují tam, kde se objemová tělesa navzájem protínají. Pokud je viditelnost kolizních hran zapnuta, program v místě dotyku objemových těles nakreslí čáru.

Zapne nebo vypne viditelnost tečných hran. Tečné hrany představují přechod mezi plochým povrchem a zaoblenou hranou, nejčastěji se zobrazují jako zaoblené hrany.

Zapne nebo vypne viditelnost čar rozsahu ohybu plechu. Čáry rozsahu ohybu plechu označují umístění přechodu, kolem kterého se ohyb otáčí nebo ohýbá, v zobrazení rozvinutého plechu.
Tato možnost je dostupná pouze tehdy, má-li příslušný model definované zobrazení rozvinutého plechu.
Zapne nebo vypne viditelnost čar závitu na šroubech a dírách se závitem.
Zapne nebo vypne viditelnost prezentačních trajektorií. Prezentační trajektorie jsou čáry v rozloženém pohledu (v prezentačním souboru), které ukazují směr, jímž se komponenty pohybují do sestavené polohy.
Určuje typ hranice detailního pohledu.
Je-li možnost Odvození vazby zapnuta, střed kruhové hranice detailu je přiřazen k bodu v nadřazeném pohledu. Je-li možnost Odvození vazby vypnuta, střed kruhové hranice detailu není přiřazen k bodu v nadřazeném pohledu.
Je-li možnost Odvození vazby zapnuta, roh obdélníkové hranice detailu je přiřazen k bodu v nadřazeném pohledu. Je-li možnost Odvození vazby vypnuta, roh obdélníkové hranice detailu nebude přiřazen k bodu v nadřazeném pohledu.
Program vždy z výkresu určí další volný popisek detailu.
Určuje, zda se text popisku detailu zobrazí nebo ne.




Určuje popisek pro hranici detailu a výsledný detailní pohled.
Určuje, zda se zobrazí text popisku detailního pohledu.
Přesune detail, jakmile je umístěn v kreslící ploše, bez nutnosti ukončení příkazu.
V závislosti na tom, kde v příkazu se možnost objeví, přejde zpět k předchozí výzvě, nebo dokončí příkaz.